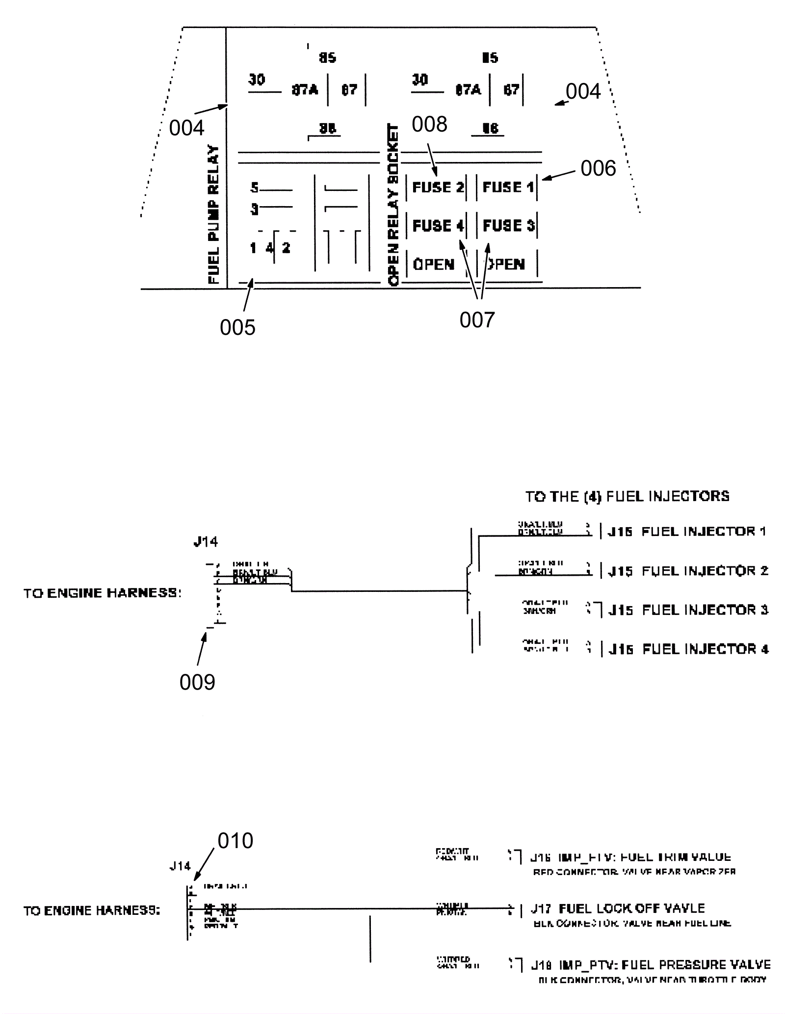
Wire Harness Assembly 9
Click to enlarge