| # | Part | Description | Price | Req | Notes | Availability |
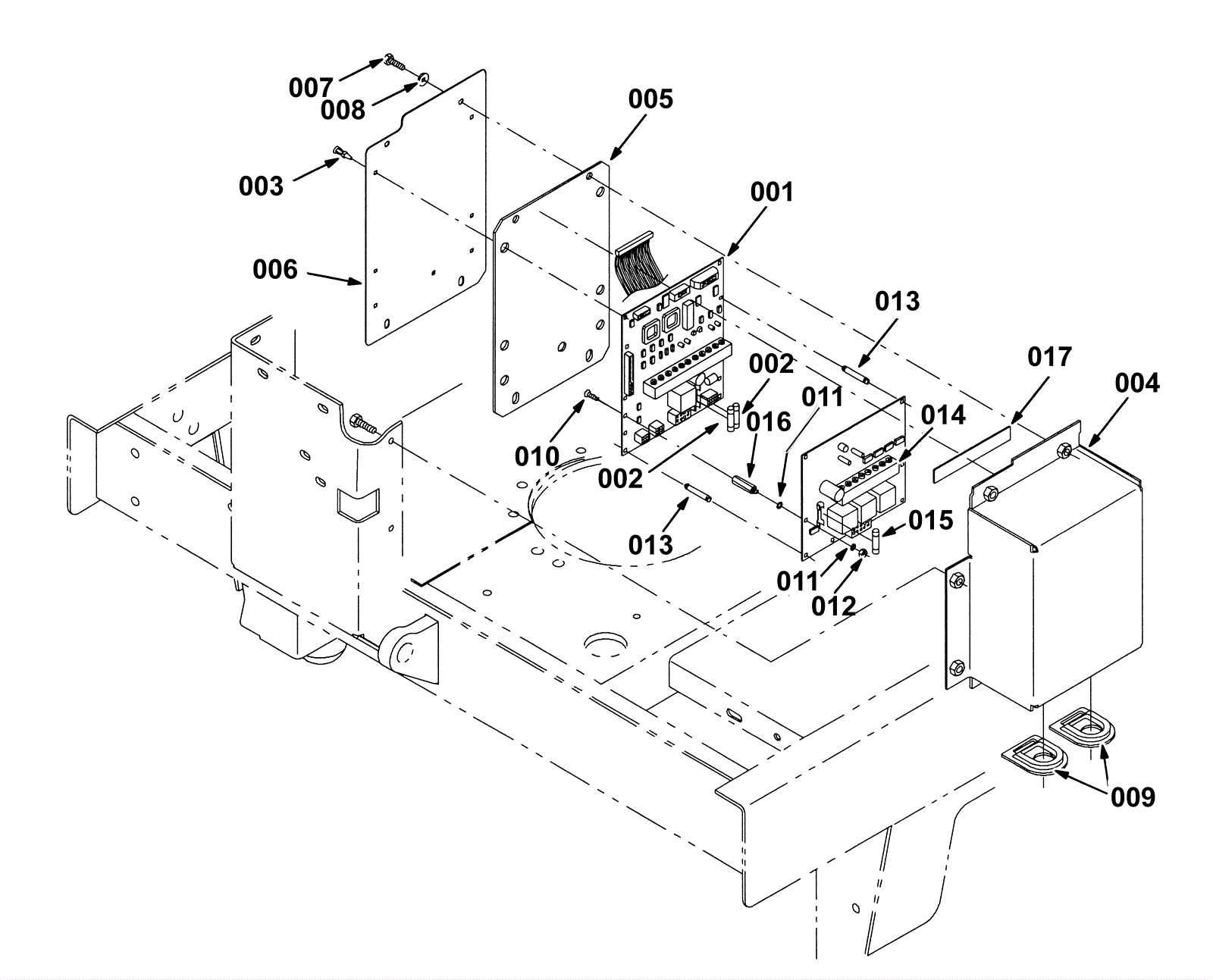
001a |
275-2464
|
Circuitboard assembly (Tennant Industrial) |
$2,852.24
|
1 |
(before SN 007094) |
usually ships 10-13 days |
001b |
275-2465
|
Circuitboard assembly (Tennant Industrial) |
$2,344.47
|
1 |
(after SN 007093) |
usually ships 1-5 days |
002 |
175-0872
|
Fuse .20A slo-blo |
$6.49
|
2 |
|
usually ships 1-5 days |
003 |
175-0873
|
PIN, PRONG, CIRCUITBOARD ASSY (Tennant Industrial) |
$5.67
|
7 |
|
usually ships 1-5 days |
004a |
175-0874
|
BOX, CIRCUITBOARD (Tennant Industrial) (OBSOLETE) |
$135.13
|
1 |
(before SN 007000) |
usually ships 1-5 days |
004b |
275-2466
|
Circuitboard box (iron gray) (Tennant Industrial) |
$272.05
|
1 |
(after SN 006999) |
usually ships 1-5 days |
005 |
175-0875
|
GASKET, NEO, .19, 07.60W 10.25L, ADH (Tennant Industrial) |
$15.84
|
1 |
|
usually ships 1-5 days |
006a |
175-0876
|
COVER (Tennant Industrial) |
$40.01
|
1 |
(before SN 007000) |
usually ships 1-5 days |
006b |
275-2467
|
Cover (iron gray) (Tennant Industrial) |
$24.38
|
1 |
(after SN 006999) |
usually ships 1-5 days |
007 |
999-0507
|
Bolt M6-1 x 16mm hex head full thread plain finish |
$0.99
|
6 |
|
ships same day |
008 |
999-0016
|
Washer 1/4 flat plain finish |
$0.99
|
4 |
|
ships same day |
009 |
175-0838
|
GROMMET, RBR, 1.00ID, F/ SL, .19 MATL (Tennant Industrial) |
$11.17
|
2 |
|
usually ships 1-5 days |
010 |
999-0759
|
Screw 6-32 x 3/8 flat head phillips zinc plated |
$0.99
|
2 |
|
ships same day |
011 |
275-2533
|
Washer #6 internal lock stainless steel (Tennant Industrial) |
$7.50
|
4 |
|
usually ships 1-5 days |
012 |
175-3224
|
Nut 6-32 hex lock |
$4.49
|
2 |
|
usually ships 10-13 days |
013 |
275-8548
|
STAND-OFF, 1.25, PLSTC (Tennant Industrial) |
$7.33
|
5 |
|
usually ships 10-13 days |
014 |
275-8546
|
CIRCUITBOARD, SWPR [8300] (Tennant Industrial) |
$1,884.88
|
1 |
(includes 15) |
usually ships 1-5 days |
015 |
275-8547
|
FUSE, 010A, GLASS TUBE, 32VDC, 0.25D (Tennant Industrial) |
$6.67
|
1 |
|
usually ships 1-5 days |
016 |
275-8549
|
STAND-OFF, 1.25, METAL (Tennant Industrial) |
$42.18
|
2 |
|
usually ships 10-13 days |
017 |
175-0877
|
TAPE, FOAM (Tennant Industrial) |
$49.18
|
1 |
|
usually ships 1-5 days |