| # | Part | Description | Price | Req | Notes | Availability |
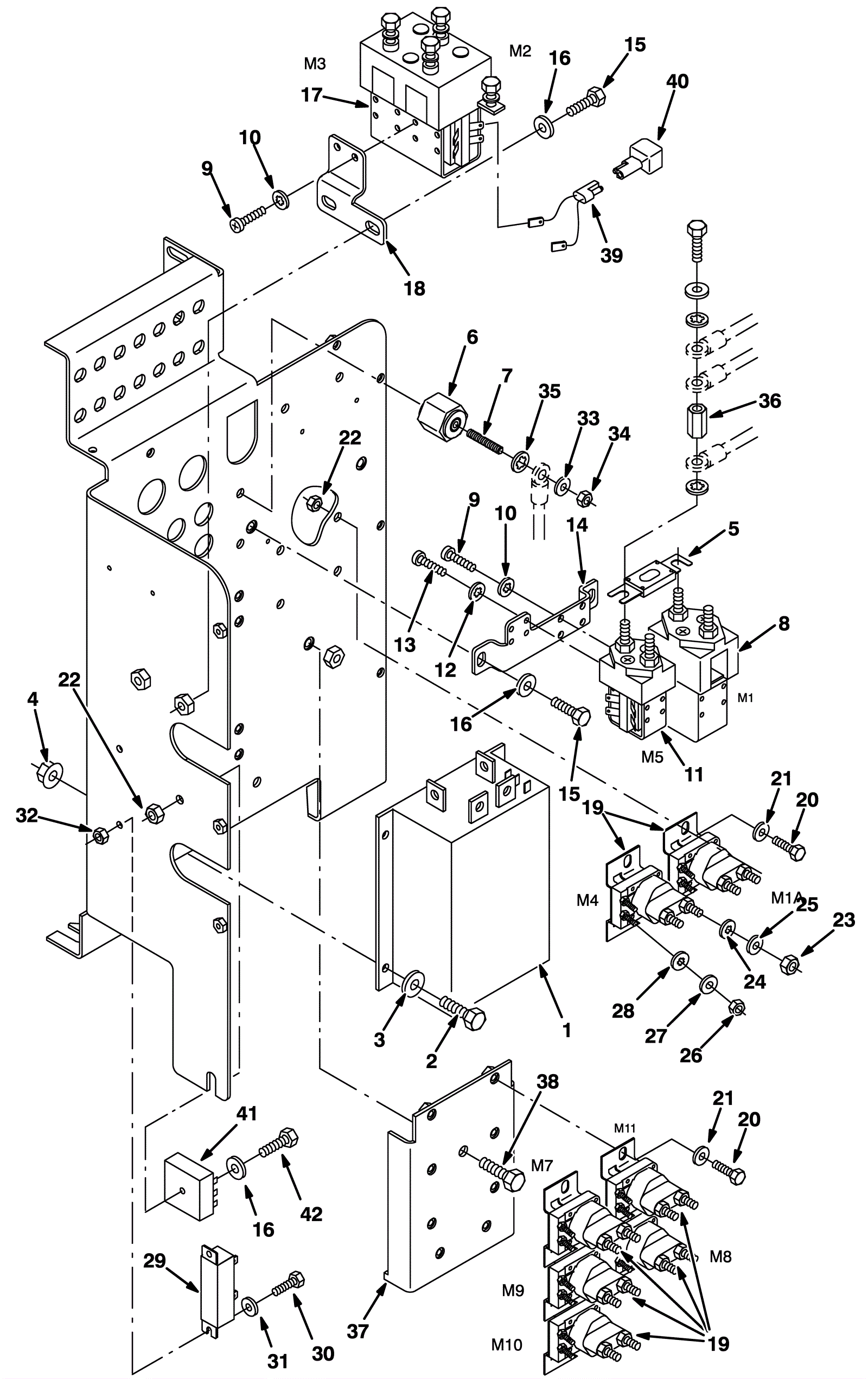
1 |
275-8536
|
CONTROLLER, MOTOR, 36VDC 400A [CURT1205] (Tennant Industria |
$3,196.47
|
1 |
|
usually ships 1-5 days |
2 |
999-0507
|
Bolt M6-1 x 16mm hex head full thread plain finish |
$0.99
|
4 |
|
ships same day |
3 |
999-0016
|
Washer 1/4 flat plain finish |
$0.99
|
4 |
|
ships same day |
4 |
999-6694
|
Nut M6-1 hex serrated flange stainless steel |
$0.99
|
4 |
|
ships same day |
5 |
275-8535
|
FUSE, 200A, 0.88 2.4L [SLO-BLO] (Tennant Industrial) |
$97.52
|
1 |
|
usually ships 1-5 days |
6 |
175-3226
|
Insulated stand off |
$10.34
|
1 |
|
ships same day |
7 |
175-3227
|
Threaded rod |
$8.14
|
1 |
|
usually ships 1-5 days |
8 |
275-8539
|
CONTACTOR, 36VDC, 200A, SPST (Tennant Industrial) |
$398.41
|
1 |
|
usually ships 10-13 days |
9 |
175-0598
|
Screw 5mm-.8 x 6 pan head |
$4.22
|
6 |
|
usually ships 1-5 days |
10 |
999-1026
|
Washer #10 internal lock stainless steel |
$0.99
|
6 |
|
ships same day |
11 |
275-8540
|
CONTACTOR, 36VDC, NO (Tennant Industrial) |
$259.22
|
1 |
|
usually ships 10-13 days |
12 |
999-1083
|
Washer #8 internal star lock stainless steel |
$0.99
|
4 |
|
ships same day |
13 |
999-1283
|
Screw M4-.7 x 6mm pan head phillips zinc |
$0.99
|
4 |
|
usually ships 1-5 days |
14a |
275-8542
|
BRACKET, MTG, CONTROLLER, SGL (Tennant Industrial) |
$97.19
|
1 |
(after SN 003445 but before SN 007000) |
usually ships 1-5 days |
14b |
275-2530
|
Controller mounting bracket (gray) (Tennant Industrial) |
$36.24
|
1 |
(after SN 006999) |
usually ships 1-5 days |
15 |
175-4963
|
Bolt M6-1 x 20mm hex head |
$5.50
|
4 |
|
usually ships 1-5 days |
16 |
999-0024
|
Washer 5/16 flat stainless steel |
$1.34
|
5 |
|
ships same day |
17 |
275-8543
|
CONTACTOR, 36VDC, 200A, DPDT (Tennant Industrial) |
$1,185.74
|
1 |
|
usually ships 1-5 days |
18a |
275-8544
|
BRACKET, MTG, RELAY (Tennant Industrial) |
$277.39
|
1 |
(after SN 003445 but before SN 007000) |
usually ships 1-5 days |
18b |
275-2531
|
Relay mounting bracket (gray) (Tennant Industrial) |
$17.67
|
1 |
(after SN 006999) |
usually ships 1-5 days |
19 |
175-2373
|
36V contactor |
$38.83
|
7 |
|
ships same day |
20 |
999-0507
|
Bolt M6-1 x 16mm hex head full thread plain finish |
$0.99
|
8 |
|
ships same day |
21 |
999-0016
|
Washer 1/4 flat plain finish |
$0.99
|
8 |
|
ships same day |
22 |
999-0469
|
Nut M6-1 nylon insert lock zinc plated |
$1.32
|
5 |
|
ships same day |
23 |
175-0849
|
Nut 5/16-24 hex |
$3.56
|
4 |
|
usually ships 1-5 days |
24 |
999-0406
|
Washer 5/16 internal star lock zinc plated |
$0.99
|
4 |
|
ships same day |
25 |
999-0549
|
Washer 5/16 x 3/4 SAE flat stainless steel |
$0.99
|
4 |
|
ships same day |
26 |
999-0460
|
Nut 10-32 hex |
$0.99
|
4 |
|
ships same day |
27 |
999-0006
|
Washer 3/16 flat zinc plated |
$0.99
|
4 |
|
ships same day |
28 |
999-0089
|
Washer #10 internal star lock zinc plated |
$0.99
|
4 |
|
ships same day |
29 |
175-0851
|
RESISTOR, 040.000HM, 0040WATT (Tennant Industrial) |
$56.51
|
1 |
|
usually ships 1-5 days |
30 |
175-0852
|
Bolt 5mm-.8 x 12 hex head |
$5.28
|
2 |
|
usually ships 10-13 days |
31 |
999-0998
|
Washer #10 flat stainless steel |
$0.99
|
2 |
|
ships same day |
32 |
175-2894
|
Nut M5-.8 hex nylon locking |
$3.30
|
2 |
|
usually ships 10-13 days |
33 |
999-0123
|
Washer 1/4 SAE flat zinc plated |
$0.99
|
1 |
|
ships same day |
34 |
999-0190
|
Nut 1/4-20 hex plain finish |
$0.99
|
1 |
|
ships same day |
35 |
999-0238
|
Washer 1/4 internal star lock zinc plated |
$0.99
|
1 |
|
ships same day |
36 |
275-6131
|
Nut M8 x 1.25 hex coupling (Tennant Industrial) |
$5.50
|
1 |
|
usually ships 1-5 days |
37a |
275-8538
|
PLATE, MTG, CONTACTOR (Tennant Industrial) |
$139.78
|
1 |
(after SN 003445 but before SN 007000) |
ships same day |
37b |
275-2532
|
Contactor mounting plate (gray) (Tennant Industrial) |
$40.25
|
1 |
(after SN 006999) |
usually ships 1-5 days |
38 |
175-3436
|
Bolt 8mm-1.25 x 40mm hex head |
$4.49
|
2 |
|
usually ships 1-5 days |
39 |
275-0284
|
HARNESS, SWITCH, KEY, DIODE [515] (Tennant Industrial) |
$24.84
|
2 |
|
usually ships 10-13 days |
40 |
175-2216
|
Diode plug |
$14.19
|
2 |
|
usually ships 10-13 days |
41 |
275-8537
|
Module |
$171.82
|
1 |
|
usually ships 10-13 days |
42 |
175-0574
|
Bolt 6mm-1 x 35 hex head |
$4.49
|
1 |
|
usually ships 10-13 days |