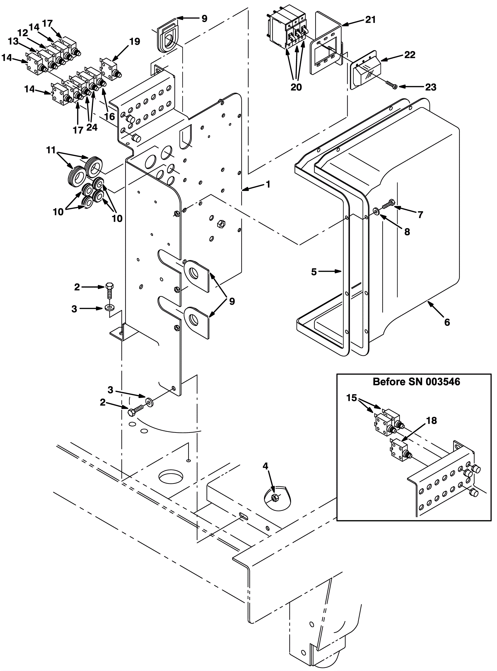
| # | Part | Description | Price | Req | Notes | Availability |
1a |
N/A
|
Not available |
Call for price
|
1 |
(control box plate before SN 007000) |
usually ships 3-26 days |
1b |
275-9357
|
Control box plate (iron gray) (Tennant Industrial) |
$183.70
|
1 |
(after SN 006999) |
usually ships 1-5 days |
2 |
999-1133
|
Bolt M8-1.25 x 20mm hex head full thread plain |
$0.99
|
3 |
|
ships same day |
3 |
999-0024
|
Washer 5/16 flat stainless steel |
$1.34
|
3 |
|
ships same day |
4 |
999-0471
|
Nut M8-1.25 nylon insert lock zinc plated |
$0.99
|
1 |
|
ships same day |
5 |
175-0835
|
GASKET, NEO, .12, 16.93W 20.00L, ADH (Tennant Industrial) |
$37.84
|
1 |
|
usually ships 1-5 days |
6 |
175-0836
|
COVER, CONTROLBOX (Tennant Industrial) |
$527.27
|
1 |
|
usually ships 1-5 days |
7 |
175-0837
|
Bolt M5-.8 x 16mm hex head |
$3.30
|
8 |
|
usually ships 1-5 days |
8 |
999-0998
|
Washer #10 flat stainless steel |
$0.99
|
8 |
|
ships same day |
9 |
175-0838
|
GROMMET, RBR, 1.00ID, F/ SL, .19 MATL (Tennant Industrial) |
$11.17
|
3 |
|
usually ships 1-5 days |
10 |
175-0839
|
Rubber grommet 1/2 ID |
$4.22
|
4 |
|
usually ships 1-5 days |
11 |
175-0840
|
Rubber grommet |
$5.50
|
2 |
|
usually ships 1-5 days |
12 |
175-2151
|
30amp circuit breaker |
$16.61
|
1 |
|
ships same day |
13 |
175-2337
|
20amp circuit breaker |
$16.61
|
1 |
|
usually ships 10-13 days |
14 |
175-0842
|
15amp circuit breaker |
$16.61
|
3 |
|
ships same day |
15 |
175-0844
|
CIRCUITBREAKER, 50.0A (Tennant Industrial) |
$61.35
|
2 |
(before SN 003546) |
usually ships 10-13 days |
16 |
991-1631
|
25amp circuit breaker |
$15.10
|
1 |
|
ships same day |
17 |
275-2529
|
2.5amp circuitbreaker |
$41.91
|
2 |
|
usually ships 1-5 days |
18 |
175-0844
|
CIRCUITBREAKER, 50.0A (Tennant Industrial) |
$61.35
|
1 |
(center brush option) (before SN 003546) |
usually ships 10-13 days |
19 |
175-0843
|
40amp circuitbreaker |
$34.54
|
1 |
(power steering option) |
ships same day |
20a |
275-8531
|
CIRCUITBREAKER, 40.0A (Tennant Industrial) |
$69.01
|
3 |
(Max Pro 1200 Disk) (after SN 003545) |
usually ships 1-5 days |
20b |
275-8531
|
CIRCUITBREAKER, 40.0A (Tennant Industrial) |
$69.01
|
2 |
(Max Pro 1000 Disk with Standard Motor) (after SN 003545) |
usually ships 1-5 days |
20c |
275-8532
|
CIRCUITBREAKER, 45.0A (Tennant Industrial) |
$69.01
|
2 |
(Max Pro 1000 Disk) (after SN 003545) |
usually ships 10-13 days |
20d |
275-8532
|
CIRCUITBREAKER, 45.0A (Tennant Industrial) |
$69.01
|
2 |
(Max Pro 1000 Cylindrical) (after SN 003545) |
usually ships 10-13 days |
20e |
275-8532
|
CIRCUITBREAKER, 45.0A (Tennant Industrial) |
$69.01
|
2 |
(Max Pro 1200 Cylindrical) (after SN 003545) |
usually ships 10-13 days |
21 |
275-8533
|
BRACKET, MTG, CIRCUITBREAKER [HI-MAG] (Tennant Industrial) |
$226.21
|
1 |
(after SN 003545) |
usually ships 1-5 days |
22 |
275-8534
|
BOOT, CIRCUITBREAKER (Tennant Industrial) |
$104.69
|
1 |
(after SN 003545) |
usually ships 1-5 days |
23 |
999-0463
|
Screw 6-32 x 3/8 pan head slotted zinc plated |
$0.99
|
6 |
(after SN 003545) |
ships same day |
24a |
175-2337
|
20amp circuit breaker |
$16.61
|
2 |
(before SN 003546) |
usually ships 10-13 days |
24b |
175-2151
|
30amp circuit breaker |
$16.61
|
2 |
(after SN 003545) |
ships same day |