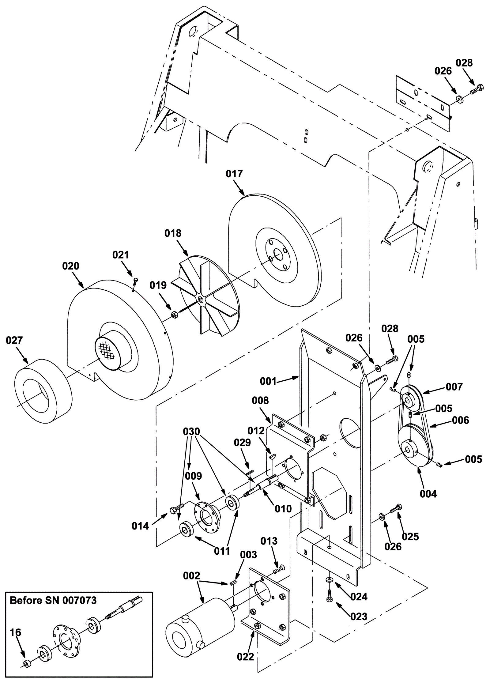
| # | Part | Description | Price | Req | Notes | Availability |
001a |
275-9072
|
Plate weldment (OBSOLETE) |
Call for price
|
1 |
(before SN 007000) |
usually ships 1-5 days |
001b |
275-2520
|
Iron plate weldment (gray) (Tennant Industrial) |
$304.56
|
1 |
(after SN 006999) |
usually ships 1-5 days |
002a |
275-5097
|
Electric motor assembly |
$925.21
|
1 |
(before SN 003582) |
usually ships 10-13 days |
002b |
275-5097
|
Electric motor assembly |
$925.21
|
1 |
(after SN 003581) |
usually ships 10-13 days |
003 |
175-3200
|
Square keyway |
$4.49
|
1 |
|
ships same day |
004 |
275-2521
|
Sheave (gray) (Tennant Industrial) |
$275.72
|
1 |
|
usually ships 1-5 days |
005 |
999-0104
|
Screw 5/16-18 x 1/2 socket head alloy plain finish |
$0.99
|
4 |
|
ships same day |
006 |
275-8278
|
BELT, V, 33.5L [3V] (Tennant Industrial) |
$30.51
|
1 |
|
usually ships 10-13 days |
007 |
275-8515
|
SHEAVE, 01GRV, 02.6PD 0.63B [3V] (Tennant Industrial) |
$118.19
|
1 |
|
usually ships 1-5 days |
008a |
275-9074
|
Bracket (OBSOLETE) |
Call for price
|
1 |
(before SN 007000) |
usually ships 1-5 days |
008b |
275-2522
|
Iron bracket (gray) (Tennant Industrial) |
$129.19
|
1 |
(after SN 006999) |
usually ships 1-5 days |
009 |
275-8511
|
Flange bearing housing |
$87.01
|
1 |
|
usually ships 1-5 days |
010 |
275-8512
|
SHAFT, IMPELLER |
$130.68
|
1 |
|
usually ships 1-5 days |
011 |
275-8518
|
Ball bearing |
$39.93
|
2 |
|
usually ships 10-13 days |
012 |
175-3198
|
Woodruff key |
$4.49
|
1 |
|
usually ships 1-5 days |
013 |
999-1648
|
Screw M8-1.25 x 20mm socket head stainless steel |
$2.07
|
4 |
|
usually ships 16-20 days |
014 |
999-0502
|
Bolt M6-1 x 20mm hex head full thread zinc |
$0.99
|
4 |
|
ships same day |
015 |
999-0469
|
Nut M6-1 nylon insert lock zinc plated |
$1.32
|
4 |
|
ships same day |
016 |
175-9155
|
Spacer |
$15.40
|
1 |
(before SN 007073) |
usually ships 1-5 days |
017a |
275-8519
|
HOUSING, VACFAN, REAR, 9.0D, IMPELLER (Tennant Industrial) |
$95.69
|
1 |
(before SN 007000) |
usually ships 1-5 days |
017b |
275-2523
|
Rear vacuum fan housing (Tennant Industrial) |
$83.18
|
1 |
(after SN 006999) |
usually ships 1-5 days |
018 |
275-8520
|
IMPELLER, 9.00D X 1.40W X 0.376B (Tennant Industrial) |
$212.88
|
1 |
|
usually ships 1-5 days |
019a |
175-9286
|
Nut 5/16 x 24 hex flex lock thin plated |
$5.28
|
1 |
(before SN 007073) |
usually ships 1-5 days |
019b |
275-9098
|
NUT, HEX, FLEXLOCK, .38-24 (Tennant Industrial) |
$13.17
|
1 |
(after SN 007072) |
usually ships 1-5 days |
020 |
275-8521
|
Fan cover with decal (Tennant Industrial) (OBSOLETE) |
$199.25
|
1 |
|
usually ships 1-5 days |
021 |
275-8522
|
SCREW, HEX, 06-20 X 0.50, FMG/AB, PL (Tennant Industrial) |
$4.17
|
9 |
|
usually ships 1-5 days |
022a |
275-9075
|
Angle (OBSOLETE) |
Call for price
|
1 |
(before SN 007000) |
usually ships 1-5 days |
022b |
275-2524
|
Iron angle (gray) (Tennant Industrial) |
$88.02
|
1 |
(after SN 006999) |
usually ships 1-5 days |
023 |
275-2056
|
SCREW, HEX, M8 X 1.25 X 50, FL, SS (Tennant Industrial) |
$6.67
|
1 |
|
usually ships 1-5 days |
024 |
999-0032
|
Washer 3/8 USS flat plain finish |
$2.42
|
1 |
|
ships same day |
025 |
999-0581
|
Bolt M8-1.25 x 25mm hex head full thread zinc |
$0.99
|
3 |
|
ships same day |
026 |
999-0024
|
Washer 5/16 flat stainless steel |
$1.34
|
11 |
|
ships same day |
027 |
275-8523
|
SEAL, RBR, CLSD, VACFAN, 6.5D 3.9ID 2.6L (Tennant Industria |
$53.84
|
2 |
|
usually ships 1-5 days |
028 |
999-1133
|
Bolt M8-1.25 x 20mm hex head full thread plain |
$0.99
|
8 |
|
ships same day |
029 |
175-4202
|
Square keyway |
$5.28
|
1 |
|
usually ships 10-13 days |
030 |
275-8517
|
SHAFT ASSY, BRG (Tennant Industrial) |
$404.08
|
1 |
(includes 009-011) |
usually ships 1-5 days |