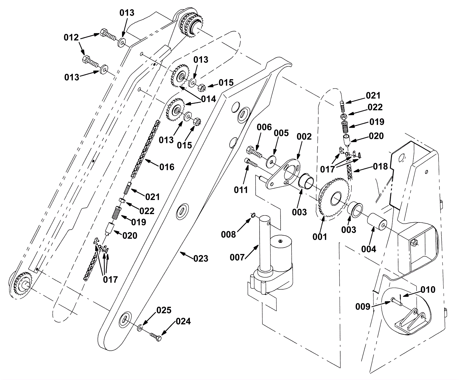
| # | Part | Description | Price | Req | Notes | Availability |
001 |
275-2509
|
Sprocket weldment (gray) (Tennant Industrial) |
$384.41
|
1 |
|
usually ships 1-5 days |
002 |
275-2510
|
Arm weldment (gray) (Tennant Industrial) |
$115.36
|
1 |
|
usually ships 1-5 days |
003 |
275-8483
|
BUSHING, FLNG, 1.50B 1.65D 1.00L (Tennant Industrial) |
$61.85
|
2 |
|
usually ships 1-5 days |
004 |
275-8484
|
SHAFT (Tennant Industrial) |
$110.86
|
1 |
|
usually ships 1-5 days |
005 |
175-2188
|
Washer |
$4.49
|
1 |
|
usually ships 10-13 days |
006 |
999-1280
|
Screw M12-1.75 x 80mm hex |
$5.28
|
1 |
|
usually ships 1-5 days |
007 |
275-8485
|
ACTUATOR, 36VDC, 06.0STRK, 700LB (Tennant Industrial) |
$1,381.94
|
1 |
|
usually ships 1-5 days |
008 |
275-2805
|
RING, RETAINING, EXT, 0.50D, HD (Tennant Industrial) |
$5.50
|
1 |
|
usually ships 1-5 days |
009 |
175-2592
|
Clevis Pin 0.37 D X 1.75 L |
$5.28
|
1 |
|
ships same day |
010 |
175-2588
|
Cotter pin |
$3.30
|
1 |
|
usually ships 10-13 days |
011 |
275-8486
|
Screw M10-1.5 x 25 socket |
$6.27
|
3 |
|
usually ships 1-5 days |
012 |
275-2834
|
SCREW, HEX, M12 X 1.75 X 50, 8.8 (Tennant Industrial) |
$6.67
|
2 |
|
usually ships 1-5 days |
013 |
999-0114
|
Washer 1/2 SAE flat |
$0.99
|
4 |
|
ships same day |
014 |
275-8487
|
SPROCKET, 40, 18TOOTH, 0.50B (Tennant Industrial) |
$62.85
|
2 |
|
usually ships 1-5 days |
015 |
999-0519
|
Nut M12-1.75 nylon insert lock stainless steel |
$3.85
|
2 |
|
ships same day |
016 |
275-8488
|
CHAIN, RLR, 40 X 179 PITCHES (Tennant Industrial) |
$50.01
|
1 |
|
usually ships 1-5 days |
017 |
175-0583
|
LINK, CHAIN, RLR, 40 (Tennant Industrial) |
$6.67
|
2 |
|
usually ships 10-13 days |
018 |
275-8489
|
CHAIN, RLR, 40 X 065 PITCHES (Tennant Industrial) |
$32.84
|
1 |
|
usually ships 1-5 days |
019 |
275-8490
|
HOUSING (Tennant Industrial) |
$86.85
|
2 |
|
usually ships 1-5 days |
020 |
275-8491
|
EAR (Tennant Industrial) |
$90.52
|
2 |
|
usually ships 1-5 days |
021 |
275-8492
|
PIVOT (Tennant Industrial) |
$52.68
|
2 |
|
usually ships 1-5 days |
022 |
999-1625
|
Nut M10-1.5 hex jam stainless steel |
$1.99
|
2 |
|
ships same day |
023a |
275-8493
|
COVER, CHAIN (Tennant Industrial) |
$262.05
|
1 |
(before SN 007000) |
usually ships 1-5 days |
023b |
275-2511
|
Chain cover (teal) (Tennant Industrial) |
$270.89
|
1 |
(after SN 006999) |
usually ships 1-5 days |
024 |
999-1133
|
Bolt M8-1.25 x 20mm hex head full thread plain |
$0.99
|
3 |
|
ships same day |
025 |
999-0024
|
Washer 5/16 flat stainless steel |
$1.34
|
3 |
|
ships same day |