| # | Part | Description | Price | Req | Notes | Availability |
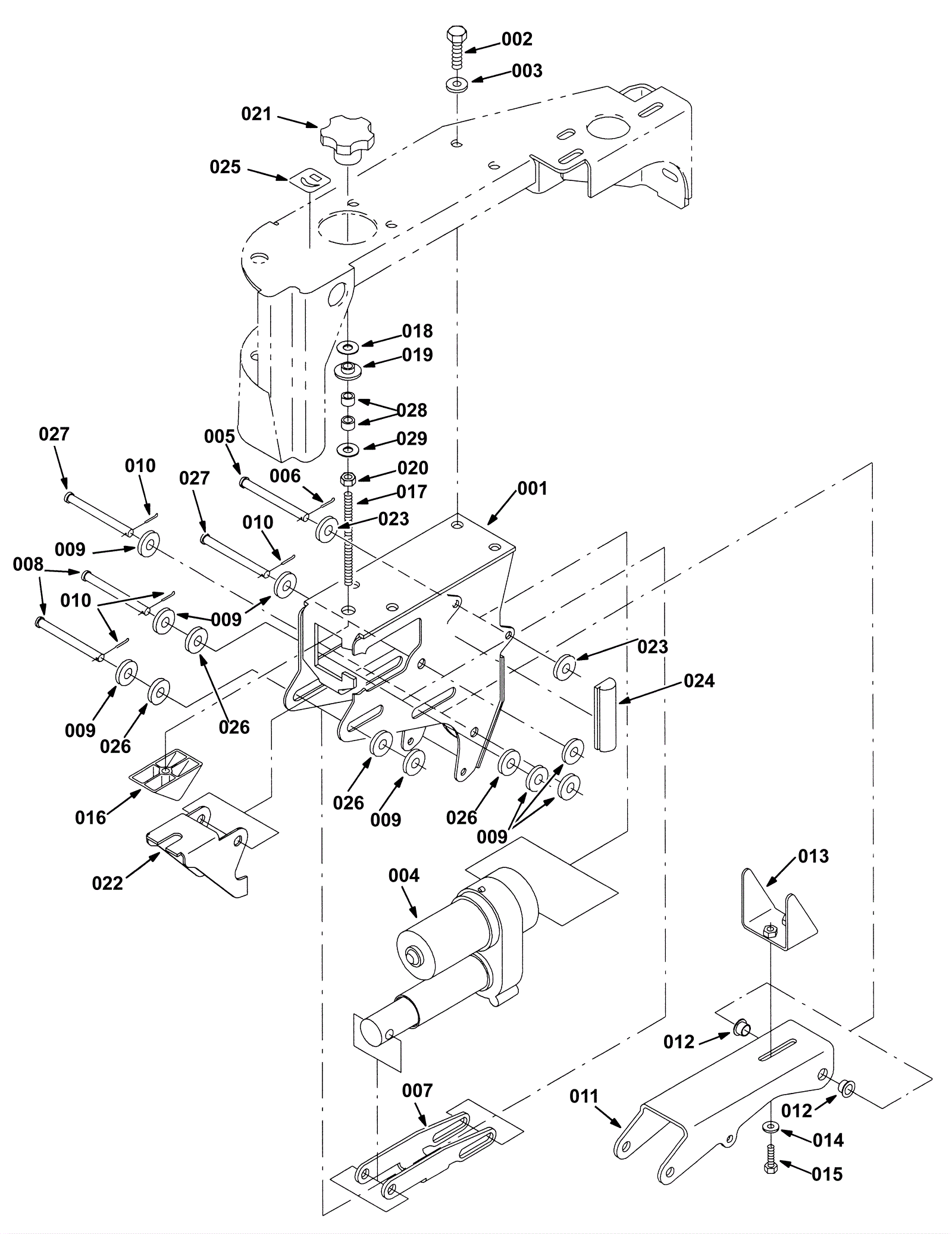
001 |
275-7985
|
Side brush housing weldment (gray) (Tennant Industrial) |
$376.74
|
1 |
|
usually ships 1-5 days |
002 |
999-1170
|
Bolt M10-1.5 x 20mm hex head stainless steel |
$3.06
|
4 |
|
ships same day |
003 |
999-0032
|
Washer 3/8 USS flat plain finish |
$2.42
|
4 |
|
ships same day |
004 |
175-2590
|
Stroke actuator |
$438.02
|
1 |
|
usually ships 10-13 days |
005 |
275-3031
|
PIN, CLEVIS, 0.37D X 4.00L (Tennant Industrial) |
$13.84
|
1 |
|
usually ships 10-13 days |
006 |
175-6176
|
Cotter pin |
$3.30
|
1 |
|
ships same day |
007 |
275-7986
|
Iron bracket (gray) (Tennant Industrial) |
$62.85
|
1 |
|
usually ships 1-5 days |
008 |
275-8369
|
PIN, CLEVIS, 0.50D X 4.00L (Tennant Industrial) |
$21.67
|
2 |
|
ships same day |
009 |
999-0114
|
Washer 1/2 SAE flat |
$0.99
|
8 |
|
ships same day |
010 |
175-3281
|
Cotter pin |
$3.30
|
4 |
|
usually ships 10-13 days |
011 |
275-7987
|
Iron channel (gray) (Tennant Industrial) |
$83.68
|
1 |
|
usually ships 1-5 days |
012 |
175-3335
|
Flanged bushing |
$16.94
|
2 |
|
usually ships 10-13 days |
013 |
275-7988
|
Iron bracket (gray) (Tennant Industrial) |
$54.34
|
1 |
|
usually ships 1-5 days |
014 |
999-0024
|
Washer 5/16 flat stainless steel |
$1.34
|
2 |
|
ships same day |
015 |
999-1133
|
Bolt M8-1.25 x 20mm hex head full thread plain |
$0.99
|
2 |
|
ships same day |
016 |
275-8372
|
BLOCK, ADJ (Tennant Industrial) |
$22.50
|
1 |
|
usually ships 1-5 days |
017 |
275-0142
|
SHAFT, THRD (Tennant Industrial) |
$73.51
|
1 |
|
usually ships 1-5 days |
018 |
275-8373
|
WASHER, FLAT, 0.81B 1.24D .03, STL, PL (Tennant Industrial) |
$8.34
|
1 |
|
usually ships 1-5 days |
019 |
175-3287
|
Flanged bushing |
$6.27
|
1 |
|
ships same day |
020 |
999-1281
|
Nut M10-1.25 hex fine thread |
$0.99
|
1 |
|
usually ships 1-5 days |
021 |
275-0141
|
KNOB, STAR, 2.50D 5EAR 1.5L .38-16,PLSTC (Tennant Industria |
$60.51
|
1 |
|
usually ships 1-5 days |
022 |
275-7989
|
Iron pivot bracket (gray) (Tennant Industrial) |
$38.01
|
1 |
|
usually ships 1-5 days |
023 |
999-0120
|
Washer 3/8 SAE flat |
$0.99
|
2 |
|
ships same day |
024 |
175-3261
|
PVC duct |
$25.96
|
1 |
|
usually ships 10-13 days |
025 |
275-8376
|
LABEL, INFO, BRUSH, SIDE, ADJ (Tennant Industrial) |
$56.34
|
1 |
|
usually ships 1-5 days |
026 |
175-0784
|
Thrust bearing |
$11.77
|
4 |
|
usually ships 10-13 days |
027 |
175-2116
|
Clevis pin |
$6.49
|
2 |
|
usually ships 10-13 days |
028 |
175-2814
|
Spacer |
$6.49
|
2 |
|
usually ships 10-13 days |
029 |
999-0032
|
Washer 3/8 USS flat plain finish |
$2.42
|
1 |
|
ships same day |