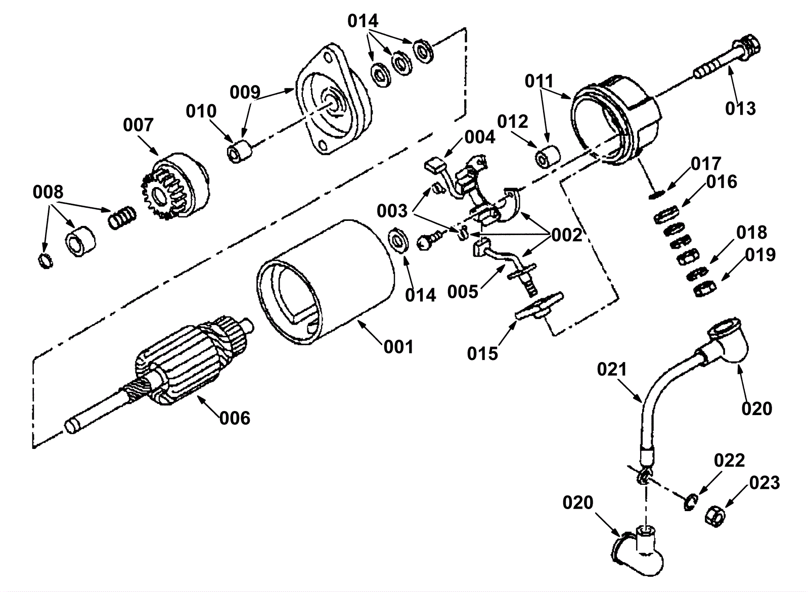
Starter Breakdown
Click to enlarge