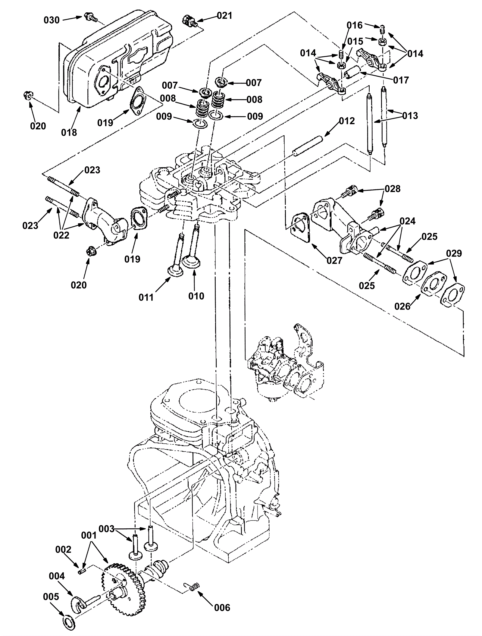
Intake and Exhaust Group
Click to enlarge