| # | Part | Description | Price | Req | Notes | Availability |
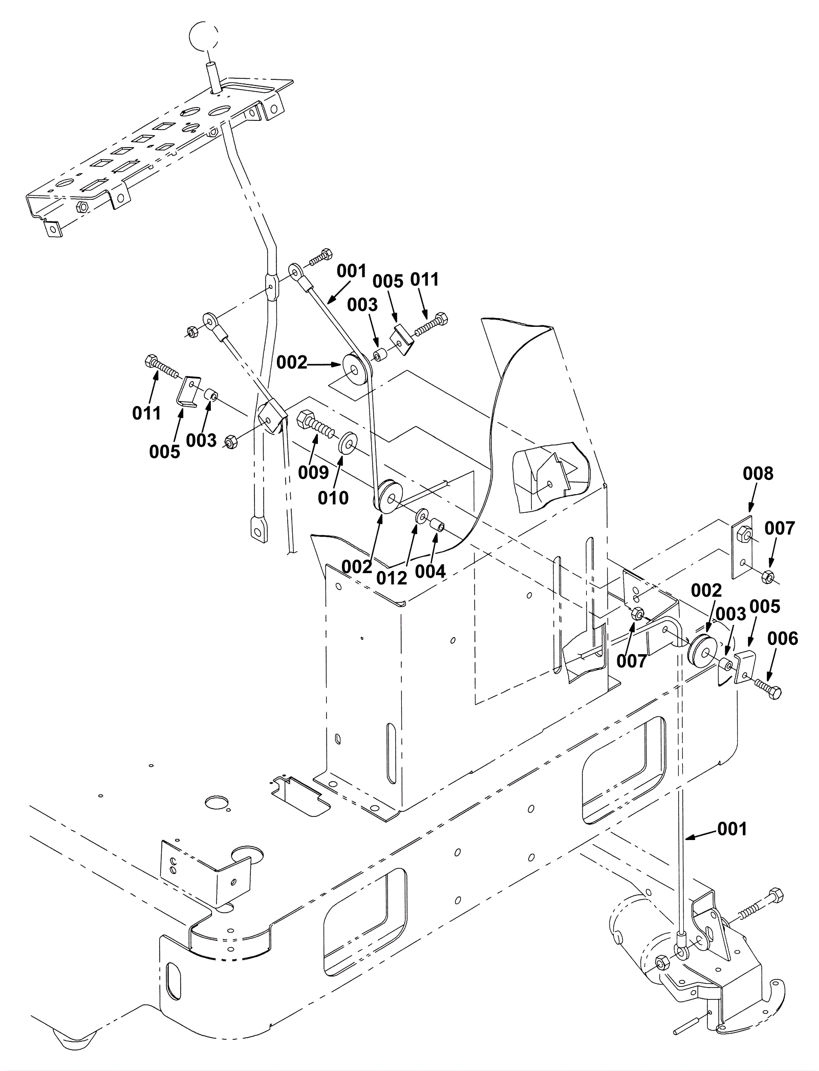
001 |
275-0581
|
Left hand lift sidebrush cable |
$29.92
|
1 |
|
usually ships 1-5 days |
002 |
275-0057
|
PULLEY, CABLE, 1.5D NYL (Tennant Industrial) |
$8.34
|
3 |
|
usually ships 10-13 days |
003 |
175-2249
|
Sleeve |
$4.22
|
3 |
|
ships same day |
004 |
175-9263
|
Sleeve |
$5.50
|
1 |
|
usually ships 10-13 days |
005 |
275-0058
|
Cable keeper angle bracket |
$8.14
|
3 |
|
usually ships 1-5 days |
006 |
999-0248
|
Bolt M8-1.25 x 30mm hex head full thread plain finish |
$0.99
|
1 |
|
ships same day |
007 |
999-0471
|
Nut M8-1.25 nylon insert lock zinc plated |
$0.99
|
2 |
|
ships same day |
008 |
275-0499
|
Side brush lift plate |
$12.87
|
1 |
|
ships same day |
009 |
275-0498
|
Screw M12-1.75 x 20mm hex head |
$6.27
|
1 |
|
usually ships 10-13 days |
010 |
999-0187
|
Washer 1/2 flat plain finish |
$0.99
|
1 |
|
ships same day |
011 |
999-0470
|
Bolt M8-1.25 x 45mm hex head part thread zinc |
$0.99
|
2 |
|
ships same day |
012 |
999-0024
|
Washer 5/16 flat stainless steel |
$1.34
|
1 |
|
ships same day |