| # | Part | Description | Price | Req | Notes | Availability |
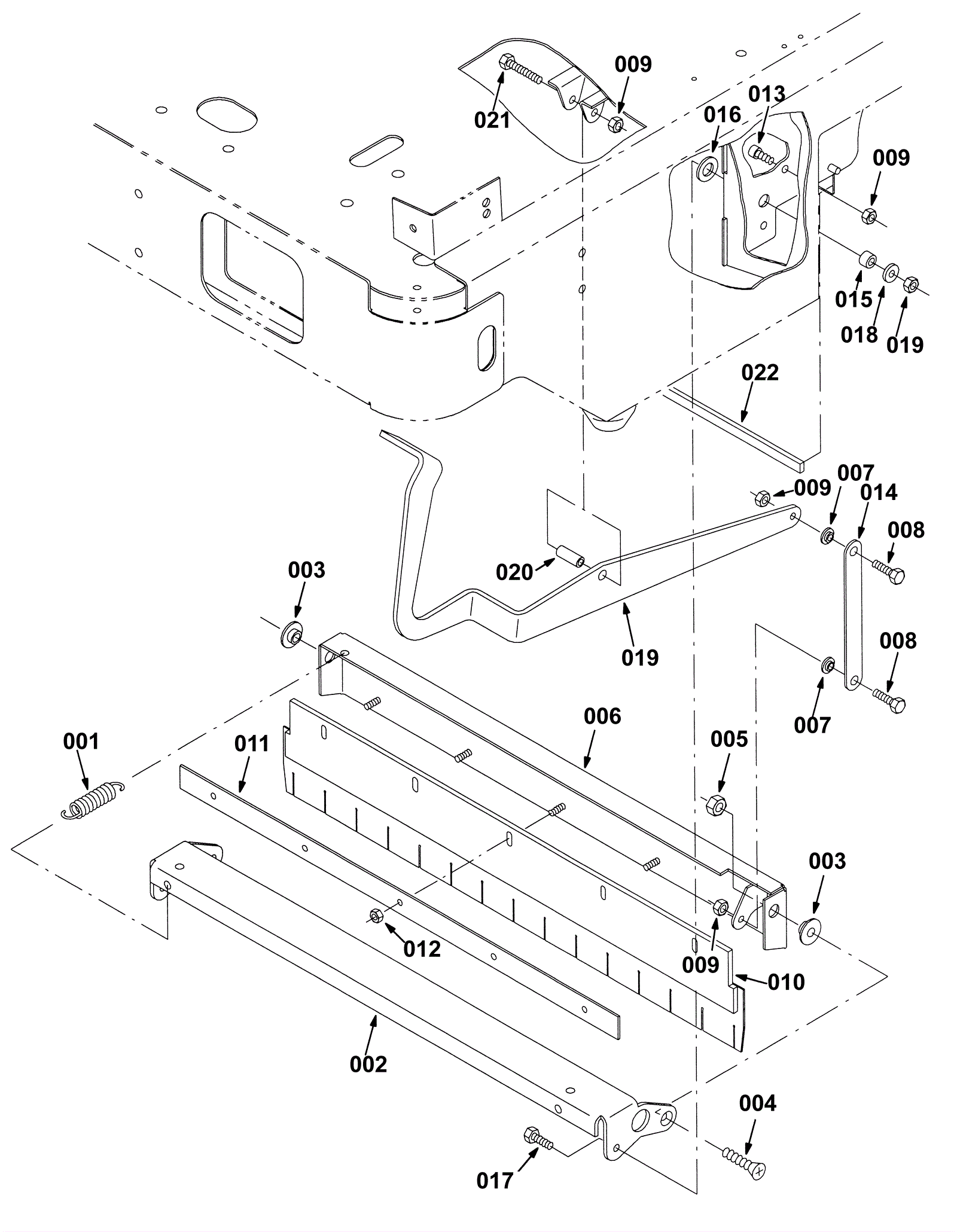
001 |
175-7129
|
Tension spring |
$8.25
|
1 |
|
ships same day |
002 |
275-0452
|
BRACKET, SKIRT, FRONT (Tennant Industrial) |
$100.85
|
1 |
|
usually ships 1-5 days |
003 |
175-3287
|
Flanged bushing |
$6.27
|
2 |
|
ships same day |
004 |
999-9142
|
Screw M10-1.5 x 35mm flat head |
$2.27
|
2 |
|
usually ships 16-20 days |
005 |
999-9133
|
Nut M10-1.5 nut hex head stainless steel |
$1.25
|
2 |
|
usually ships 1-5 days |
006 |
275-0454
|
BRACKET WLDT, FLAP, FRONT (Tennant Industrial) |
$153.70
|
1 |
|
usually ships 1-5 days |
007 |
175-9165
|
Bushing |
$10.78
|
2 |
|
usually ships 1-5 days |
008 |
999-1133
|
Bolt M8-1.25 x 20mm hex head full thread plain |
$0.99
|
2 |
|
ships same day |
009 |
999-0471
|
Nut M8-1.25 nylon insert lock zinc plated |
$0.99
|
6 |
|
ships same day |
010 |
275-0455
|
SKIRT, NEO, .06, 05.39W 28.87L, 05/ SL (Tennant Industrial) |
$189.87
|
1 |
|
usually ships 10-13 days |
011 |
275-0456
|
RETAINER (Tennant Industrial) |
$48.34
|
1 |
|
usually ships 10-13 days |
012 |
999-0497
|
Nut M6-1 nylon insert lock stainless steel |
$0.99
|
5 |
|
ships same day |
013 |
999-0802
|
Screw M8-1.25 x 16mm socket head |
$0.99
|
2 |
|
ships same day |
014 |
275-0457
|
Link plate |
$9.35
|
1 |
|
usually ships 1-5 days |
015 |
175-0755
|
Sleeve |
$6.05
|
2 |
|
usually ships 10-13 days |
016 |
275-0061
|
Washer .64b 1.19d .06 flat nylon |
$7.15
|
2 |
|
usually ships 1-5 days |
017 |
999-0581
|
Bolt M8-1.25 x 25mm hex head full thread zinc |
$0.99
|
2 |
|
ships same day |
018 |
999-0024
|
Washer 5/16 flat stainless steel |
$1.34
|
2 |
|
ships same day |
019 |
275-0458
|
PEDAL, FRONT, SKIRT (Tennant Industrial) |
$158.70
|
1 |
|
usually ships 1-5 days |
020 |
175-2207
|
Sleeve |
$5.94
|
1 |
|
usually ships 10-13 days |
021 |
999-0309
|
Bolt M8-1.25 x 50mm hex head part thread zinc |
$0.99
|
1 |
|
ships same day |
022 |
275-0459
|
Rubber seal (Tennant Industrial) (OBSOLETE) |
$9.47
|
1 |
|
usually ships 1-5 days |