| # | Part | Description | Price | Req | Notes | Availability |
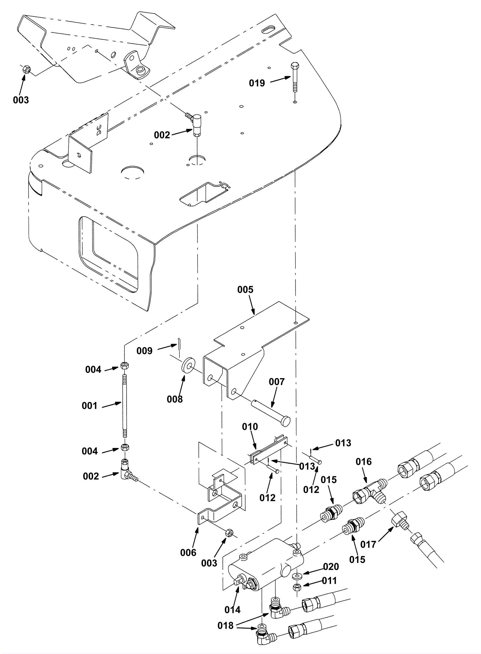
001 |
275-0410
|
ROD, THRD, 2 END, .25-28 06.0L (Tennant Industrial) |
$58.18
|
1 |
|
usually ships 1-5 days |
002 |
175-3302
|
Balljoint 1/4-28 |
$10.01
|
2 |
|
usually ships 10-13 days |
003 |
999-1201
|
Nut 1/4-28 nylon insert lock hex stainless steel |
$0.99
|
2 |
|
ships same day |
004 |
999-0651
|
Nut 1/4-28 hex stainless steel |
$0.99
|
2 |
|
ships same day |
005 |
275-0411
|
BRACKET, MTG, BELLCRANK (Tennant Industrial) |
$95.52
|
1 |
|
usually ships 1-5 days |
006 |
275-0412
|
BELLCRANK, PROPEL (Tennant Industrial) |
$85.18
|
1 |
|
usually ships 1-5 days |
007 |
175-2591
|
Clevis pin |
$5.50
|
1 |
|
usually ships 1-5 days |
008 |
999-0114
|
Washer 1/2 SAE flat |
$0.99
|
1 |
|
ships same day |
009 |
175-3281
|
Cotter pin |
$3.30
|
1 |
|
usually ships 10-13 days |
010 |
275-0413
|
LINK WLDT, VALVE, .13 0.8W 3.7L 2/.2H (Tennant Industrial) |
$49.27
|
1 |
|
usually ships 1-5 days |
011 |
999-0469
|
Nut M6-1 nylon insert lock zinc plated |
$1.32
|
2 |
|
ships same day |
012 |
175-9276
|
Clevis pin 3/16 x 3/4 |
$5.28
|
2 |
|
usually ships 1-5 days |
013 |
175-3272
|
Cotter pin |
$3.30
|
2 |
|
usually ships 10-13 days |
014 |
275-0414
|
VALVE, HYD, MNL, 1SPOOL 1000PSI 05GPM (Tennant Industrial) |
$540.77
|
1 |
|
usually ships 1-5 days |
015 |
275-0415
|
Straight hydraulic fitting |
$7.37
|
2 |
|
usually ships 1-5 days |
016 |
175-7161
|
Tee hydraulic fitting |
$49.50
|
1 |
|
usually ships 1-5 days |
017 |
275-0416
|
Straight hydraulic fitting |
$12.87
|
1 |
|
usually ships 1-5 days |
018 |
175-7214
|
Hydraulic fitting |
$14.63
|
2 |
|
usually ships 1-5 days |
019 |
275-0417
|
Screw M6-1 x 50 hex head |
$4.36
|
2 |
|
usually ships 1-5 days |
020 |
999-0123
|
Washer 1/4 SAE flat zinc plated |
$0.99
|
2 |
|
ships same day |