| # | Part | Description | Price | Req | Notes | Availability |
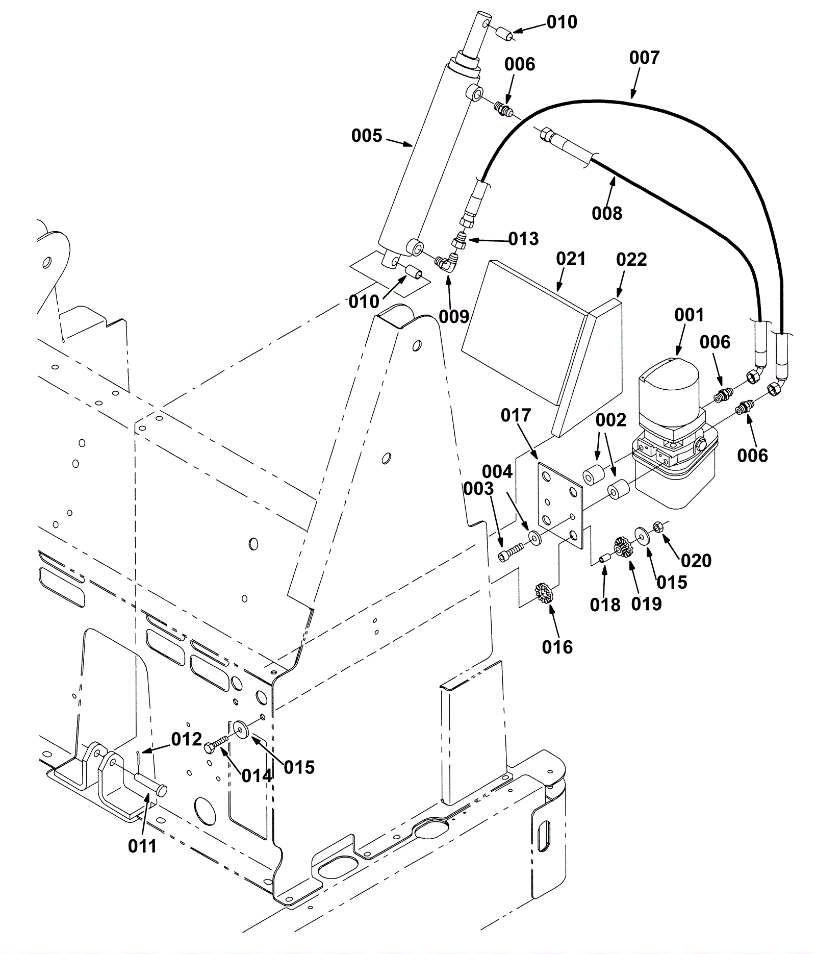
001 |
275-0370
|
PUMP ASSY, HYD, 12VDC 3000PSI [6200] (Tennant Industrial) |
$2,054.58
|
1 |
|
usually ships 1-5 days |
002 |
275-0371
|
SLEEVE, P/M, 0.44B 1.00D 1.0L, STL / OIL (Tennant Industria |
$6.33
|
2 |
|
usually ships 1-5 days |
003 |
175-2892
|
SCREW, SOC, M10 X 1.50 X 40, 12.9 (Tennant Industrial) |
$13.17
|
2 |
|
usually ships 1-5 days |
004 |
999-0032
|
Washer 3/8 USS flat plain finish |
$2.42
|
2 |
|
ships same day |
005a |
375-3886
|
Hydraulic cylinder (Tennant Industrial) |
$970.19
|
1 |
includes 005b |
usually ships 10-13 days |
005b |
375-3886
|
Hydraulic cylinder (Tennant Industrial) |
$970.19
|
1 |
|
usually ships 10-13 days |
006 |
175-8098
|
FITTING, HYD, STR, JM04/OM04 (Tennant Industrial) |
$9.84
|
3 |
|
usually ships 1-5 days |
007 |
275-0374
|
HOSE, HYD, MED04, JF04E90/JF04STR, 027.0 (Tennant Industria |
$61.01
|
1 |
|
usually ships 1-5 days |
008 |
275-0375
|
HOSE, HYD, MED04, JF04E90/JF04STR, 014.0 (Tennant Industria |
$58.51
|
1 |
|
usually ships 1-5 days |
009 |
175-6919
|
Elbow fitting |
$15.40
|
1 |
|
usually ships 10-13 days |
010 |
275-0376
|
BUSHING, SLEEVE, 0.50B 0.59D 0.95L, FGL (Tennant Industrial |
$12.00
|
2 |
|
usually ships 1-5 days |
011 |
275-0377
|
PIN, CLEVIS, 0.50D X 2.25L [1141 STL] (Tennant Industrial) |
$33.01
|
1 |
|
usually ships 1-5 days |
012 |
175-3281
|
Cotter pin |
$3.30
|
1 |
|
usually ships 10-13 days |
013 |
275-0378
|
FITTING, HYD, RST, JF04/JM04, .047 (Tennant Industrial) |
$54.34
|
1 |
|
usually ships 1-5 days |
014 |
175-0574
|
Bolt 6mm-1 x 35 hex head |
$4.49
|
4 |
serial number 002443 and on |
usually ships 10-13 days |
015 |
999-0549
|
Washer 5/16 x 3/4 SAE flat stainless steel |
$0.99
|
8 |
serial number 002443 and on |
ships same day |
016 |
275-0379
|
ISOLATOR, VIB, RING, 1.4D 0.3L 0.8B (Tennant Industrial) |
$10.17
|
4 |
serial number 002443 and on |
usually ships 10-13 days |
017 |
275-0380
|
PLATE, MTG, PUMP, HYD (Tennant Industrial) |
$25.17
|
1 |
serial number 002443 and on |
usually ships 1-5 days |
018 |
275-0381
|
TUBE, 0.26ID 0.38OD 00.6L, STL, PL (Tennant Industrial) |
$14.67
|
4 |
serial number 002443 and on |
usually ships 1-5 days |
019 |
275-0382
|
ISOLATOR, VIB, BSHG, 1.4D 0.3L .4B 0.65H (Tennant Industria |
$10.17
|
4 |
serial number 002443 and on |
usually ships 1-5 days |
020 |
999-0469
|
Nut M6-1 nylon insert lock zinc plated |
$1.32
|
4 |
serial number 002443 and on |
ships same day |
021 |
275-0383
|
INSULATION, ACSTC, 0.8, 08.9 X 06.5 (Tennant Industrial) |
$15.00
|
1 |
serial number 002443 and on |
usually ships 1-5 days |
022 |
275-0384
|
INSULATION, ACSTC, 0.8, 07.9 X 05.9 CHAM (Tennant Industria |
$13.34
|
1 |
serial number 002443 and on |
usually ships 1-5 days |