| # | Part | Description | Price | Req | Notes | Availability |
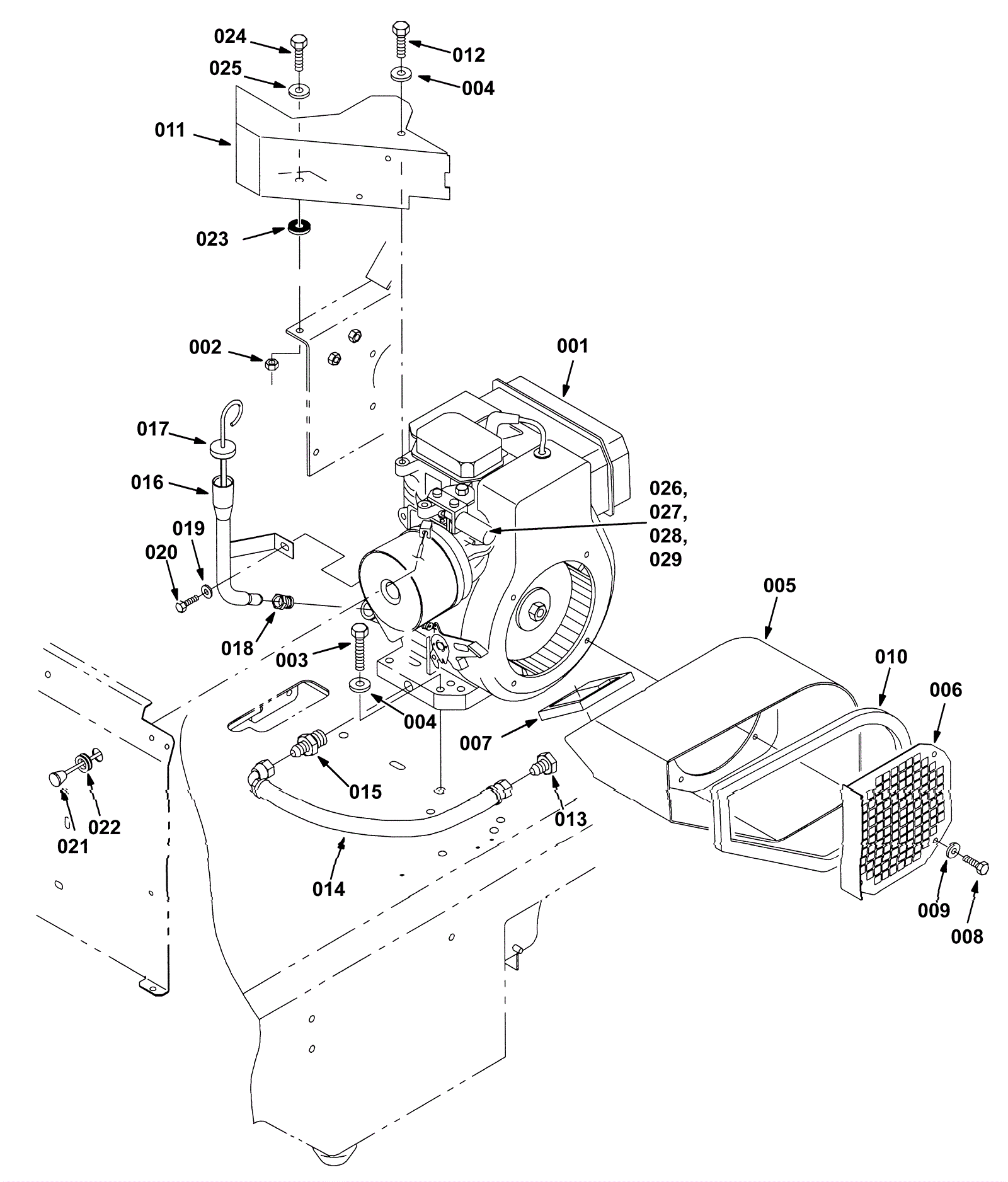
001 |
N/A
|
Not available |
Call for price
|
1 |
Robin engine assembly |
usually ships 3-26 days |
002 |
999-0665
|
Nut M8-1.25 flange lock |
$0.99
|
1 |
|
ships same day |
003 |
175-3266
|
Bolt 10mm-1 1/2 x 50 hex head |
$4.22
|
4 |
|
usually ships 1-5 days |
004 |
999-0032
|
Washer 3/8 USS flat plain finish |
$2.42
|
5 |
|
ships same day |
005 |
275-0291
|
PANEL, BAFFLE, AIR-INTK (Tennant Industrial) (OBSOLETE) |
$233.30
|
1 |
|
usually ships 1-5 days |
006 |
275-0292
|
SCREEN, INTAKE (Tennant Industrial) |
$84.52
|
1 |
|
usually ships 1-5 days |
007 |
275-0293
|
GASKET, AIR-INTK (Tennant Industrial) |
$5.67
|
1 |
|
usually ships 1-5 days |
008 |
999-9116
|
Screw M6-1 x 12mm hex head stainless steel |
$0.99
|
4 |
|
ships same day |
009 |
999-0335
|
Washer 1/4 x 5/8 SAE flat stainless steel |
$0.99
|
4 |
|
ships same day |
010 |
275-0294
|
SEAL, BULB, STR, 0.58D .06-.09GRIP 41.1L (Tennant Industria |
$84.35
|
1 |
|
usually ships 1-5 days |
011 |
275-0295
|
PANEL, DUCT, AIR, ENG (Tennant Industrial) |
$42.42
|
1 |
|
usually ships 1-5 days |
012 |
175-6815
|
Screw M10 x 1 1/4 x 20 hex |
$3.30
|
1 |
|
usually ships 1-5 days |
013 |
275-0296
|
Hydraulic plug fitting |
$8.14
|
1 |
|
usually ships 1-5 days |
014 |
275-0297
|
HOSE, HYD, LOW06, JF06E90/JF06STR, 015.0 (Tennant Industria |
$20.96
|
1 |
|
usually ships 1-5 days |
015 |
275-0298
|
Straight hydraulic fitting |
$38.17
|
1 |
|
usually ships 1-5 days |
016 |
275-0299
|
TUBE WLDT, FILL, OIL, ENG [ROBN] (Tennant Industrial) |
$139.86
|
1 |
|
usually ships 1-5 days |
017 |
275-0300
|
DIPSTICK, TUBE, FILL (Tennant Industrial) |
$199.37
|
1 |
|
usually ships 1-5 days |
018 |
275-0301
|
FITTING, HYD, STR, SPCL (Tennant Industrial) |
$23.88
|
1 |
|
usually ships 1-5 days |
019 |
999-0123
|
Washer 1/4 SAE flat zinc plated |
$0.99
|
1 |
|
ships same day |
020 |
275-0302
|
Screw M10-1.5 x 16 hex head |
$4.22
|
1 |
|
usually ships 1-5 days |
021 |
275-0303
|
CABLE, CNTRL, 34.0L, 10-32/ NONE (Tennant Industrial) |
$137.03
|
1 |
|
usually ships 1-5 days |
022 |
175-0839
|
Rubber grommet 1/2 ID |
$4.22
|
1 |
|
usually ships 1-5 days |
023 |
175-2309
|
Washer |
$5.28
|
1 |
|
ships same day |
024 |
999-0581
|
Bolt M8-1.25 x 25mm hex head full thread zinc |
$0.99
|
1 |
|
ships same day |
025 |
999-0024
|
Washer 5/16 flat stainless steel |
$1.34
|
1 |
|
ships same day |
026 |
275-0304
|
Engine solenoid 12VDC |
$465.19
|
1 |
|
usually ships 1-5 days |
027 |
275-0305
|
TERMINAL, BULLET, MAL, .156D 22-18GA (Tennant Industrial) |
$4.17
|
2 |
|
usually ships 1-5 days |
028 |
175-5113
|
Bolt M6 x 12mm hex head |
$3.30
|
2 |
|
usually ships 1-5 days |
029 |
999-0238
|
Washer 1/4 internal star lock zinc plated |
$0.99
|
2 |
|
ships same day |