| # | Part | Description | Price | Req | Notes | Availability |
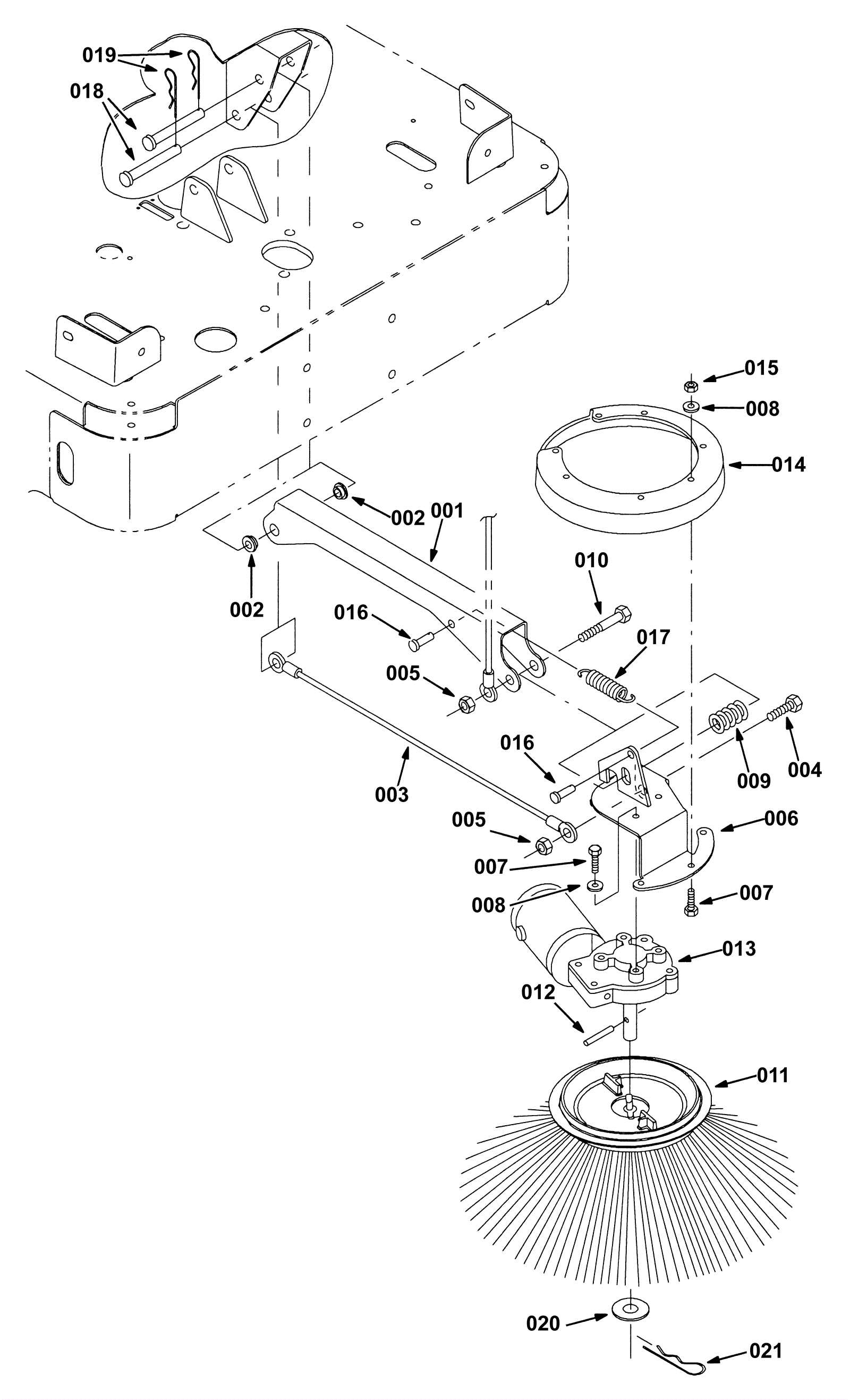
001 |
275-0913
|
Sidebrush channel bracket |
$109.67
|
1 |
|
usually ships 1-5 days |
002 |
175-3335
|
Flanged bushing |
$16.94
|
2 |
|
usually ships 10-13 days |
003 |
275-0850
|
Side brush cable |
$27.50
|
1 |
|
usually ships 10-13 days |
004 |
175-0615
|
Bolt M12-1.75 x 25mm hex head |
$5.28
|
1 |
|
usually ships 10-13 days |
005 |
999-0519
|
Nut M12-1.75 nylon insert lock stainless steel |
$3.85
|
2 |
|
ships same day |
006 |
275-0582
|
Lefthand side brush bracket weldment |
$176.88
|
1 |
|
usually ships 10-13 days |
007 |
999-0507
|
Bolt M6-1 x 16mm hex head full thread plain finish |
$0.99
|
9 |
|
ships same day |
008 |
999-0335
|
Washer 1/4 x 5/8 SAE flat stainless steel |
$0.99
|
9 |
|
ships same day |
009 |
275-0504
|
Spring |
$22.11
|
1 |
|
usually ships 1-5 days |
010 |
175-6824
|
Screw M12-1 3/4 x 60mm hex |
$5.28
|
1 |
|
usually ships 1-5 days |
011 |
175-9207
|
Polypropelene side brush |
$173.69
|
1 |
|
usually ships 10-13 days |
012 |
175-9273
|
Roll pin |
$4.49
|
1 |
|
usually ships 10-13 days |
013 |
175-9270
|
Brush cap |
$5.28
|
2 |
|
usually ships 10-13 days |
013 |
175-9271
|
Brush holder |
$23.98
|
2 |
|
usually ships 10-13 days |
013 |
175-9272
|
Clip |
$6.27
|
2 |
|
usually ships 10-13 days |
013 |
275-0109
|
Carbon brush assembly |
$27.50
|
1 |
|
usually ships 10-13 days |
013 |
275-9800
|
12V brush motor (OBSOLETE) |
$846.89
|
1 |
|
usually ships 10-13 days |
014 |
275-0851
|
Sidebrush guard |
$112.09
|
1 |
|
usually ships 1-5 days |
015 |
999-0497
|
Nut M6-1 nylon insert lock stainless steel |
$0.99
|
5 |
|
ships same day |
016 |
175-3344
|
Clevis pin |
$8.25
|
2 |
|
usually ships 10-13 days |
017 |
175-3345
|
Extension spring |
$10.01
|
1 |
|
ships same day |
018 |
175-0716
|
Clevis pin |
$5.28
|
2 |
|
usually ships 10-13 days |
019 |
175-2117
|
Cotter pin |
$5.28
|
2 |
|
usually ships 10-13 days |
020 |
175-2362
|
Washer 17 x 30 x 3 flat stainless steel |
$5.50
|
1 |
|
usually ships 10-13 days |
021 |
175-2106
|
Cotter hair pin |
$4.49
|
1 |
|
ships same day |