| # | Part | Description | Price | Req | Notes | Availability |
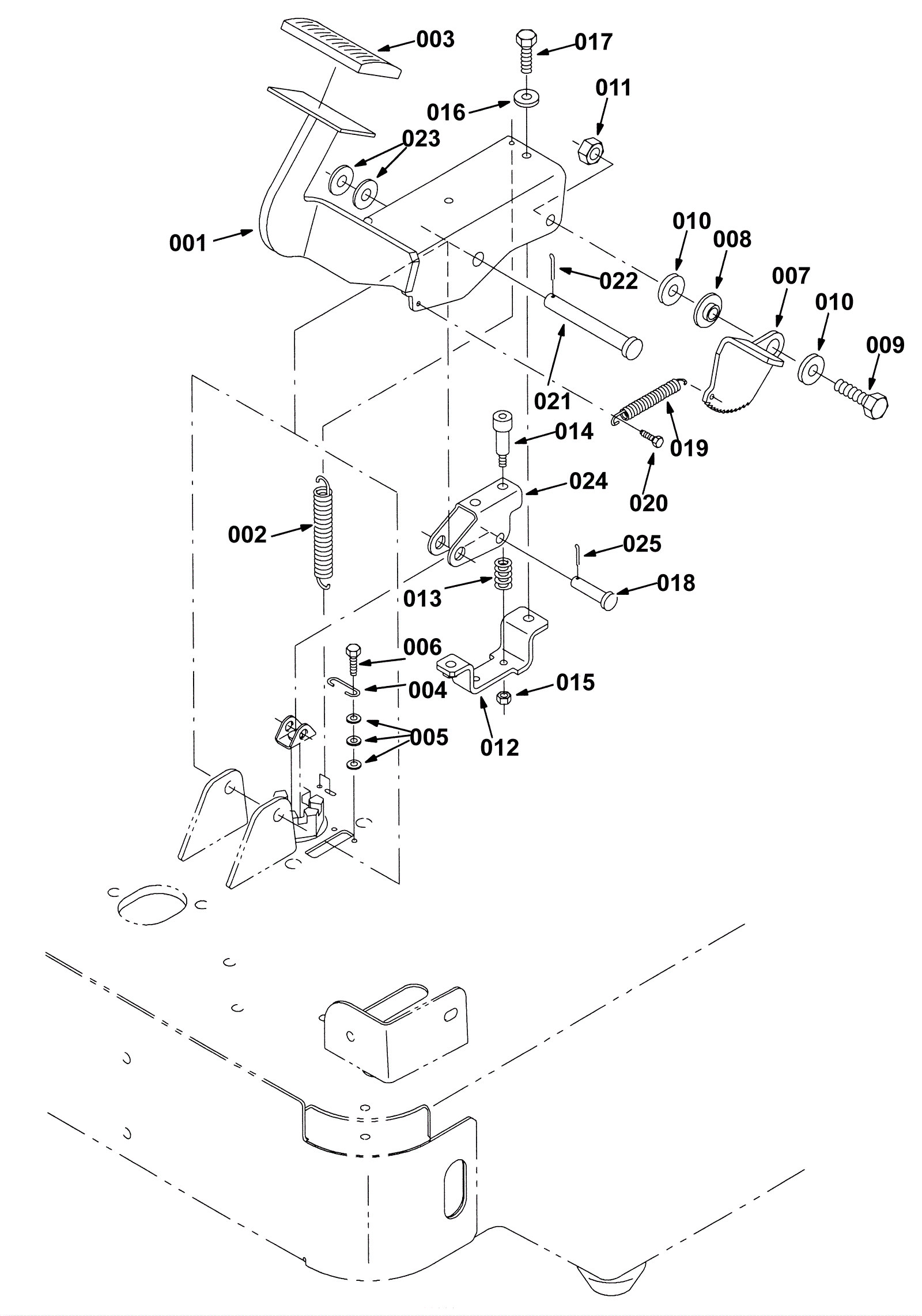
001 |
275-5336
|
Brake pedal weldment |
$122.87
|
1 |
|
usually ships 1-5 days |
002 |
175-2064
|
Extension spring |
$10.34
|
1 |
|
usually ships 10-13 days |
003 |
175-3279
|
Pedal pad |
$32.78
|
1 |
|
usually ships 10-13 days |
004 |
175-3290
|
Parking brake spring |
$6.49
|
1 |
|
usually ships 1-5 days |
005 |
999-0006
|
Washer 3/16 flat zinc plated |
$0.99
|
6 |
|
ships same day |
006 |
999-1228
|
Screw M5-.8 x 10mm hex head stainless steel |
$0.99
|
2 |
|
ships same day |
007 |
175-3286
|
Brake pedal lock |
$79.97
|
1 |
|
usually ships 1-5 days |
008 |
175-3287
|
Flanged bushing |
$6.27
|
1 |
|
ships same day |
009 |
275-0033
|
Screw M10-1.5 x 30mm hex head 8.8 |
$5.28
|
1 |
|
usually ships 1-5 days |
010 |
999-0032
|
Washer 3/8 USS flat plain finish |
$2.42
|
2 |
|
ships same day |
011 |
999-9133
|
Nut M10-1.5 nut hex head stainless steel |
$1.25
|
1 |
|
usually ships 1-5 days |
012 |
175-4961
|
Spring mounting channel weldment |
$32.89
|
1 |
|
usually ships 1-5 days |
013 |
175-3284
|
Compression spring |
$17.16
|
2 |
|
usually ships 1-5 days |
014 |
175-3285
|
Bolt 1/4-20 x 5/16-1 shoulder |
$7.37
|
2 |
|
usually ships 1-5 days |
015 |
999-0609
|
Nut 1/4-20 hex stainless steel |
$0.99
|
2 |
|
ships same day |
016 |
999-0016
|
Washer 1/4 flat plain finish |
$0.99
|
2 |
|
ships same day |
017 |
175-4963
|
Bolt M6-1 x 20mm hex head |
$5.50
|
2 |
|
usually ships 1-5 days |
018 |
175-2111
|
Clevis pin |
$5.15
|
1 |
|
usually ships 10-13 days |
019 |
175-2065
|
Extension spring |
$11.11
|
1 |
|
usually ships 10-13 days |
020 |
175-3289
|
Bolt M5-.8 x 16mm hex head |
$5.28
|
1 |
|
usually ships 10-13 days |
021 |
175-3280
|
Clevis pin |
$6.49
|
1 |
|
usually ships 10-13 days |
022 |
175-3281
|
Cotter pin |
$3.30
|
1 |
|
usually ships 10-13 days |
023 |
999-0114
|
Washer 1/2 SAE flat |
$0.99
|
2 |
|
ships same day |
024 |
175-3283
|
Mounting channel (OBSOLETE) |
$27.31
|
1 |
|
usually ships 1-5 days |
025 |
175-2006
|
Recovery tank (blue) (OBSOLETE) |
$478.17
|
1 |
|
usually ships 1-5 days |