| # | Part | Description | Price | Req | Notes | Availability |
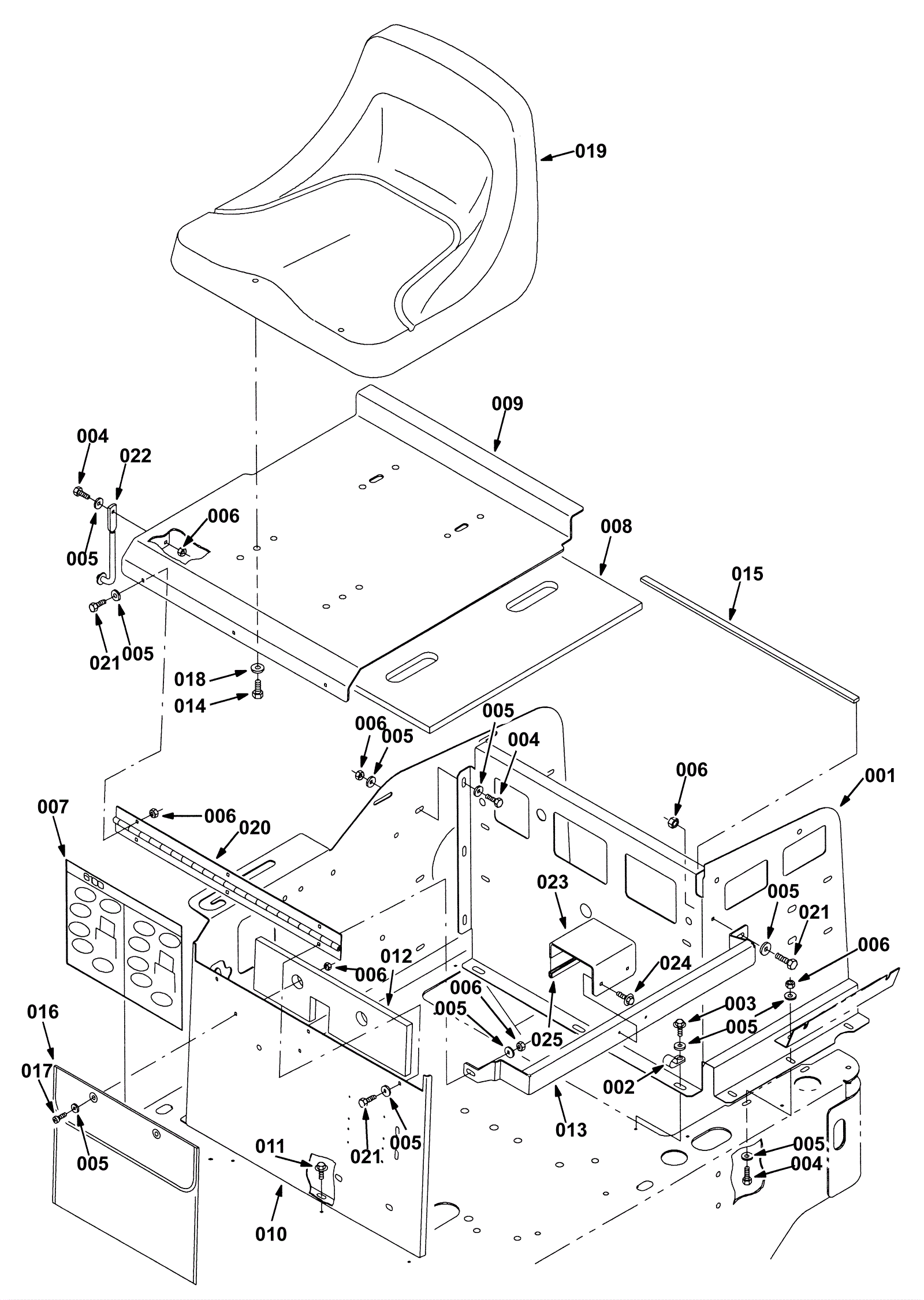
001 |
275-0658
|
LINTEL WLDT, REAR (Tennant Industrial) (OBSOLETE) |
$341.63
|
1 |
|
usually ships 1-5 days |
002 |
175-3179
|
P clamp |
$5.28
|
1 |
|
usually ships 10-13 days |
003 |
999-0778
|
Screw M6-1 x 10mm hex head |
$0.99
|
4 |
|
ships same day |
004 |
999-0502
|
Bolt M6-1 x 20mm hex head full thread zinc |
$0.99
|
6 |
|
ships same day |
005 |
999-0123
|
Washer 1/4 SAE flat zinc plated |
$0.99
|
27 |
|
ships same day |
006 |
999-0469
|
Nut M6-1 nylon insert lock zinc plated |
$1.32
|
15 |
|
ships same day |
007 |
275-0659
|
Use and care instrustion |
$48.29
|
1 |
|
usually ships 10-13 days |
008 |
275-0276
|
CHANNEL WLDT, STEERING (Tennant Industrial) |
$481.60
|
1 |
|
usually ships 1-5 days |
009 |
275-0660
|
PLATE WLDT, SEAT (Tennant Industrial) (OBSOLETE) |
$453.63
|
1 |
|
usually ships 1-5 days |
010 |
275-0661
|
PANEL ASSY, SEAT, W/ LABEL (Tennant Industrial) |
$1,268.09
|
1 |
|
usually ships 1-5 days |
011 |
999-1319
|
Screw M6-1 x 12mm hex head plain finish |
$0.99
|
8 |
|
ships same day |
012 |
275-0662
|
INSULATION, ACSTC, 0.5, 14.2 X 04.0 C-O (Tennant Industrial |
$10.00
|
1 |
|
usually ships 1-5 days |
013 |
275-0663
|
BRACE, SPPT, SEAT (Tennant Industrial) (OBSOLETE) |
$117.38
|
1 |
|
usually ships 1-5 days |
014 |
999-0132
|
Bolt 5/16-18 x 3/4 hex head grade 5 zinc plated |
$2.64
|
4 |
|
ships same day |
015 |
275-0668
|
Foam rubber seal |
$5.02
|
1 |
|
usually ships 1-5 days |
016 |
275-0664
|
Pouch |
$54.34
|
1 |
|
usually ships 10-13 days |
017 |
175-3229
|
Screw 6mm-1 x 16 pan head |
$4.49
|
2 |
|
usually ships 1-5 days |
018 |
999-0024
|
Washer 5/16 flat stainless steel |
$1.34
|
4 |
|
ships same day |
019 |
275-9328
|
Seat kit (includes screw and spacer) |
$268.18
|
1 |
|
ships same day |
020 |
275-0665
|
Seat support hinge |
$16.72
|
1 |
|
usually ships 1-5 days |
021 |
999-0507
|
Bolt M6-1 x 16mm hex head full thread plain finish |
$0.99
|
7 |
|
ships same day |
022 |
175-3181
|
Safety support arm |
$58.85
|
1 |
|
usually ships 10-13 days |
023 |
275-0666
|
BRACKET, MODULE, ENG (Tennant Industrial) |
$73.68
|
1 |
|
usually ships 1-5 days |
024 |
999-1383
|
Screw M6-1 x 16mm hex head stainless steel |
$3.96
|
2 |
|
ships same day |
025 |
275-0667
|
Molding trim |
$20.68
|
1 |
|
usually ships 1-5 days |