| # | Part | Description | Price | Req | Notes | Availability |
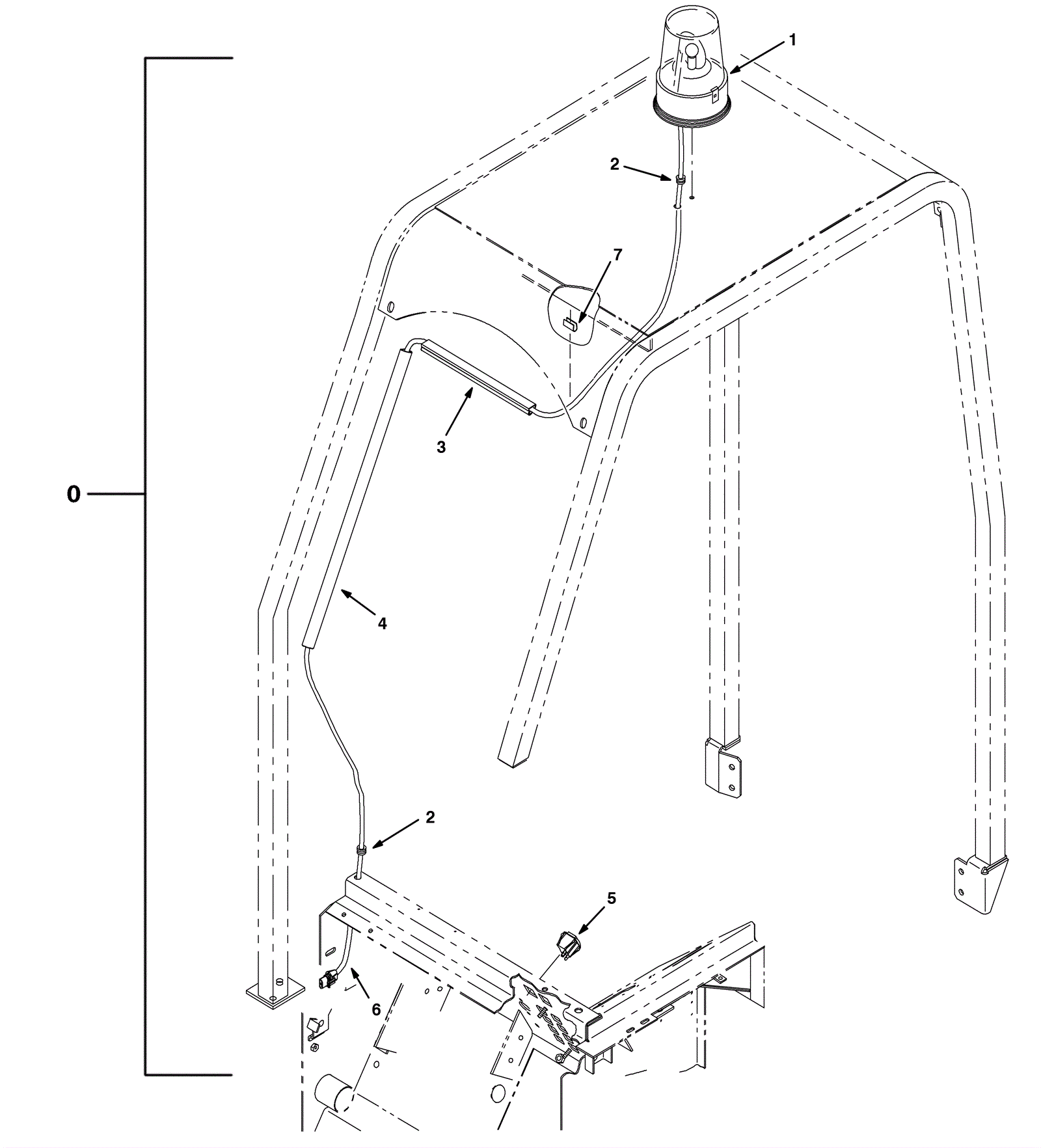
0 |
675-4211
|
LIGHT KIT, REVL, OHG, CI [8200/10] (Tennant Industrial) |
$469.44
|
1 |
(includes 1-7a) |
usually ships 10-13 days |
1a |
675-3447
|
LIGHT, REVL, 12VDC, AMB, RWK 82199 (Tennant Industrial) |
$496.32
|
1 |
(includes 1b-3) |
usually ships 10-13 days |
1b |
175-5418
|
Revolving light amber lens |
$47.63
|
1 |
|
usually ships 1-5 days |
1c |
275-0587
|
Lamp 12VDC 2.1A |
$19.69
|
1 |
|
usually ships 1-5 days |
2 |
175-4401
|
GROMMET, RBR, 0.38ID, F/0.5H, .12 MATL (Tennant Industrial) |
$5.50
|
2 |
|
usually ships 1-5 days |
3 |
175-3261
|
PVC duct |
$25.96
|
1 |
|
usually ships 10-13 days |
4 |
175-3261
|
PVC duct |
$25.96
|
1 |
|
usually ships 10-13 days |
5 |
175-0569
|
Rocker switch |
$54.12
|
1 |
|
usually ships 1-5 days |
6 |
675-1092
|
HARNESS, LIGHT, REVL [8200] (Tennant Industrial) |
$226.79
|
1 |
|
usually ships 10-13 days |
7a |
275-8203
|
Molding |
$48.40
|
1 |
|
usually ships 1-5 days |
7b |
175-5422
|
Revolving light red lens |
$62.59
|
1 |
|
usually ships 1-5 days |
7c |
175-5423
|
Revolving light blue lens |
$80.19
|
1 |
|
usually ships 1-5 days |