| # | Part | Description | Price | Req | Notes | Availability |
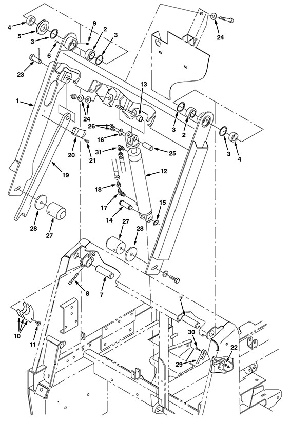
1a |
375-6072
|
Arm lift assembly (OBSOLETE) |
Call for price
|
1 |
(before SN 010000) |
usually ships 10-13 days |
1b |
375-6073
|
Lift arm (OBSOLETE) |
Call for price
|
1 |
(after SN 009999) |
usually ships 10-13 days |
2 |
275-2505
|
Self align bearing (Tennant Industrial) |
$85.35
|
2 |
|
usually ships 1-5 days |
3 |
275-8454
|
RING, RETAINING, INT, 2.00D (Tennant Industrial) |
$6.67
|
4 |
|
usually ships 1-5 days |
4 |
575-0775
|
SLEEVE, P/M, 1.25B 1.75D 0.7L [430SS] (Tennant Industrial) |
$14.67
|
2 |
|
usually ships 10-13 days |
5 |
575-6803
|
PULLEY, CABLE, 3.0D 1.76B, .25D CABLE (Tennant Industrial) |
$80.02
|
1 |
|
usually ships 10-13 days |
6 |
175-0768
|
PIN, ROLL, .250D X 0.75L, .250/.256 (Tennant Industrial) |
$5.50
|
1 |
|
ships same day |
7 |
575-6452
|
PIN, 1.25D 04.0L, 1/.34H, STL (Tennant Industrial) |
$74.35
|
2 |
|
usually ships 10-13 days |
8 |
175-0614
|
Screw M8-1.25 x 60mm socket head (Tennant Industrial) |
$9.50
|
2 |
|
usually ships 10-13 days |
9 |
175-3248
|
Grease fitting |
$4.49
|
2 |
|
usually ships 10-13 days |
10 |
275-8478
|
PLATE, SPACER, LIFT ARM (Tennant Industrial) |
$13.34
|
6 |
|
usually ships 1-5 days |
11 |
175-0536
|
Bolt M6-1 x 20mm hex head thread forming |
$4.49
|
2 |
|
ships same day |
12 |
275-8464
|
CYLINDER, HYD, 2.0B 21.3L 12.00STRK 2500 (Tennant Industria |
$1,030.21
|
1 |
|
usually ships 1-5 days |
13 |
275-8465
|
BUSHING, SLEEVE, 0.88B 1.00D 0.75L, BNZ (Tennant Industrial |
$19.17
|
1 |
|
usually ships 1-5 days |
14 |
275-8466
|
PIN, CLEVIS, GRVD, 0.88D X 2.25L (Tennant Industrial) |
$73.85
|
1 |
|
usually ships 1-5 days |
15 |
275-8467
|
RING, RETAINING, EXT, 0.88D (Tennant Industrial) |
$5.50
|
1 |
|
usually ships 1-5 days |
16 |
275-8468
|
PLATE, PIN, CLEVIS, UPPER (Tennant Industrial) |
$26.01
|
1 |
|
usually ships 1-5 days |
17 |
175-6919
|
Elbow fitting |
$15.40
|
1 |
|
usually ships 10-13 days |
18 |
575-0987
|
FITTING, HYD, RST, JF04/JM04, .036 (Tennant Industrial) |
$20.17
|
1 |
|
usually ships 10-13 days |
20 |
275-8477
|
CLIP, SPRING, PROP ARM (Tennant Industrial) |
$72.51
|
1 |
|
usually ships 1-5 days |
21 |
999-0807
|
Screw M6-1 x 10mm flat head phillips |
$2.49
|
2 |
|
ships same day |
22 |
999-0479
|
Washer #4 internal star lock zinc plated |
$0.99
|
2 |
|
ships same day |
23 |
275-0027
|
Clevis pin |
$10.78
|
1 |
|
usually ships 1-5 days |
24 |
275-0464
|
Washer 1/2 flat belleville |
$5.28
|
3 |
|
usually ships 10-13 days |
25 |
275-8471
|
PIN, 0.87D 02.0L, M06 X 1.0 (Tennant Industrial) |
$51.84
|
1 |
|
usually ships 1-5 days |
26 |
999-0507
|
Bolt M6-1 x 16mm hex head full thread plain finish |
$0.99
|
2 |
|
ships same day |
27 |
575-6693
|
PIN, HPPR, LIFT (Tennant Industrial) |
$90.52
|
2 |
|
usually ships 10-13 days |
28 |
475-9627
|
WASHER, FLAT, 0.56B 3.03D .25, STL, PL (Tennant Industrial) |
$10.02
|
2 |
|
usually ships 10-13 days |
29a |
175-0337
|
Snap switch |
$38.06
|
1 |
|
usually ships 10-13 days |
30 |
999-1221
|
Screw M3-.5 x 25mm pan head stainless steel |
$0.99
|
2 |
|
ships same day |
31 |
275-9450
|
FITTING, HYD, E90, JM06/OM04 (Tennant Industrial) |
$24.67
|
1 |
|
usually ships 10-13 days |