| # | Part | Description | Price | Req | Notes | Availability |
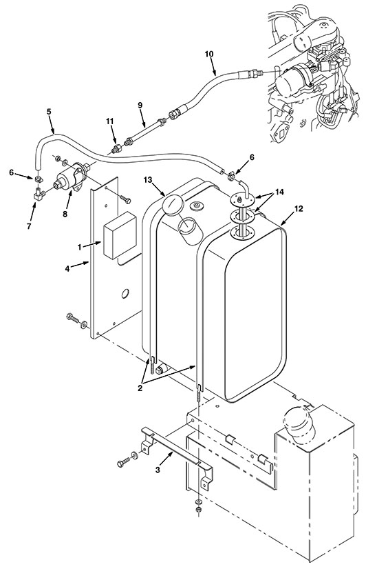
1 |
575-0297
|
INSULATION, ACSTC, 1.5, 04.0 X 04.0 (Tennant Industrial) |
$13.17
|
1 |
|
usually ships 10-13 days |
2 |
575-5050
|
STRAP WLDT, MTG, TANK, 0.36 1.00W 50.2L (Tennant Industrial) |
$91.52
|
2 |
|
usually ships 10-13 days |
3 |
575-4993
|
BRACKET, MTG, TANK, FUEL, FRONT (Tennant Industrial) |
$63.18
|
1 |
|
usually ships 10-13 days |
5 |
575-0010
|
HOSE, FUEL, 0.31ID, 17.0L (Tennant Industrial) |
$14.00
|
1 |
|
usually ships 10-13 days |
6 |
175-3594
|
Hose clamp |
$5.28
|
2 |
|
usually ships 10-13 days |
7 |
375-3545
|
Fitting (Tennant Industrial) |
$136.03
|
1 |
|
usually ships 10-13 days |
8 |
675-9930
|
PUMP, FUEL (Tennant Industrial) |
$275.55
|
1 |
|
usually ships 10-13 days |
9 |
575-7822
|
FUELLINE, .31D 05IF/05IF 05.4L, STL (Tennant Industrial) |
$116.57
|
1 |
|
usually ships 10-13 days |
10 |
175-6865
|
HOSE, 0050, 04, IF05STR / IM05STR, 10.0 (Tennant Industrial |
$87.02
|
1 |
|
usually ships 10-13 days |
11 |
275-2862
|
FITTING, BRS, STR, IF05/PM02 (Tennant Industrial) |
$6.67
|
1 |
|
usually ships 10-13 days |
12 |
675-4953
|
TANK, FUEL (Tennant Industrial) |
$439.21
|
1 |
(includes 13 and 14) |
usually ships 10-13 days |
13 |
175-6850
|
CAP, TANK, FUEL, 2.3NECK 2.6D (Tennant Industrial) |
$43.01
|
1 |
|
usually ships 10-13 days |
14 |
675-0434
|
VR, SEND-UNIT, FUEL (Tennant Industrial) |
$191.04
|
1 |
|
usually ships 10-13 days |