| # | Part | Description | Price | Req | Notes | Availability |
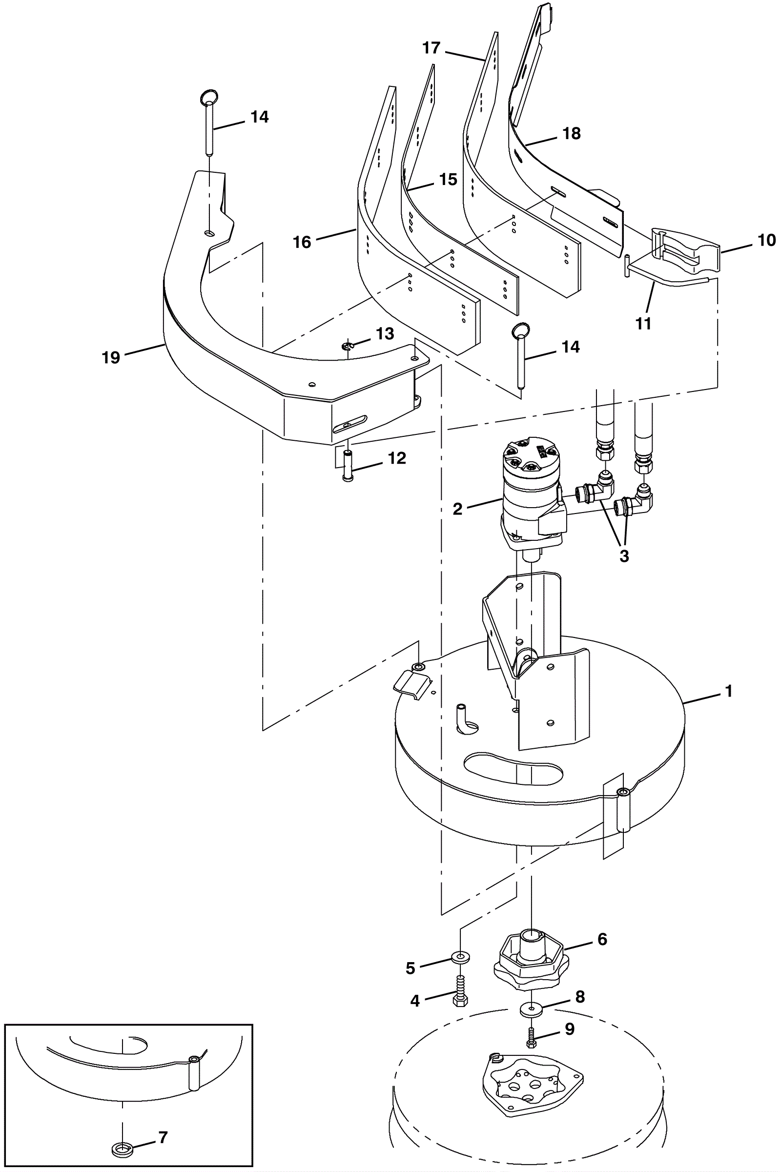
1 |
375-0947
|
Side brush bracket weldment (Tennant Industrial) |
$774.49
|
1 |
|
usually ships 1-5 days |
2a |
375-0938
|
Side brush motor kit (Tennant Industrial) |
$1,012.04
|
1 |
|
usually ships 1-5 days |
2b |
375-0948
|
Hydraulic gear motor (Tennant Industrial) |
$1,006.87
|
1 |
(includes 2c) |
usually ships 10-13 days |
2c |
375-0949
|
Motor seal kit (Tennant Industrial) |
$181.37
|
1 |
|
usually ships 10-13 days |
4 |
275-9428
|
SCREW, HEX, .38-16 X 0.75, NL (Tennant Industrial) |
$5.33
|
4 |
|
usually ships 1-5 days |
5 |
999-0032
|
Washer 3/8 USS flat plain finish |
$2.42
|
4 |
|
ships same day |
6 |
375-0939
|
Brush drive hub (Tennant Industrial) |
$193.37
|
1 |
|
usually ships 10-13 days |
7 |
375-0940
|
Keyed hub spacer (Tennant Industrial) |
$38.84
|
1 |
|
usually ships 10-13 days |
8 |
375-0941
|
Spacer (Tennant Industrial) |
$14.84
|
1 |
|
usually ships 10-13 days |
9 |
999-0830
|
Screw 1/4-20 x 1 hex head plain finish |
$0.99
|
11 |
|
ships same day |
10 |
375-4391
|
Front cam (yellow) (Tennant Industrial) |
$21.67
|
1 |
|
usually ships 10-13 days |
11 |
175-0815
|
PIN WLDT, FRONT (Tennant Industrial) |
$65.18
|
1 |
|
usually ships 10-13 days |
12 |
175-0813
|
PIN, GRVD, 0.43D 01.8L [303SS] (Tennant Industrial) |
$27.34
|
1 |
|
usually ships 10-13 days |
13 |
175-0814
|
Retaining ring (Tennant Industrial) |
$4.00
|
1 |
|
usually ships 10-13 days |
14 |
175-9789
|
PIN, HITCH, .375D X 3.12L, PL (Tennant Industrial) |
$12.34
|
2 |
|
ships same day |
15a |
375-0950
|
Rubber side brush squeegee spacer (Tennant Industrial) |
$33.01
|
1 |
|
usually ships 10-13 days |
15b |
375-0951
|
Rubber side brush squeegee spacer (Tennant Industrial) |
$21.17
|
1 |
|
usually ships 10-13 days |
16a |
275-6270
|
Side squeegee blade linatex (TENNANT INDUSTRIAL) |
$98.85
|
1 |
|
usually ships 10-13 days |
16b |
375-0952
|
linatex side brush squeegee blade (Tennant Industrial) |
$124.86
|
1 |
|
usually ships 10-13 days |
16c |
375-0953
|
Urethane outer side brush squeegee (Tennant Industrial) |
$151.20
|
1 |
|
usually ships 10-13 days |
16d |
375-0954
|
Urethane side brush squeegee blade (Tennant Industrial) |
$256.22
|
1 |
|
usually ships 1-5 days |
17a |
275-6269
|
Side squeegee blade linatex (TENNANT INDUSTRIAL) |
$52.01
|
1 |
|
usually ships 10-13 days |
17b |
375-0955
|
linatex side brush squeegee blade (Tennant Industrial) |
$161.53
|
1 |
|
usually ships 10-13 days |
17c |
375-0956
|
Urethane inner side brush squeegee (Tennant Industrial) |
$92.19
|
1 |
|
usually ships 10-13 days |
17d |
375-0957
|
Urethane side brush squeegee blade (Tennant Industrial) |
$170.37
|
1 |
|
usually ships 1-5 days |
18a |
375-0958
|
Squeegee retainer plate weldment (Tennant Industrial) |
$171.20
|
1 |
|
usually ships 1-5 days |
18b |
375-0959
|
Squeegee retainer plate weldment (Tennant Industrial) |
$135.36
|
1 |
|
usually ships 1-5 days |
19a |
375-0960
|
Side brush bumper weldment (Tennant Industrial) |
$248.38
|
1 |
|
usually ships 1-5 days |
19b |
375-0961
|
Side brush bumper weldment (Tennant Industrial) |
$268.05
|
1 |
|
usually ships 1-5 days |