| # | Part | Description | Price | Req | Notes | Availability |
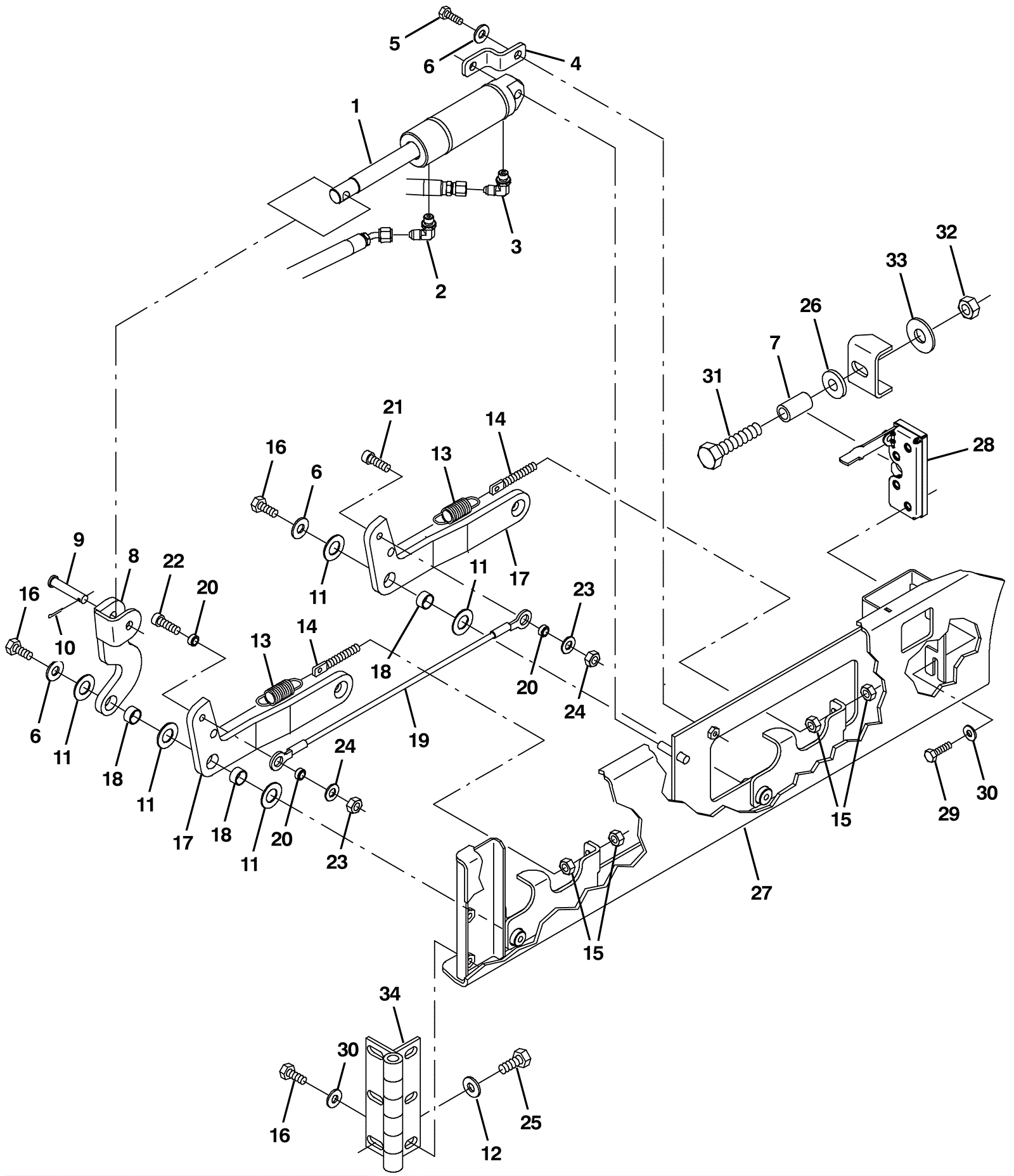
1 |
275-6034
|
Cylindrical head (Tennant Industrial) |
$635.13
|
1 |
|
usually ships 10-13 days |
2 |
175-6919
|
Elbow fitting |
$15.40
|
1 |
|
usually ships 10-13 days |
3 |
275-9514
|
FITTING, HYD, RST, SPCL (Tennant Industrial) |
$122.69
|
1 |
|
usually ships 1-5 days |
4 |
275-9515
|
BRACKET, MTG, CYL (Tennant Industrial) |
$38.51
|
1 |
|
usually ships 1-5 days |
5 |
999-1312
|
Screw M6-1 x 20mm hex head stainless steel |
$0.99
|
1 |
|
ships same day |
6 |
999-9097
|
Washer M8 flat stainless steel |
$0.99
|
3 |
|
ships same day |
7 |
275-9521
|
SLEEVE, 0.48B 0.68D 1.2L, CHAM [304SS] (Tennant Industrial) |
$18.67
|
1 |
|
usually ships 1-5 days |
8 |
275-9524
|
ARM WLDT, LIFT, SQGE, LH (Tennant Industrial) |
$112.86
|
1 |
|
usually ships 1-5 days |
9 |
175-2592
|
Clevis Pin 0.37 D X 1.75 L |
$5.28
|
1 |
|
ships same day |
10 |
175-3281
|
Cotter pin |
$3.30
|
1 |
|
usually ships 10-13 days |
11 |
175-3347
|
Washer .61 thrust |
$5.50
|
5 |
|
usually ships 10-13 days |
12 |
175-2305
|
Washer |
$5.28
|
3 |
|
ships same day |
13 |
175-0770
|
Extension spring |
$5.50
|
2 |
|
usually ships 10-13 days |
14 |
175-0772
|
BOLT, EYE, M8 X 1.25 X 070MM, 05.50 EYE (Tennant Industrial |
$40.01
|
2 |
|
usually ships 1-5 days |
15 |
999-1424
|
Nut M8-1.25 hex stainless steel |
$1.65
|
4 |
|
ships same day |
16 |
999-0499
|
Bolt M8-1.25 x 20mm hex head full thread stainless steel |
$1.85
|
5 |
|
ships same day |
17 |
275-9525
|
ARM, SQGE, SIDE, LH (Tennant Industrial) |
$103.52
|
2 |
|
usually ships 10-13 days |
18 |
175-3349
|
Sleeved bushing |
$13.64
|
3 |
|
usually ships 10-13 days |
19 |
275-0850
|
Side brush cable |
$27.50
|
1 |
|
usually ships 10-13 days |
20 |
175-0550
|
Sleeve |
$5.02
|
3 |
|
ships same day |
21 |
175-0602
|
Screw M8-1.25 x 25mm socket |
$4.49
|
1 |
|
usually ships 10-13 days |
22 |
175-6821
|
SCREW, SOC, M8 X 1.25 X 35, 12.9 (Tennant Industrial) |
$5.64
|
1 |
|
ships same day |
23 |
999-0549
|
Washer 5/16 x 3/4 SAE flat stainless steel |
$0.99
|
2 |
|
ships same day |
24 |
999-0471
|
Nut M8-1.25 nylon insert lock zinc plated |
$0.99
|
2 |
|
ships same day |
25 |
999-1372
|
Bolt M10-1.5 x 25mm hex head stainless steel |
$3.56
|
3 |
|
ships same day |
26 |
275-0464
|
Washer 1/2 flat belleville |
$5.28
|
1 |
|
usually ships 10-13 days |
27 |
275-9526
|
DOOR WLDT, BRUSH, LH (Tennant Industrial) |
$576.62
|
1 |
|
usually ships 1-5 days |
28 |
275-9527
|
LATCH, HOOK (Tennant Industrial) |
$131.19
|
1 |
|
usually ships 10-13 days |
29 |
999-1087
|
Bolt M6-1 x 25mm hex head stainless steel |
$0.99
|
2 |
|
ships same day |
30 |
275-0092
|
Washer 1/4 flat belleville |
$4.36
|
5 |
|
usually ships 10-13 days |
31 |
275-9519
|
SCREW, HEX, M12 X 1.75 X 55, SS (Tennant Industrial) |
$12.50
|
1 |
|
usually ships 1-5 days |
32 |
999-0503
|
Nut M12-1.75 hex stainless steel |
$1.91
|
1 |
|
ships same day |
33 |
999-0114
|
Washer 1/2 SAE flat |
$0.99
|
1 |
|
ships same day |
34 |
275-9520
|
HINGE, .50PIN .19 4.0W 06.0L, 3/0.44SL (Tennant Industrial) |
$126.19
|
1 |
|
usually ships 10-13 days |