| # | Part | Description | Price | Req | Notes | Availability |
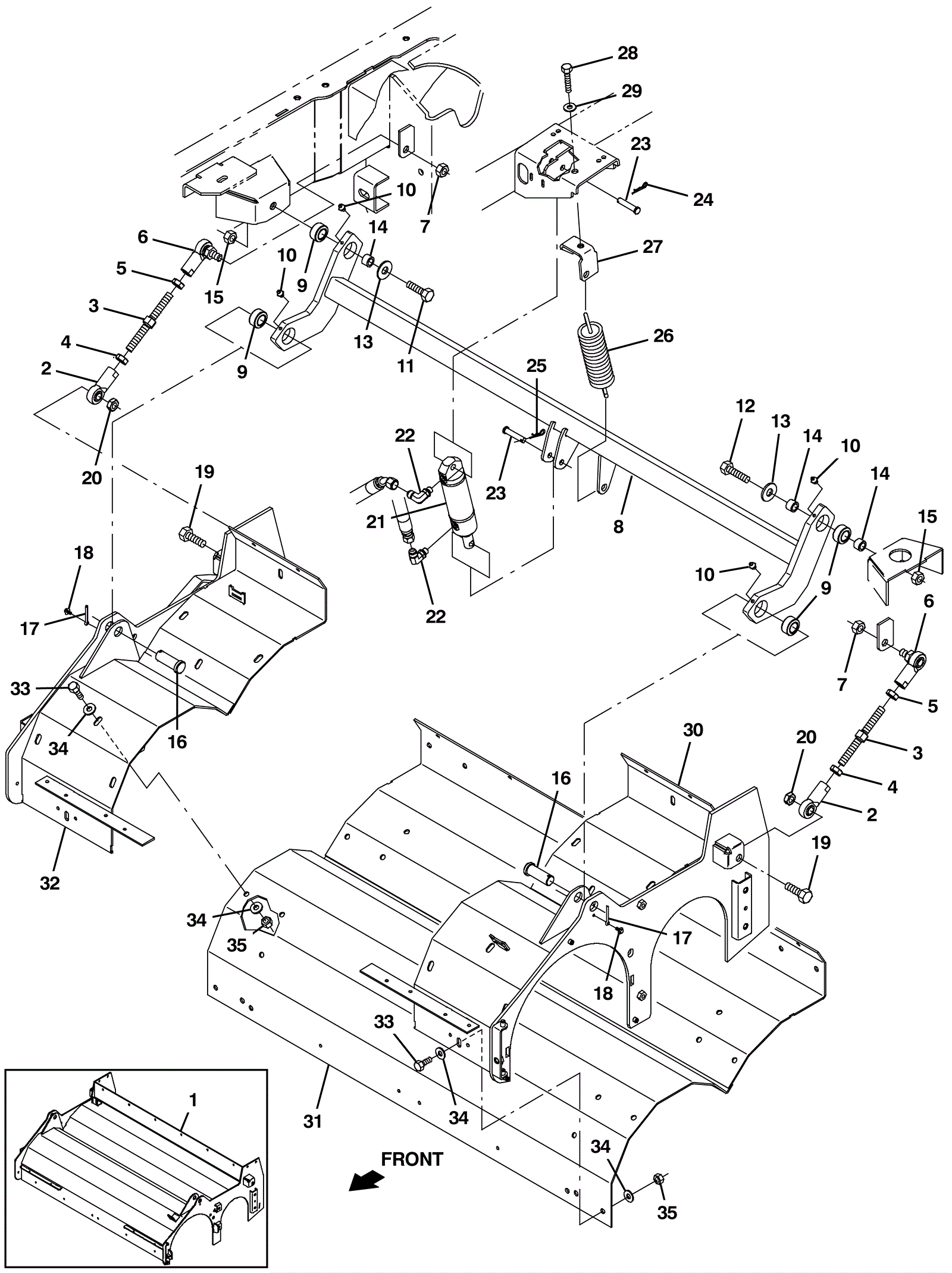
1 |
275-7149
|
SEAT, DLX, W/ ARM & SEATBELT (TENNANT INDUSTRIAL) (OBSOLETE) |
$1,050.72
|
1 |
|
usually ships 1-5 days |
2 |
175-6748
|
ROD-END, 0.50-20RH FEM 0.50B (Tennant Industrial) |
$115.52
|
2 |
|
usually ships 1-5 days |
3 |
275-9445
|
ROD, THRD, 2 END, .50-20 04.9L, RH / LH (Tennant Industrial |
$89.18
|
2 |
|
usually ships 1-5 days |
4 |
275-9446
|
NUT, HEX, JAM, .50-20 (Tennant Industrial) |
$5.67
|
2 |
|
usually ships 1-5 days |
5 |
275-9447
|
NUT, HEX, JAM, .50-20, LH (Tennant Industrial) |
$6.67
|
2 |
|
usually ships 1-5 days |
6 |
175-6749
|
ROD-END, 0.50-20LH FEM 0.50-20STUD (Tennant Industrial) |
$87.68
|
2 |
|
usually ships 1-5 days |
7 |
175-6750
|
NUT, HEX, LOCK, .50-20, NL, THIN (Tennant Industrial) |
$5.50
|
2 |
|
usually ships 1-5 days |
8 |
375-0781
|
Torque tube weldment (Tennant Industrial) |
$486.60
|
1 |
|
usually ships 1-5 days |
9 |
275-9448
|
BEARING, SELF ALIGN, 0.75B 1.25D (Tennant Industrial) |
$57.84
|
4 |
|
usually ships 1-5 days |
10 |
175-3248
|
Grease fitting |
$4.49
|
4 |
|
usually ships 10-13 days |
11 |
175-0647
|
SCREW, HEX, M12 X 1.75 X 40, 8.8 (Tennant Industrial) |
$6.67
|
1 |
|
usually ships 1-5 days |
12 |
175-6824
|
Screw M12-1 3/4 x 60mm hex |
$5.28
|
1 |
|
usually ships 1-5 days |
13 |
999-0114
|
Washer 1/2 SAE flat |
$0.99
|
2 |
|
ships same day |
14 |
275-9457
|
SLEEVE, P/M, 0.48B 0.75D 0.5L [430SS] (Tennant Industrial) |
$6.67
|
3 |
|
usually ships 1-5 days |
15 |
999-0519
|
Nut M12-1.75 nylon insert lock stainless steel |
$3.85
|
2 |
|
ships same day |
16 |
275-9449
|
PIN, CLEVIS, 0.75D X 2.00L (Tennant Industrial) |
$12.50
|
2 |
|
usually ships 10-13 days |
17 |
175-0532
|
Cotter pin |
$5.67
|
2 |
|
ships same day |
18 |
999-1228
|
Screw M5-.8 x 10mm hex head stainless steel |
$0.99
|
2 |
|
ships same day |
19 |
275-9455
|
Screw 1/2-13 x 1 1/2 hex head |
$5.28
|
2 |
|
usually ships 1-5 days |
20 |
275-9456
|
NUT, HEX, LOCK, .50-13, NL, THIN (Tennant Industrial) |
$5.67
|
2 |
|
usually ships 10-13 days |
21 |
275-6034
|
Cylindrical head (Tennant Industrial) |
$635.13
|
1 |
|
usually ships 10-13 days |
22 |
275-9450
|
FITTING, HYD, E90, JM06/OM04 (Tennant Industrial) |
$24.67
|
2 |
|
usually ships 10-13 days |
23 |
175-2592
|
Clevis Pin 0.37 D X 1.75 L |
$5.28
|
2 |
|
ships same day |
24 |
175-2113
|
Cotter pin |
$3.30
|
1 |
|
ships same day |
25 |
175-2588
|
Cotter pin |
$3.30
|
1 |
|
usually ships 10-13 days |
26 |
375-0782
|
Extension spring (Tennant Industrial) |
$37.84
|
1 |
|
usually ships 1-5 days |
27 |
275-9452
|
BRACKET, MTG, SPRING (Tennant Industrial) |
$31.51
|
1 |
|
usually ships 1-5 days |
28 |
999-1155
|
Screw M8-1.25 x 60mm hex head |
$1.87
|
1 |
|
ships same day |
29 |
999-0024
|
Washer 5/16 flat stainless steel |
$1.34
|
1 |
|
ships same day |
30 |
375-0783
|
Left hand brush wrap bracket weldment (Tennant Industrial) |
$725.48
|
1 |
|
usually ships 1-5 days |
31 |
375-0784
|
Brush wrap plate weldment (Tennant Industrial) |
$481.26
|
1 |
|
usually ships 1-5 days |
32 |
375-0785
|
Right hand brush wrap bracket weldment (Tennant Industrial) |
$769.15
|
1 |
|
usually ships 1-5 days |
33 |
999-0499
|
Bolt M8-1.25 x 20mm hex head full thread stainless steel |
$1.85
|
10 |
|
ships same day |
34 |
999-0024
|
Washer 5/16 flat stainless steel |
$1.34
|
20 |
|
ships same day |
35 |
999-0496
|
Nut M8-1.25 nylon insert lock stainless steel |
$1.34
|
10 |
|
ships same day |