| # | Part | Description | Price | Req | Notes | Availability |
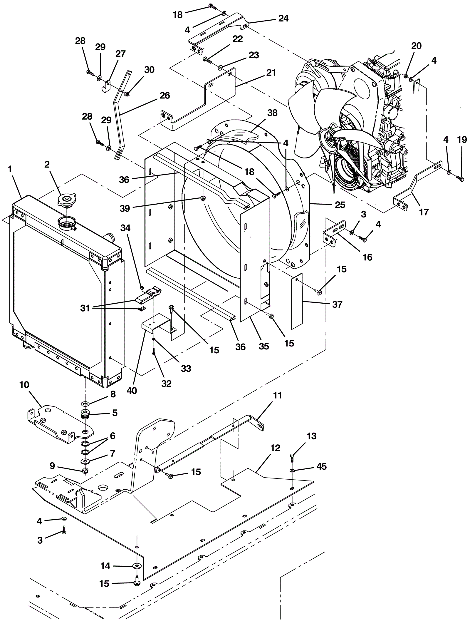
1 |
375-0545
|
Aluminum radiator (Tennant Industrial) |
$1,700.34
|
1 |
|
usually ships 1-5 days |
2 |
275-6393
|
Radiator cap (Tennant Industrial) |
$8.17
|
1 |
|
usually ships 10-13 days |
3 |
999-0581
|
Bolt M8-1.25 x 25mm hex head full thread zinc |
$0.99
|
4 |
|
ships same day |
4 |
999-0024
|
Washer 5/16 flat stainless steel |
$1.34
|
15 |
|
ships same day |
5 |
175-2429
|
Vibration isolator |
$15.40
|
2 |
|
usually ships 10-13 days |
6 |
375-0546
|
Washer 13/16 x 1 1/16 x 1/16 flat steel (Tennant Industrial) |
$5.33
|
4 |
|
usually ships 1-5 days |
7 |
275-1169
|
Washer .40 x 12mm flat |
$6.27
|
2 |
|
ships same day |
8 |
999-0114
|
Washer 1/2 SAE flat |
$0.99
|
2 |
|
ships same day |
9 |
999-9133
|
Nut M10-1.5 nut hex head stainless steel |
$1.25
|
2 |
|
usually ships 1-5 days |
10 |
375-0547
|
Upper radiator support bracket (Tennant Industrial) |
$47.51
|
1 |
|
usually ships 1-5 days |
11 |
375-0548
|
Rubber skirt bracket (Tennant Industrial) |
$49.68
|
1 |
|
usually ships 1-5 days |
12 |
375-0549
|
Radiator debris skirt (Tennant Industrial) |
$156.20
|
1 |
|
usually ships 1-5 days |
13 |
999-0507
|
Bolt M6-1 x 16mm hex head full thread plain finish |
$0.99
|
4 |
|
ships same day |
14 |
999-1288
|
Washer 1/4 x 1 OD fender stainless steel |
$0.99
|
3 |
|
ships same day |
15 |
999-0779
|
Screw M6-1 x 25mm hex head plain finish |
$0.99
|
14 |
|
ships same day |
16 |
375-0550
|
Left hand fan bracket (Tennant Industrial) |
$33.01
|
1 |
|
usually ships 1-5 days |
17 |
375-0551
|
Upper left hand fan bracket (Tennant Industrial) |
$65.85
|
1 |
|
usually ships 1-5 days |
18 |
999-1133
|
Bolt M8-1.25 x 20mm hex head full thread plain |
$0.99
|
9 |
|
ships same day |
19 |
999-0581
|
Bolt M8-1.25 x 25mm hex head full thread zinc |
$0.99
|
1 |
|
ships same day |
20 |
999-0471
|
Nut M8-1.25 nylon insert lock zinc plated |
$0.99
|
1 |
|
ships same day |
21 |
375-0552
|
Right hand fan bracket (Tennant Industrial) |
$69.18
|
1 |
|
usually ships 1-5 days |
22 |
175-6774
|
Screw M10-1 1/2 x 20 hex |
$4.49
|
2 |
|
usually ships 1-5 days |
23 |
999-0032
|
Washer 3/8 USS flat plain finish |
$2.42
|
2 |
|
ships same day |
24 |
375-0553
|
Upper fan bracket weldment (Tennant Industrial) |
$121.19
|
1 |
|
usually ships 1-5 days |
25 |
375-0554
|
Fan shroud weldment (Tennant Industrial) |
$306.89
|
1 |
|
usually ships 1-5 days |
26 |
375-0555
|
Radiator bracket (Tennant Industrial) |
$32.51
|
1 |
|
usually ships 1-5 days |
27 |
175-2108
|
P clamp |
$5.15
|
1 |
|
usually ships 1-5 days |
28 |
999-0507
|
Bolt M6-1 x 16mm hex head full thread plain finish |
$0.99
|
3 |
|
ships same day |
29 |
999-0123
|
Washer 1/4 SAE flat zinc plated |
$0.99
|
3 |
|
ships same day |
30 |
999-0469
|
Nut M6-1 nylon insert lock zinc plated |
$1.32
|
1 |
|
ships same day |
31a |
175-3369
|
Hood latch |
$35.09
|
1 |
|
usually ships 10-13 days |
31b |
991-8561
|
Rubber draw latch with keeper |
$29.57
|
1 |
|
usually ships 18-24 days |
32 |
175-5310
|
Screw 4 x 45/64 x 16 pan head |
$4.36
|
2 |
|
usually ships 1-5 days |
33 |
999-0377
|
Washer 6 SAE flat plain finish |
$0.99
|
2 |
|
ships same day |
34 |
999-0954
|
Nut M4-.7 nylon insert lock stainless steel |
$0.99
|
2 |
|
ships same day |
35 |
375-0556
|
Gas/LP replacement shroud weldment (Tennant Industrial) |
$514.60
|
1 |
|
usually ships 1-5 days |
36 |
375-0557
|
Bulb seal (Tennant Industrial) |
$114.36
|
1 |
|
usually ships 1-5 days |
37 |
375-0558
|
Cover bracket (Tennant Industrial) |
$29.51
|
1 |
|
usually ships 1-5 days |
38 |
375-0559
|
Accoustic insulation (Tennant Industrial) |
$33.51
|
1 |
|
usually ships 1-5 days |
39 |
999-0469
|
Nut M6-1 nylon insert lock zinc plated |
$1.32
|
2 |
|
ships same day |
40 |
375-0560
|
Latch bracket (Tennant Industrial) |
$27.17
|
1 |
|
usually ships 1-5 days |
45 |
999-0335
|
Washer 1/4 x 5/8 SAE flat stainless steel |
$0.99
|
1 |
|
ships same day |