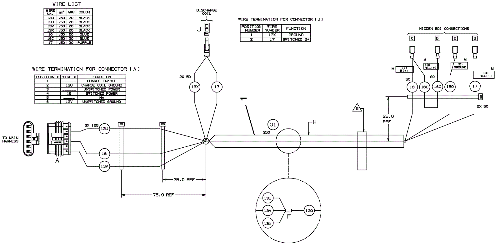
Wire Harness, Jumper (AGM) (S/N 10000000-10552859)
Click to enlarge
#
Part
Description
Price
Req
Notes
Availability
1
275-6791
Jumper harness
$104.61
1
usually ships 1-5 days