| # | Part | Description | Price | Req | Notes | Availability |
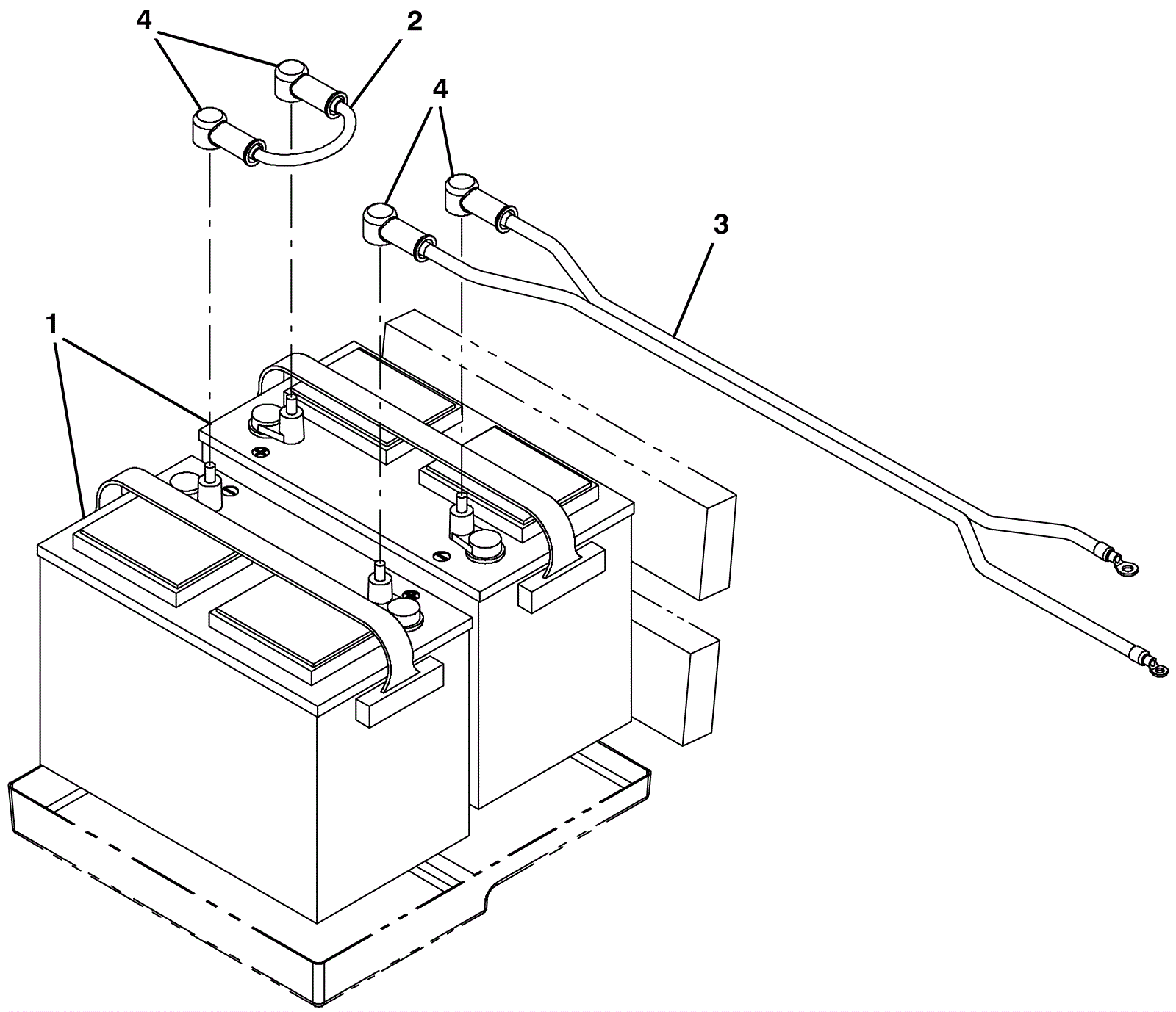
1 |
NOTE
|
Please See Batteries, Brushes, Pad Holders and Charger Pages |
Call for price
|
2 |
|
usually ships 3-26 days |
2a |
998-0010
|
Battery jumper cable - ring type (red) |
$6.06
|
1 |
|
ships same day |
2b |
991-6025
|
Wire 4 x14.5, 3/8 ring x 3/8 ring |
$16.98
|
1 |
(NON-OEM) |
usually ships 18-24 days |
3 |
275-6489
|
Battery harness |
$80.96
|
1 |
|
usually ships 10-13 days |
4 |
175-1103
|
Battery cable boot (black) |
$5.50
|
4 |
|
usually ships 10-13 days |