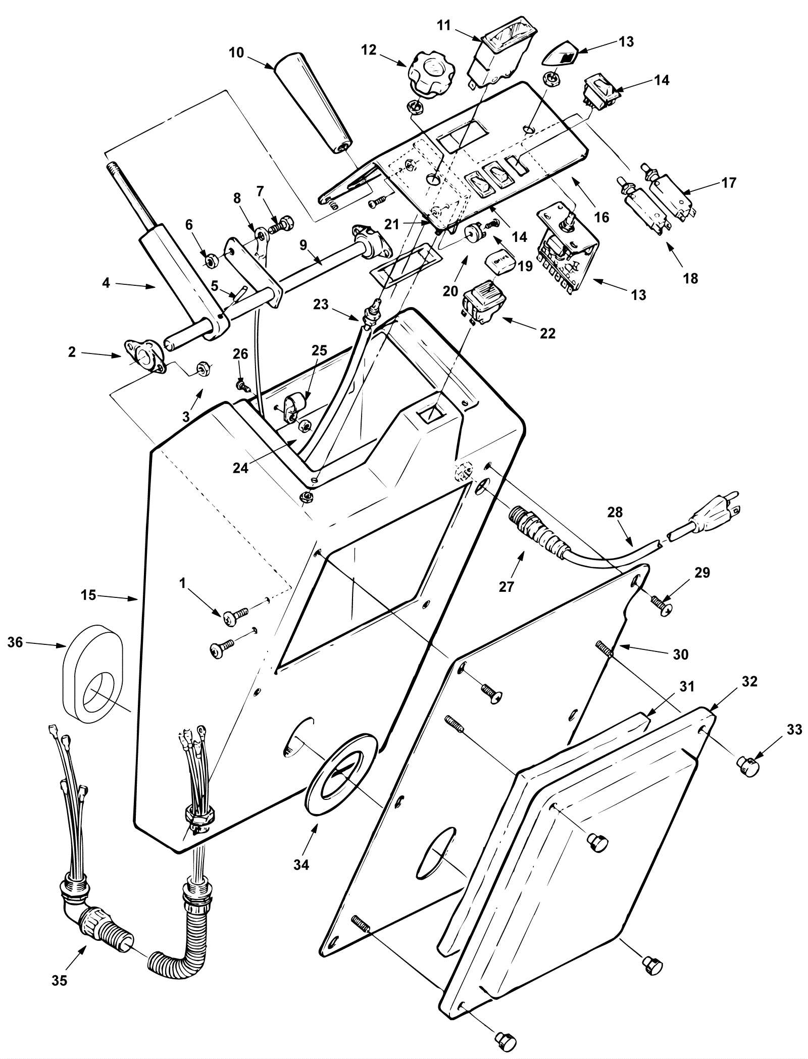
| # | Part | Description | Price | Req | Notes | Availability |
1 |
999-1214
|
Screw 1/4-20 x 3/4 truss head slotted stainless steel |
$1.23
|
4 |
|
ships same day |
2 |
175-6203
|
Bearing flange (OBSOLETE) |
$8.03
|
2 |
|
usually ships 1-5 days |
3 |
999-0015
|
Nut 1/4-20 k-lock zinc plated |
$0.99
|
4 |
|
ships same day |
4 |
N/A
|
Not available |
Call for price
|
1 |
(Lift lever) |
usually ships 3-26 days |
5 |
175-6205
|
Pin 7/32 x 1 roll (OBSOLETE) |
$1.98
|
1 |
|
usually ships 1-5 days |
6 |
999-0015
|
Nut 1/4-20 k-lock zinc plated |
$0.99
|
1 |
|
ships same day |
7 |
999-0334
|
Bolt 1/4-20 x 3/4 inch hex head stainless steel |
$3.85
|
1 |
|
usually ships 16-20 days |
8 |
175-6175
|
Lift cable (OBSOLETE) |
$21.12
|
1 |
|
usually ships 1-5 days |
9 |
175-6206
|
Pivot bar assembly (OBSOLETE) |
$27.06
|
1 |
|
usually ships 1-5 days |
10a |
175-6207
|
Knob (OBSOLETE) |
$12.76
|
1 |
|
usually ships 1-5 days |
10b |
N/A
|
Not available |
Call for price
|
1 |
L-cap |
usually ships 3-26 days |
11 |
175-6209
|
Amp meter |
$79.20
|
1 |
|
usually ships 10-13 days |
12 |
175-2735
|
Height adjustment knob |
$18.04
|
1 |
|
usually ships 10-13 days |
13 |
N/A
|
Not available |
Call for price
|
1 |
Control board |
usually ships 3-26 days |
14 |
175-0005
|
Rocker switch |
$12.98
|
3 |
|
ships same day |
15a |
175-9048
|
Blue control housing (OBSOLETE) |
$162.36
|
1 |
(SCX 1500) |
usually ships 1-5 days |
15b |
275-9793
|
Control housing (black) (OBSOLETE) |
$225.83
|
1 |
(15Gal 607057) |
usually ships 1-5 days |
15c |
275-9794
|
Control housing (navy blue) (OBSOLETE) |
$140.14
|
1 |
(15Gal 607057) |
usually ships 1-5 days |
16 |
175-6214
|
Control panel (OBSOLETE) |
$53.02
|
1 |
|
usually ships 1-5 days |
17 |
175-6215
|
Circuit breaker 2.5 amp |
$39.49
|
1 |
|
ships same day |
18 |
175-6060
|
1.5amp circuit breaker |
$54.67
|
1 |
|
usually ships 10-13 days |
19 |
999-0249
|
Screw 6-32 x 5/8 round head slotted zinc plated |
$0.99
|
1 |
|
ships same day |
20 |
175-6052
|
15amp rectifier |
$26.40
|
1 |
|
ships same day |
21 |
999-0144
|
Nut 6-32 k-lock zinc plated |
$0.99
|
1 |
|
ships same day |
22 |
175-6058
|
Push switch |
$50.05
|
1 |
|
usually ships 10-13 days |
23 |
175-6181
|
Brush height cable assembly (OBSOLETE) |
$105.16
|
1 |
|
usually ships 1-5 days |
24 |
999-0356
|
Nut 10-24 lock stainless steel |
$0.99
|
1 |
|
ships same day |
25 |
175-0988
|
P clamp |
$4.22
|
1 |
|
usually ships 10-13 days |
26 |
999-0269
|
Screw 10-24 x 5/8 pan head phillips zinc plated |
$0.99
|
1 |
|
ships same day |
27 |
175-0001
|
Strain relief |
$13.64
|
1 |
|
ships same day |
28a |
175-6218
|
14/3 pigtail cord 34 inch (yellow) |
$19.80
|
1 |
|
usually ships 10-13 days |
28b |
175-0993
|
14/3 extension cord 75 foot |
$192.17
|
1 |
|
usually ships 10-13 days |
29 |
999-0557
|
Screw 1/4-20 x 1/2 truss head slotted stainless steel |
$0.99
|
6 |
|
ships same day |
30 |
N/A
|
Not available |
Call for price
|
1 |
(Cover plate) |
usually ships 3-26 days |
31 |
175-6221
|
Sound filter foam (OBSOLETE) |
$20.24
|
1 |
|
usually ships 1-5 days |
32a |
175-9047
|
Blue filter cover (OBSOLETE) |
$151.80
|
1 |
(SCX 1500) |
usually ships 10-13 days |
32b |
275-9795
|
Filter cover (black) (OBSOLETE) |
$152.90
|
1 |
(15Gal 607057) |
usually ships 1-5 days |
32c |
275-9796
|
Filter cover (navy blue) (OBSOLETE) |
$148.39
|
1 |
(15Gal 607057) |
usually ships 1-5 days |
33 |
175-6223
|
Knob (OBSOLETE) |
$5.28
|
4 |
|
usually ships 1-5 days |
34 |
175-6224
|
Exhaust gasket (OBSOLETE) |
$2.38
|
1 |
|
usually ships 1-5 days |
35 |
175-6225
|
Wire harness (OBSOLETE) |
$104.50
|
1 |
|
usually ships 1-5 days |
36 |
175-6279
|
Exhaust oval gasket (OBSOLETE) |
$2.38
|
1 |
|
usually ships 1-5 days |
N/S |
175-5741
|
Bumper tape (TENNANT INDUSTRIAL) |
$60.45
|
2 x 11 in |
|
usually ships 1-5 days |
N/S |
175-5741
|
Bumper tape (TENNANT INDUSTRIAL) |
$60.45
|
2 x 7 in |
|
usually ships 1-5 days |