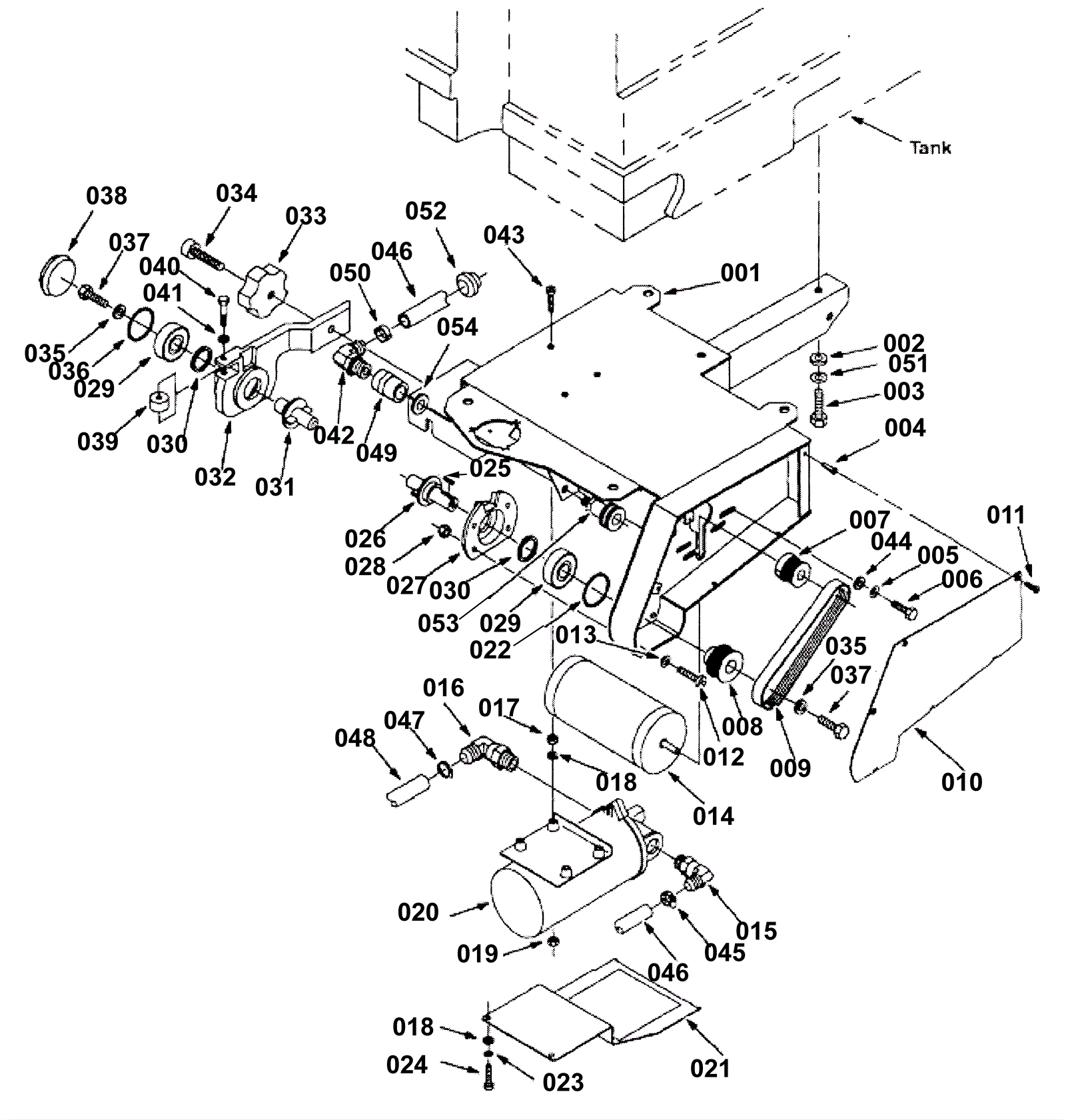
Motor Frame Assembly
Click to enlarge