5680
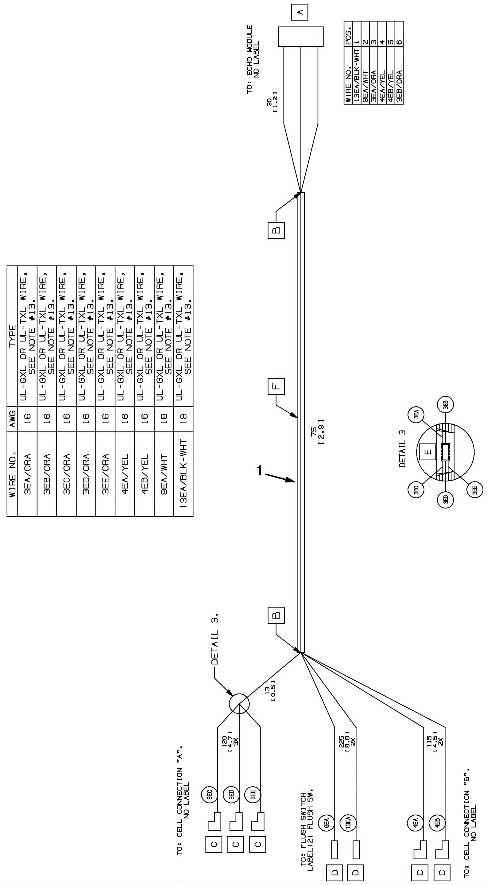
Wiring Harness - ec-H2O NanoClean - Main Control Board - After SN 10740686
Click to enlarge
#
Part
Description
Price
Req
Notes
Availability
1
375-0284
B2 module harness
$18.48
1
usually ships 10-13 days