| # | Part | Description | Price | Req | Notes | Availability |
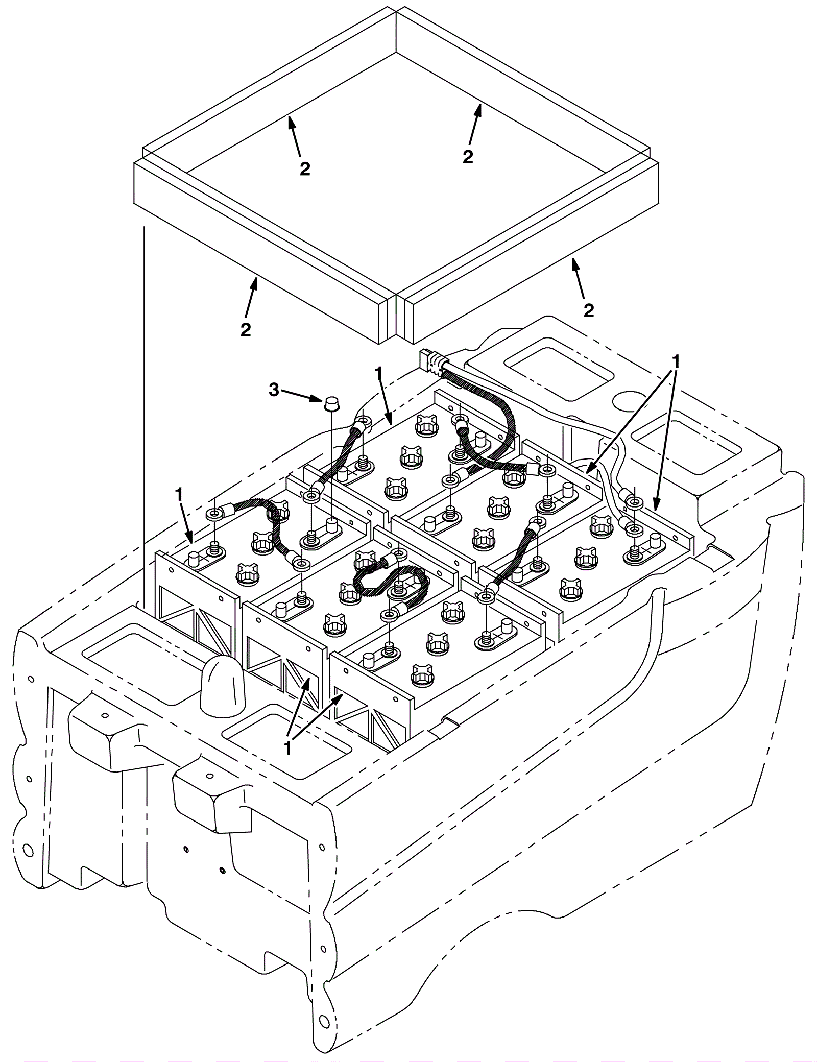
1 |
NOTE
|
Please See Batteries, Brushes, Pad Holders and Charger Pages |
Call for price
|
6 |
|
usually ships 3-26 days |
2 |
175-2127
|
Battery spacer |
$7.15
|
6 |
|
ships same day |
3 |
175-9755
|
Battery cap |
$3.70
|
6 |
|
usually ships 1-5 days |