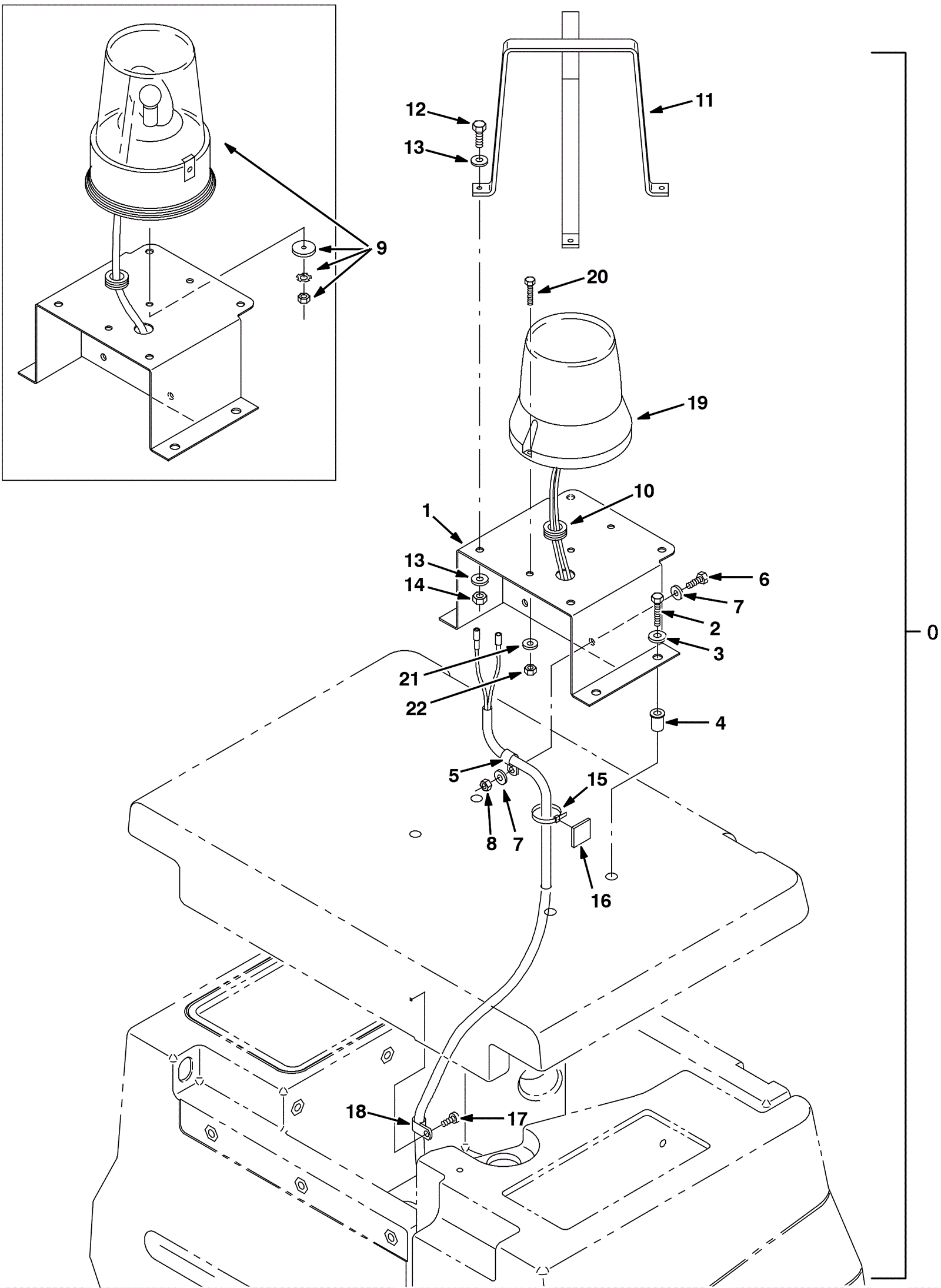
| # | Part | Description | Price | Req | Notes | Availability | 
|---|
          
            
            
                
                  
                  
                  
				       
				      0 | 175-5413 | Revolving light kit | $501.60 | 1 | (includes 1-22) | usually ships 1-5 days | 1 | 175-5414 | Light bracket weldment | $132.33 | 1 |  | usually ships 1-5 days | 2 | 999-0136 | Bolt 1/4-20 x 1 1/4 hex head grade 5 zinc plated | $0.99 | 4 |  | ships same day | 3 | 999-0024 | Washer 5/16 flat stainless steel | $1.34 | 4 |  | ships same day | 4 | 175-5424 | Nut 1/4-20 isolator wall thick | $5.50 | 4 |  | usually ships 10-13 days | 5 | 175-3170 | P clamp | $4.22 | 1 |  | ships same day | 6 | 999-0502 | Bolt M6-1 x 20mm hex head full thread zinc | $0.99 | 1 |  | ships same day | 7 | 999-0016 | Washer 1/4 flat plain finish | $0.99 | 2 |  | ships same day | 8 | 999-0469 | Nut M6-1 nylon insert lock zinc plated | $1.32 | 1 |  | ships same day | 9a | 175-5416 | Revolving lamp assembly | $397.65 | 1 | (includes 9b-9c) (before SN 10221853) | usually ships 1-5 days | 9b | 175-5417 | Lamp | $30.58 | 1 | (before SN 10221853) | usually ships 1-5 days | 9c | 175-5418 | Revolving light amber lens | $47.63 | 1 | (before SN 10221853) | usually ships 1-5 days | 10 | 175-5419 | Grommet 5/8 | $3.30 | 1 |  | usually ships 1-5 days | 11 | 175-5420 | Revolving/flashing light guard weldment | $167.97 | 1 |  | usually ships 1-5 days | 12 | 999-0502 | Bolt M6-1 x 20mm hex head full thread zinc | $0.99 | 4 |  | ships same day | 13 | 999-0016 | Washer 1/4 flat plain finish | $0.99 | 8 |  | ships same day | 14 | 999-0469 | Nut M6-1 nylon insert lock zinc plated | $1.32 | 4 |  | ships same day | 15 | 175-2202 | Nylon wire tie | $4.49 | 2 |  | ships same day | 16 | 175-3233 | Cable tie mount | $4.62 | 1 |  | usually ships 1-5 days | 17 | 175-3223 | Screw 12-16 x 1/2 pan head plastic | $5.28 | 1 |  | usually ships 1-5 days | 18 | 175-5421 | P clamp | $5.28 | 1 |  | usually ships 10-13 days | 19a | 275-4677 | Flashing light (amber) | $388.14 | 1 | (includes 19b-19c) (after SN 10221852) | usually ships 1-5 days | 19b | 275-4676 | Bulb | $20.79 | 1 | (after SN 10221852) | usually ships 1-5 days | 19c | 275-4675 | Lens | $37.29 | 1 | (after SN 10221852) | usually ships 1-5 days | 20 | 175-0837 | Bolt M5-.8 x 16mm hex head | $3.30 | 2 | (after SN 10221852) | usually ships 1-5 days | 21 | 999-0006 | Washer 3/16 flat zinc plated | $0.99 | 2 | (after SN 10221852) | ships same day | 22 | 175-2894 | Nut M5-.8 hex nylon locking | $3.30 | 2 | (after SN 10221852) | usually ships 10-13 days | N/S | 175-5422 | Revolving light red lens | $62.59 | 1 | (before SN 10221853) | usually ships 1-5 days | N/S | 175-5423 | Revolving light blue lens | $80.19 | 1 | (before SN 10221853) | usually ships 1-5 days | N/S | 275-7186 | Lens (red) (Tennant Industrial) | $64.68 | 1 | (after SN 10221852) | usually ships 1-5 days | N/S | 275-7187 | Lens (blue) (Tennant Industrial) | $78.18 | 1 | (after SN 10221852) | usually ships 1-5 days |