| # | Part | Description | Price | Req | Notes | Availability |
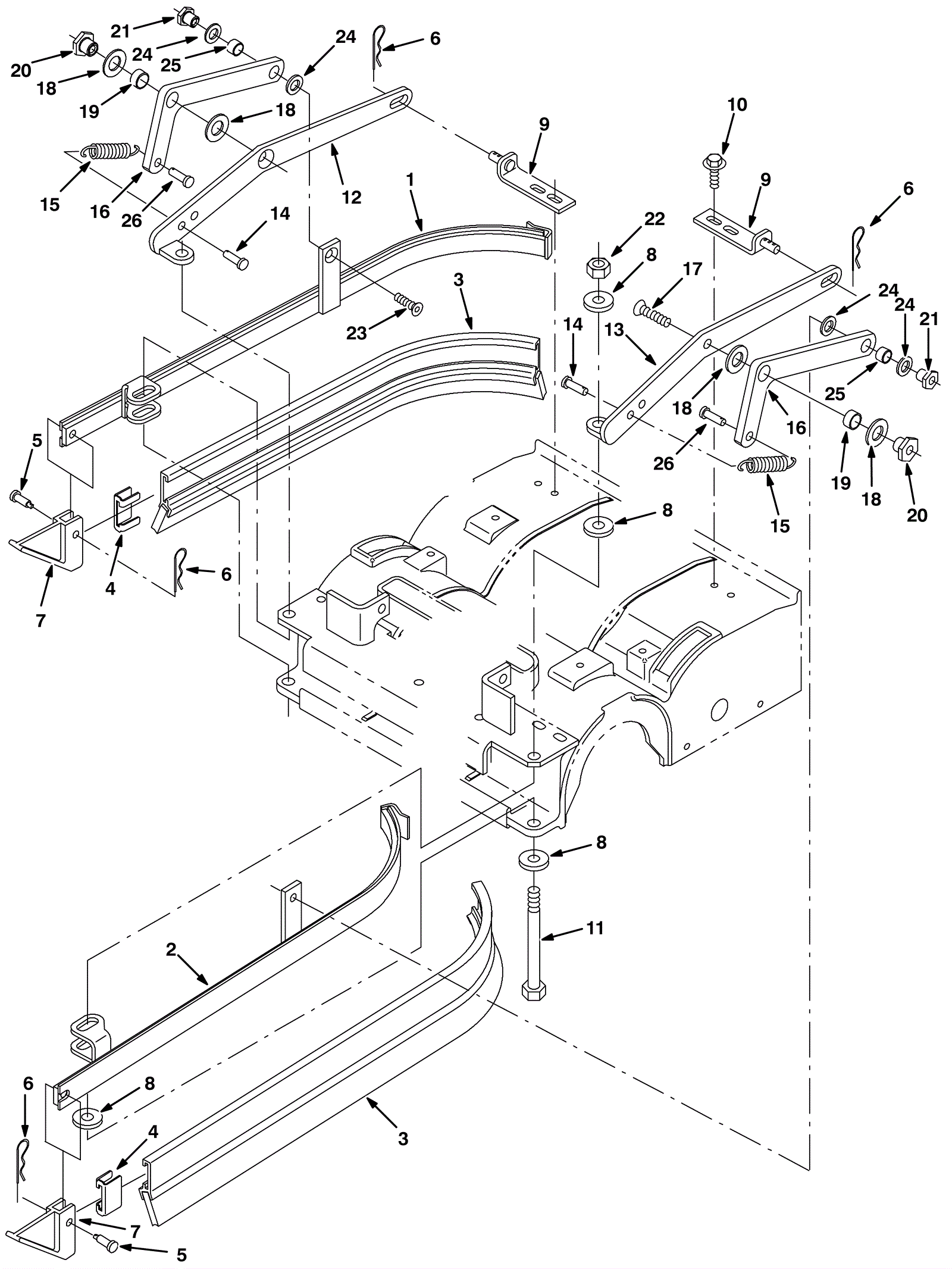
1 |
175-5405
|
Squeegee frame weldment right cylindrical 28 inch |
$227.48
|
1 |
|
usually ships 1-5 days |
2 |
175-5406
|
Squeegee frame weldment left cylindrical 28 inch |
$275.11
|
1 |
|
usually ships 10-13 days |
3 |
175-3343
|
Side squeegee blade linatex |
$70.40
|
2 |
|
ships same day |
3b |
991-8619
|
SQUEEGEE ASSY, SIDE [LINATEX] |
$57.50
|
2 |
(NON-OEM) |
ships same day |
4 |
175-3357
|
Squeegee blade retainer |
$12.10
|
2 |
|
usually ships 10-13 days |
5 |
175-3351
|
Clevis pin |
$4.49
|
2 |
|
usually ships 10-13 days |
6 |
175-2117
|
Cotter pin |
$5.28
|
4 |
|
usually ships 10-13 days |
7 |
475-3313
|
GUIDE, SQGE, SIDE, YELLOW |
$19.14
|
2 |
|
usually ships 10-13 days |
8 |
175-5407
|
Washer M12 flat stainless steel |
$4.36
|
8 |
|
usually ships 10-13 days |
9 |
175-5408
|
Squeegee side stop angle weldment cylindrical |
$69.19
|
2 |
|
usually ships 1-5 days |
10 |
175-2888
|
Bolt M8-1 1/4 x 25mm hex head |
$5.28
|
4 |
|
usually ships 10-13 days |
11 |
175-5409
|
Screw 1/2-13 x 5 hex |
$7.92
|
2 |
|
usually ships 1-5 days |
12 |
175-5410
|
Squeegee link mounting arm right cylindrical |
$76.34
|
1 |
|
usually ships 1-5 days |
13 |
175-5411
|
Squeegee link mounting arm left cylindrical |
$67.10
|
1 |
|
usually ships 10-13 days |
14 |
175-3351
|
Clevis pin |
$4.49
|
2 |
|
usually ships 10-13 days |
15 |
175-3345
|
Extension spring |
$10.01
|
2 |
|
ships same day |
16 |
175-3348
|
Bell crank |
$61.05
|
2 |
|
usually ships 10-13 days |
17 |
175-5412
|
Screw M10-1.5 x 20mm flat stainless steel |
$6.27
|
2 |
|
usually ships 10-13 days |
18 |
175-3347
|
Washer .61 thrust |
$5.50
|
4 |
|
usually ships 10-13 days |
19 |
175-3349
|
Sleeved bushing |
$13.64
|
2 |
|
usually ships 10-13 days |
20 |
175-3352
|
T-nut M10-1.5mm |
$8.80
|
2 |
|
ships same day |
21 |
999-0579
|
Nut M8-1.25 hex coarse thread zinc |
$0.99
|
2 |
|
ships same day |
22 |
999-1208
|
Nut 1/2-13 nylon insert lock stainless steel |
$2.53
|
2 |
|
ships same day |
23 |
999-1324
|
Screw M8-1.25 x 20mm flat head stainless steel |
$0.99
|
2 |
|
ships same day |
24 |
175-3354
|
Thrust washer |
$10.67
|
4 |
|
usually ships 10-13 days |
25 |
175-3355
|
Sleeved bushing |
$7.37
|
2 |
|
usually ships 10-13 days |
26 |
175-3344
|
Clevis pin |
$8.25
|
2 |
|
usually ships 10-13 days |