| # | Part | Description | Price | Req | Notes | Availability | 
|---|
          
            
            
                
                  
                  
                  
				       
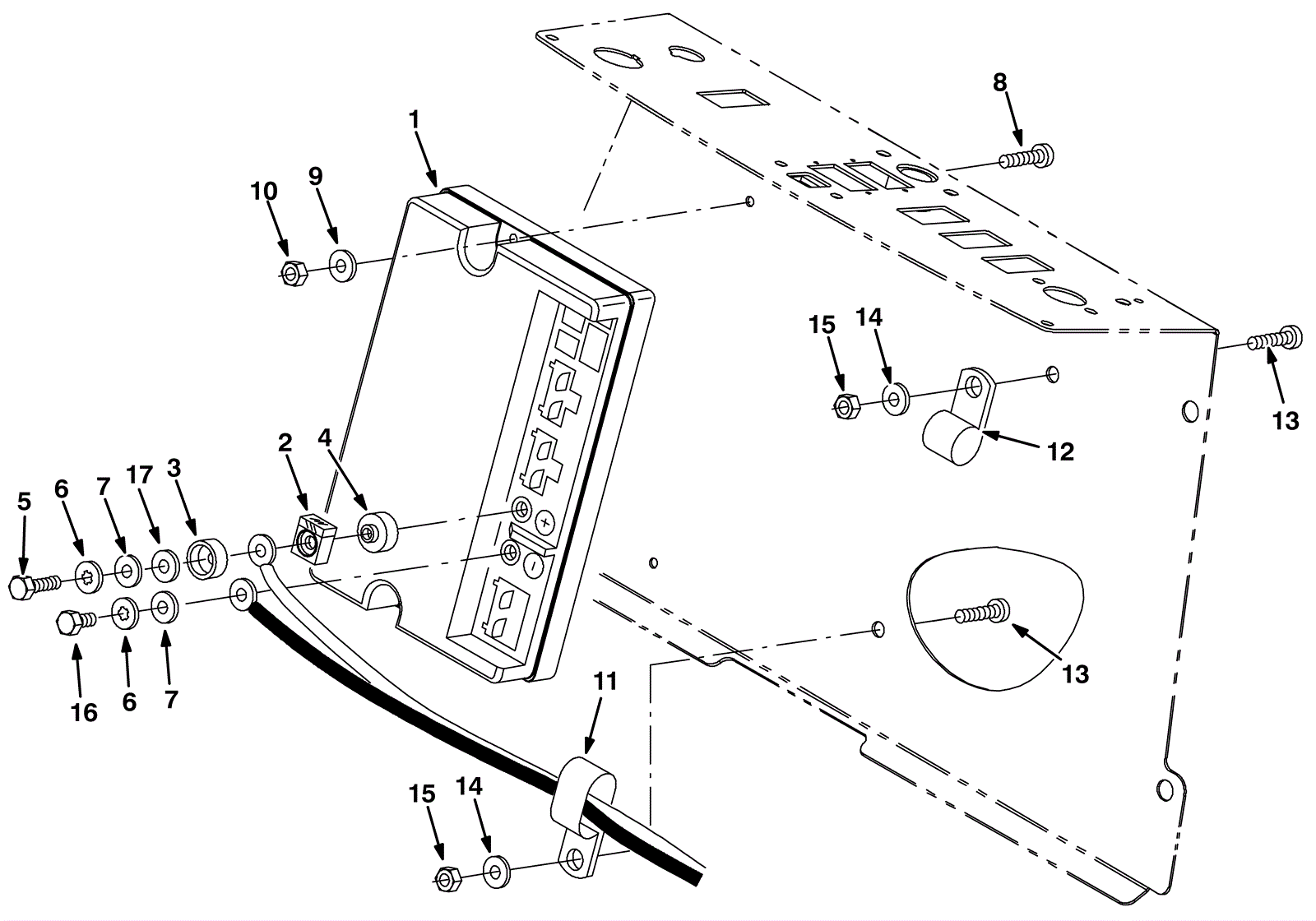
				      1 | 175-4941 | Control board | $4,097.50 | 1 |  | usually ships 10-13 days | 2 | 175-4942 | Fuse 125amp | $59.84 | 1 |  | usually ships 10-13 days | 3 | 175-4943 | Fuse mounting insulator (OBSOLETE) | $12.21 | 1 |  | usually ships 10-13 days | 4 | 175-4944 | Fuse controller sleeve (OBSOLETE) | $16.72 | 1 |  | usually ships 10-13 days | 5 | 175-6758 | Screw M6-1 x 30mm hex head | $4.36 | 1 |  | ships same day | 6 | 999-0238 | Washer 1/4 internal star lock zinc plated | $0.99 | 2 |  | ships same day | 7 | 999-0016 | Washer 1/4 flat plain finish | $0.99 | 2 |  | ships same day | 8 | 175-4945 | Screw M5-.8 x 35mm pan head phillips | $3.56 | 2 |  | usually ships 1-5 days | 9 | 999-0998 | Washer #10 flat stainless steel | $0.99 | 2 |  | ships same day | 10 | 175-2894 | Nut M5-.8 hex nylon locking | $3.30 | 2 |  | usually ships 10-13 days | 11 | 175-3171 | Cable clamp | $5.50 | 1 |  | usually ships 1-5 days | 12 | 175-2260 | P clamp | $5.28 | 1 |  | usually ships 10-13 days | 13 | 175-4927 | Screw M8-1.25 x 20mm button head | $4.36 | 2 |  | ships same day | 14 | 999-0123 | Washer 1/4 SAE flat zinc plated | $0.99 | 2 |  | ships same day | 15 | 999-0471 | Nut M8-1.25 nylon insert lock zinc plated | $0.99 | 2 |  | ships same day | 16 | 175-5113 | Bolt M6 x 12mm hex head | $3.30 | 1 |  | usually ships 1-5 days | 17 | 999-0016 | Washer 1/4 flat plain finish | $0.99 | 1 |  | ships same day |