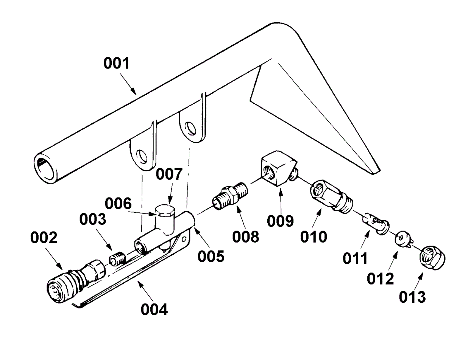
127mm (5 inch) Hand Tool
Click to enlarge