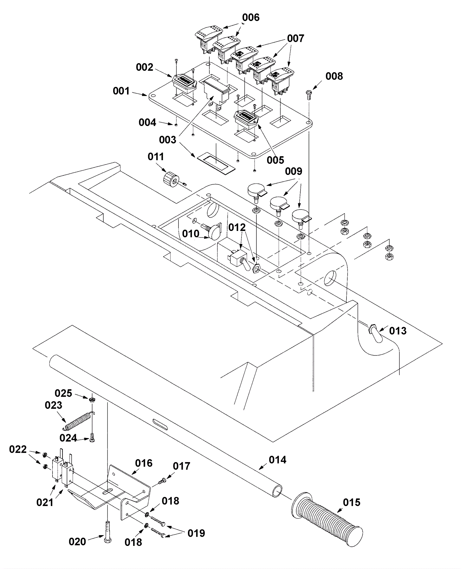
Control Console Assembly
Click to enlarge