| # | Part | Description | Price | Req | Notes | Availability |
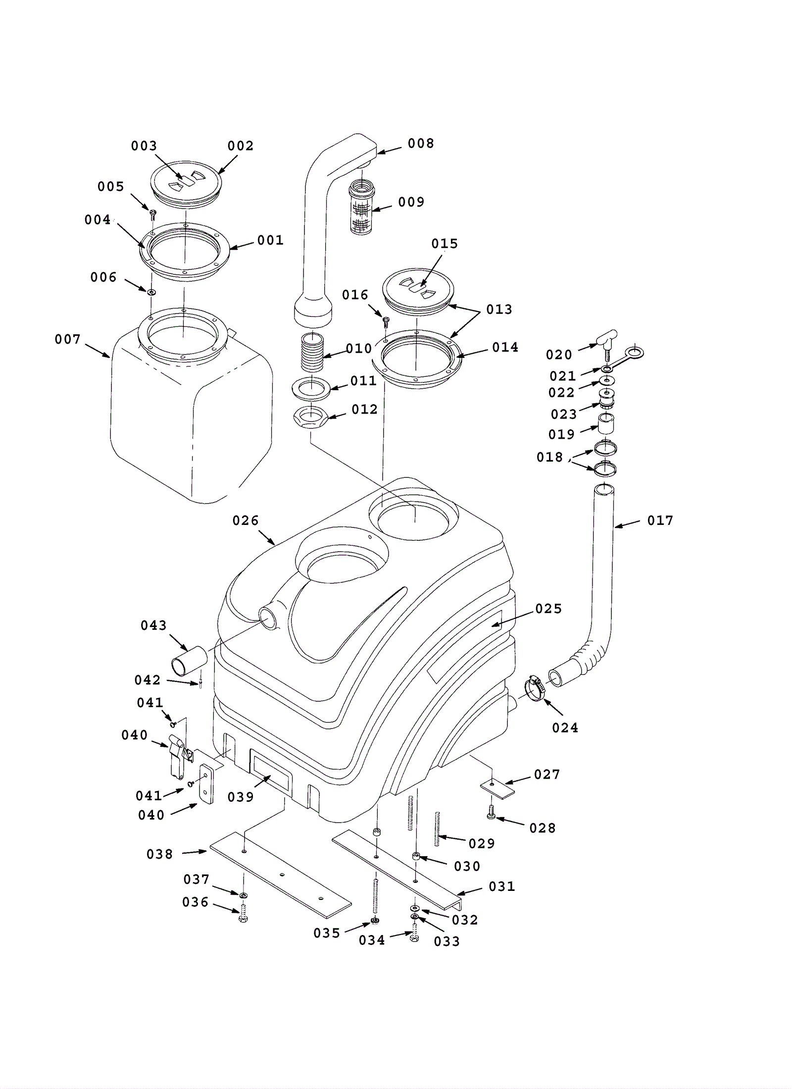
001a |
175-6045
|
Tank lid assembly |
$134.75
|
1 |
|
usually ships 10-13 days |
001b |
164-0205
|
Tank lid ring (black) |
$40.77
|
1 |
|
usually ships 19-25 days |
002a |
164-0044
|
Tank lid (clear) |
$72.51
|
1 |
|
ships same day |
002b |
991-1928
|
Tank lid (clear) (OBSOLETE) |
$137.84
|
1 |
(NON-OEM) |
usually ships 18-24 days |
003 |
175-1938
|
Use bleeder hose decal |
$23.54
|
1 |
|
usually ships 10-13 days |
004 |
175-6101
|
Always close decal |
$16.06
|
1 |
|
usually ships 10-13 days |
005 |
999-1028
|
Screw 10-24 x 3/4 truss head phillips stainless steel |
$1.69
|
6 |
|
ships same day |
006 |
999-0016
|
Washer 1/4 flat plain finish |
$0.99
|
6 |
|
ships same day |
007 |
175-1989
|
Bladder bag |
$377.08
|
1 |
|
usually ships 10-13 days |
008 |
175-6047
|
Standpipe |
$191.95
|
1 |
|
usually ships 10-13 days |
009a |
675-9887
|
Shut-off float |
$123.20
|
1 |
(OEM) |
usually ships 10-13 days |
009b |
991-5136
|
Shut-off float |
$32.10
|
1 |
(NON-OEM) |
ships same day |
010 |
175-2639
|
1 1/2 inch nipple fitting |
$23.10
|
1 |
|
usually ships 10-13 days |
011 |
175-2640
|
Gasket |
$5.50
|
1 |
|
usually ships 10-13 days |
012 |
175-2907
|
Nut 1 1/2 flanged hex |
$7.37
|
1 |
|
usually ships 10-13 days |
013 |
164-0202
|
Tank lid assembly |
$107.65
|
1 |
|
usually ships 7-10 days |
014 |
175-6101
|
Always close decal |
$16.06
|
1 |
|
usually ships 10-13 days |
015 |
175-6107
|
Always drain decal |
$7.04
|
1 |
|
usually ships 10-13 days |
016a |
999-0447
|
Screw 6-32 x 1/2 pan head phillips zinc plated |
$0.99
|
6 |
|
ships same day |
016b |
175-6256
|
Drain hose kit |
$106.70
|
1 |
|
usually ships 10-13 days |
017a |
175-1535
|
Drain hose assembly |
$113.85
|
1 |
|
usually ships 10-13 days |
017b |
991-1907
|
22 inch molded hose with drain cap |
$36.70
|
1 |
(NON-OEM) |
ships same day |
018 |
175-1789
|
Hose clamp |
$5.50
|
2 |
|
ships same day |
019a |
175-6074
|
Drain hose sleeve |
$16.94
|
1 |
|
usually ships 10-13 days |
019b |
175-6070
|
Drain plug assembly |
$91.30
|
1 |
|
usually ships 10-13 days |
020 |
175-6071
|
Drain plug knob |
$17.71
|
1 |
|
usually ships 10-13 days |
021 |
175-6072
|
Drain plug strap |
$19.36
|
1 |
|
usually ships 10-13 days |
022 |
999-1446
|
Washer 3/8 x 1 1/2 fender stainless steel |
$0.99
|
1 |
|
ships same day |
023 |
175-6073
|
Fitting |
$11.11
|
1 |
|
usually ships 10-13 days |
024 |
997-2007
|
Hose clamp |
$2.07
|
1 |
|
ships same day |
025 |
275-8035
|
Explorer 1500 decal (OBSOLETE) |
$4.22
|
2 |
|
usually ships 1-5 days |
026 |
175-1943
|
Green recovery tank |
$624.69
|
1 |
|
usually ships 1-5 days |
027 |
175-2008
|
Plate |
$14.41
|
1 |
|
usually ships 1-5 days |
028 |
999-0990
|
Screw 1/4-20 x 5/8 flat head phillips stainless steel |
$0.99
|
1 |
|
ships same day |
029 |
175-1029
|
Stud 1/4 x 4 1/4 inch |
$5.50
|
3 |
|
usually ships 1-5 days |
030 |
175-2726
|
Sleeved bushing |
$5.15
|
2 |
|
usually ships 10-13 days |
031 |
175-2013
|
Tank support bracket |
$24.42
|
1 |
|
usually ships 1-5 days |
032 |
999-0016
|
Washer 1/4 flat plain finish |
$0.99
|
1 |
|
ships same day |
033 |
999-0632
|
Washer 1/4 split lock stainless steel |
$0.99
|
1 |
|
ships same day |
034 |
999-0334
|
Bolt 1/4-20 x 3/4 inch hex head stainless steel |
$3.85
|
1 |
|
usually ships 16-20 days |
035 |
999-0015
|
Nut 1/4-20 k-lock zinc plated |
$0.99
|
1 |
|
ships same day |
036 |
999-1032
|
Screw 1/4-20 x 5/8 hex head stainless steel |
$0.99
|
3 |
|
ships same day |
037 |
999-0632
|
Washer 1/4 split lock stainless steel |
$0.99
|
3 |
|
ships same day |
038 |
175-2014
|
Front tank brace |
$27.06
|
1 |
|
usually ships 1-5 days |
039 |
275-5867
|
Front decal |
$10.89
|
1 |
|
ships same day |
040a |
175-3369
|
Hood latch |
$35.09
|
2 |
|
usually ships 10-13 days |
040b |
175-6536
|
Tank strap |
$8.36
|
2 |
|
usually ships 1-5 days |
040c |
991-8561
|
Rubber draw latch with keeper |
$29.57
|
2 |
|
usually ships 18-24 days |
041a |
999-1165
|
Screw 8-32 x 3/8 truss head phillips stainless steel |
$0.99
|
4 |
for models 608808 and 608810 |
ships same day |
041b |
999-1165
|
Screw 8-32 x 3/8 truss head phillips stainless steel |
$0.99
|
2 |
for models 610292 and 609231 |
ships same day |
042 |
175-2016
|
Pop rivet 3/16 x 1/4 inch |
$4.36
|
1 |
|
usually ships 10-13 days |
043 |
175-2017
|
Inlet tube |
$66.66
|
1 |
|
usually ships 10-13 days |