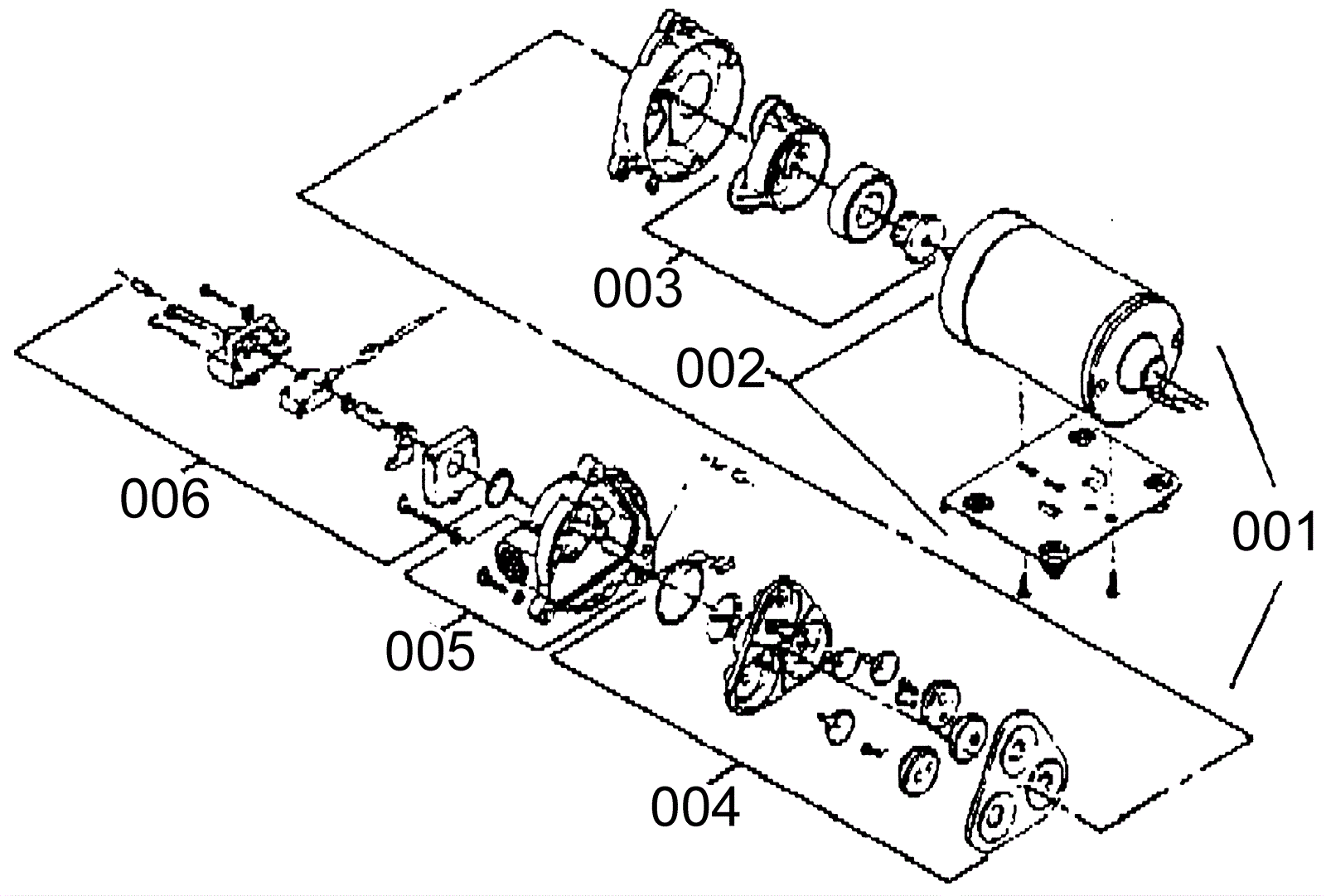
Solution Pump Assembly
Click to enlarge