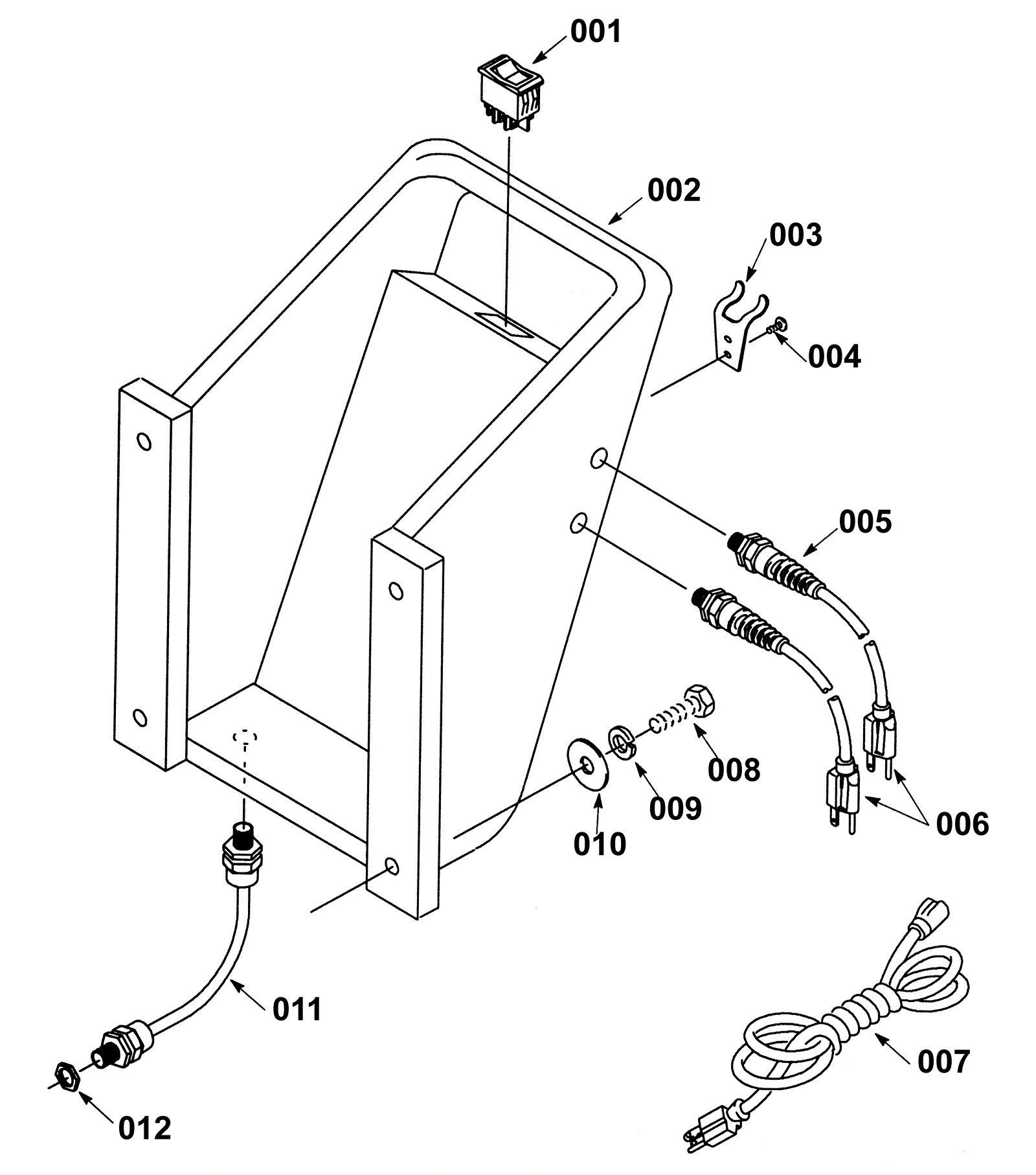
| # | Part | Description | Price | Req | Notes | Availability |
001 |
175-1008
|
Rocker switch |
$33.11
|
1 |
|
ships same day |
002 |
175-5745
|
Green handle |
$191.95
|
1 |
|
usually ships 1-5 days |
003 |
175-6069
|
Drain hose bracket |
$23.76
|
1 |
|
usually ships 10-13 days |
004 |
999-0447
|
Screw 6-32 x 1/2 pan head phillips zinc plated |
$0.99
|
2 |
|
ships same day |
005 |
175-0001
|
Strain relief |
$13.64
|
2 |
|
ships same day |
006 |
175-1522
|
16/3 pigtail cord 18 inch |
$51.59
|
2 |
|
usually ships 10-13 days |
007a |
175-6091
|
16/3 extension cord 50 foot (yellow) |
$70.68
|
2 |
|
ships same day |
007b |
991-5002
|
16/3 extension cord 50 foot (orange) |
$54.17
|
2 |
(NON-OEM) |
ships same day |
007c |
991-5007
|
18/3 replacement power cord 50 foot (black) |
$32.78
|
2 |
(NON-OEM) |
ships same day |
008 |
999-0350
|
Bolt 3/8-16 x 1 1/2 hex head grade 5 zinc plated |
$0.99
|
4 |
|
ships same day |
009 |
999-0034
|
Washer 3/8 split lock plain finish |
$1.82
|
4 |
|
ships same day |
010 |
999-0617
|
Washer 3/8 x 1 flat stainless steel |
$1.82
|
4 |
|
ships same day |
011 |
175-5755
|
Handle cord |
$25.41
|
1 |
|
usually ships 10-13 days |
012 |
175-6158
|
Nut 1/2 conduit |
$5.28
|
1 |
|
usually ships 10-13 days |