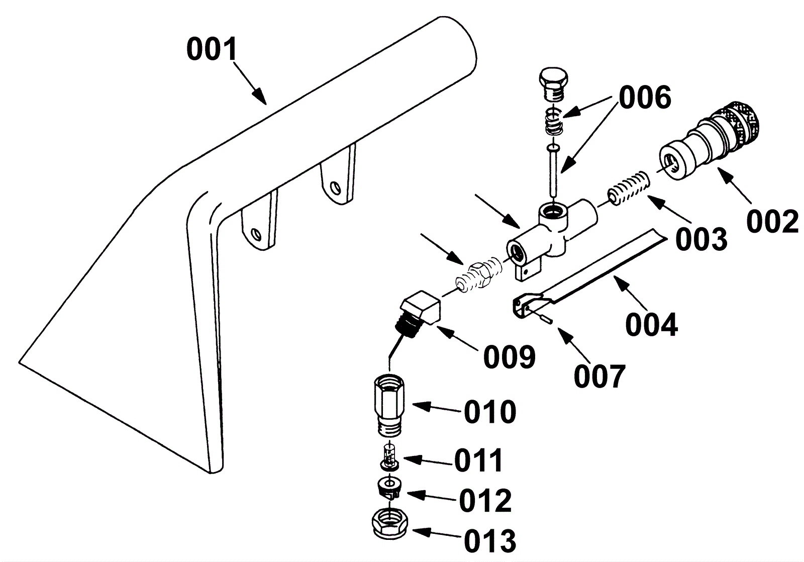
| # | Part | Description | Price | Req | Notes | Availability |
000 |
175-3567
|
5 inch hand tool assembly |
$527.01
|
1 |
Includes 001-013 |
usually ships 10-13 days |
001 |
175-3568
|
5 inch hand tool |
$178.75
|
1 |
Included in 000 |
usually ships 10-13 days |
002 |
991-8158
|
1/4 inch BH2-60 female coupler (mate to QD40) |
$23.00
|
1 |
Included in 000 |
ships same day |
003 |
175-6244
|
Nipple |
$5.28
|
1 |
Included in 000 |
usually ships 10-13 days |
004 |
175-3569
|
Hand tool trigger |
$32.56
|
1 |
Included in 000 |
usually ships 10-13 days |
005 |
175-3570
|
Valve |
$107.47
|
1 |
Included in 000 |
usually ships 10-13 days |
006 |
175-3571
|
Valve pin and spring (OBSOLETE) |
$26.84
|
1 |
Included in 000 |
usually ships 10-13 days |
007 |
175-4841
|
Roll pin |
$3.30
|
1 |
Included in 000 |
usually ships 10-13 days |
008 |
175-6239
|
1/4 inch nipple |
$5.50
|
1 |
Included in 000 |
ships same day |
009 |
175-6031
|
Straight jet fitting |
$8.25
|
1 |
Included in 000 |
usually ships 10-13 days |
010 |
175-3572
|
Spray body |
$10.23
|
1 |
Included in 000 |
usually ships 1-5 days |
011 |
175-1802
|
Mesh screen filter |
$23.87
|
1 |
Included in 000 |
ships same day |
012 |
175-3573
|
Spray tip |
$22.11
|
1 |
Included in 000 |
usually ships 10-13 days |
013 |
175-1834
|
Spray nozzle cap |
$6.49
|
1 |
Included in 000 |
usually ships 10-13 days |