| # | Part | Description | Price | Req | Notes | Availability |
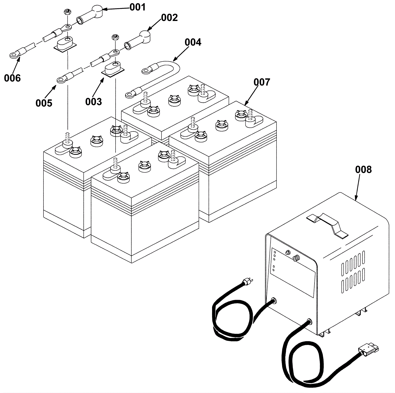
001 |
175-1103
|
Battery cable boot (black) |
$5.50
|
4 |
|
usually ships 10-13 days |
002 |
175-1103
|
Battery cable boot (black) |
$5.50
|
4 |
|
usually ships 10-13 days |
003 |
175-2121
|
Battery terminal cover (clear) |
$5.28
|
8 |
|
usually ships 10-13 days |
004a |
998-0010
|
Battery jumper cable - ring type (red) |
$6.06
|
3 |
|
ships same day |
004b |
991-6025
|
Wire 4 x14.5, 3/8 ring x 3/8 ring |
$16.98
|
1 |
(NON-OEM) |
usually ships 18-24 days |
005 |
175-3138
|
Battery cable 5/16 x 3/8 (red) |
$28.82
|
1 |
|
usually ships 10-13 days |
006 |
175-3137
|
Battery cable (black) |
$24.31
|
1 |
|
usually ships 10-13 days |
007a |
162-0003
|
6V 225Ah wet battery (SNSR) |
$269.50
|
4 |
|
ships same day |
007b |
162-0043
|
6V 224Ah AGM battery (Group GC2) (SNSR) |
$456.50
|
4 |
|
ships same day |
008 |
175-3139
|
24V 19amp off board battery charger |
$1,137.95
|
1 |
|
ships same day |
N/S |
991-9284
|
50amp charger plug SB50 with pins (red) |
$7.19
|
1 |
|
usually ships 1-5 days |