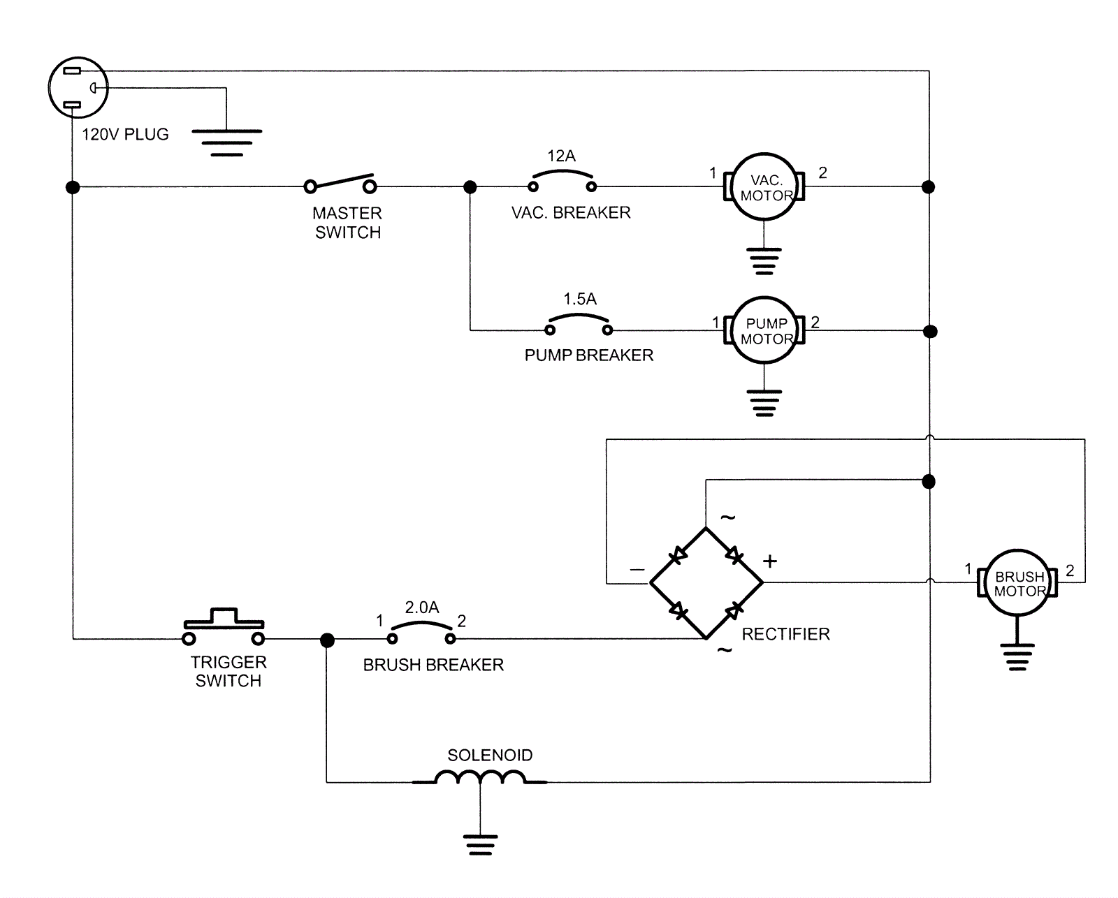
Ladder Diagram - Model 608540
Click to enlarge