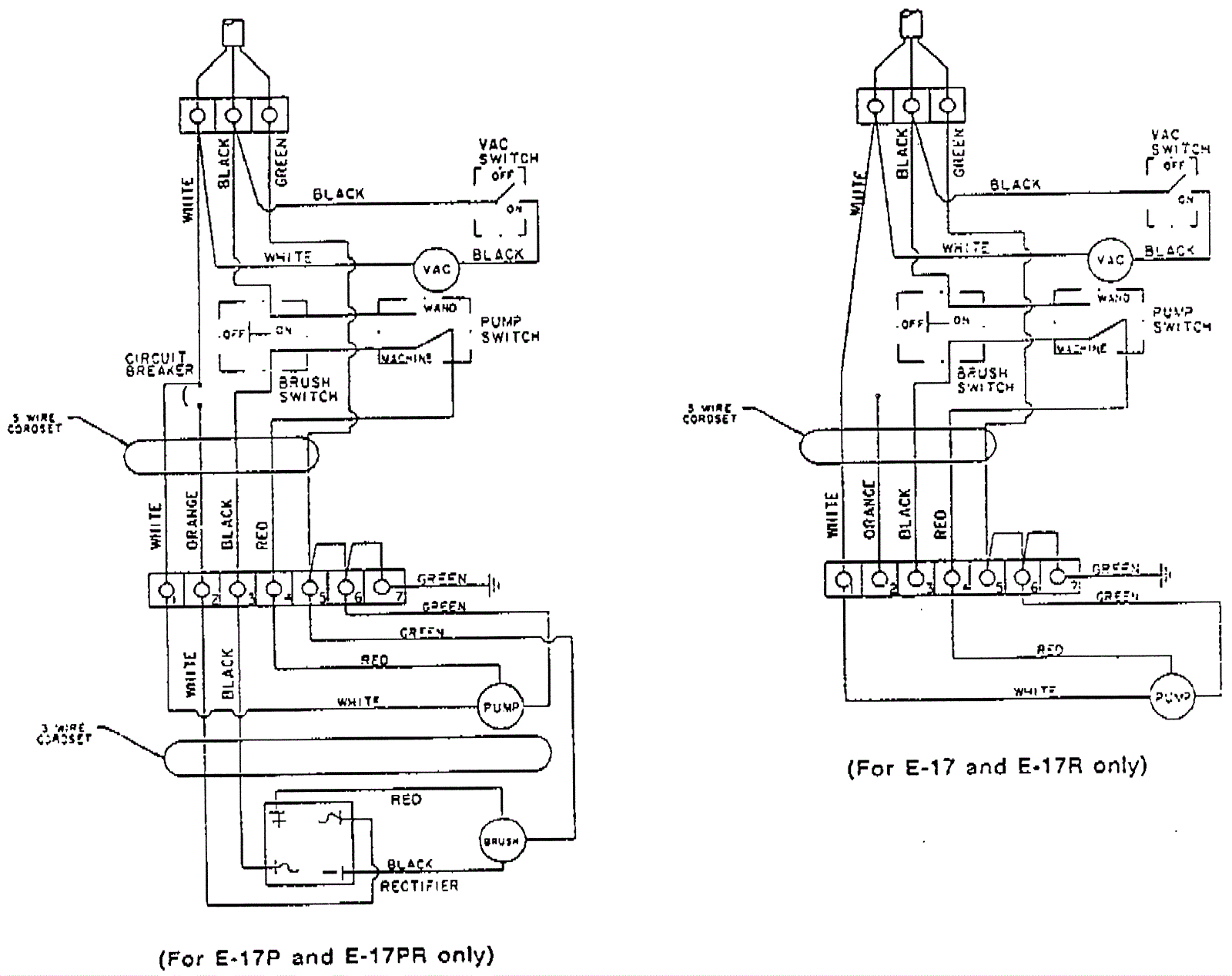
Electrical Shematic
Click to enlarge