| # | Part | Description | Price | Req | Notes | Availability |
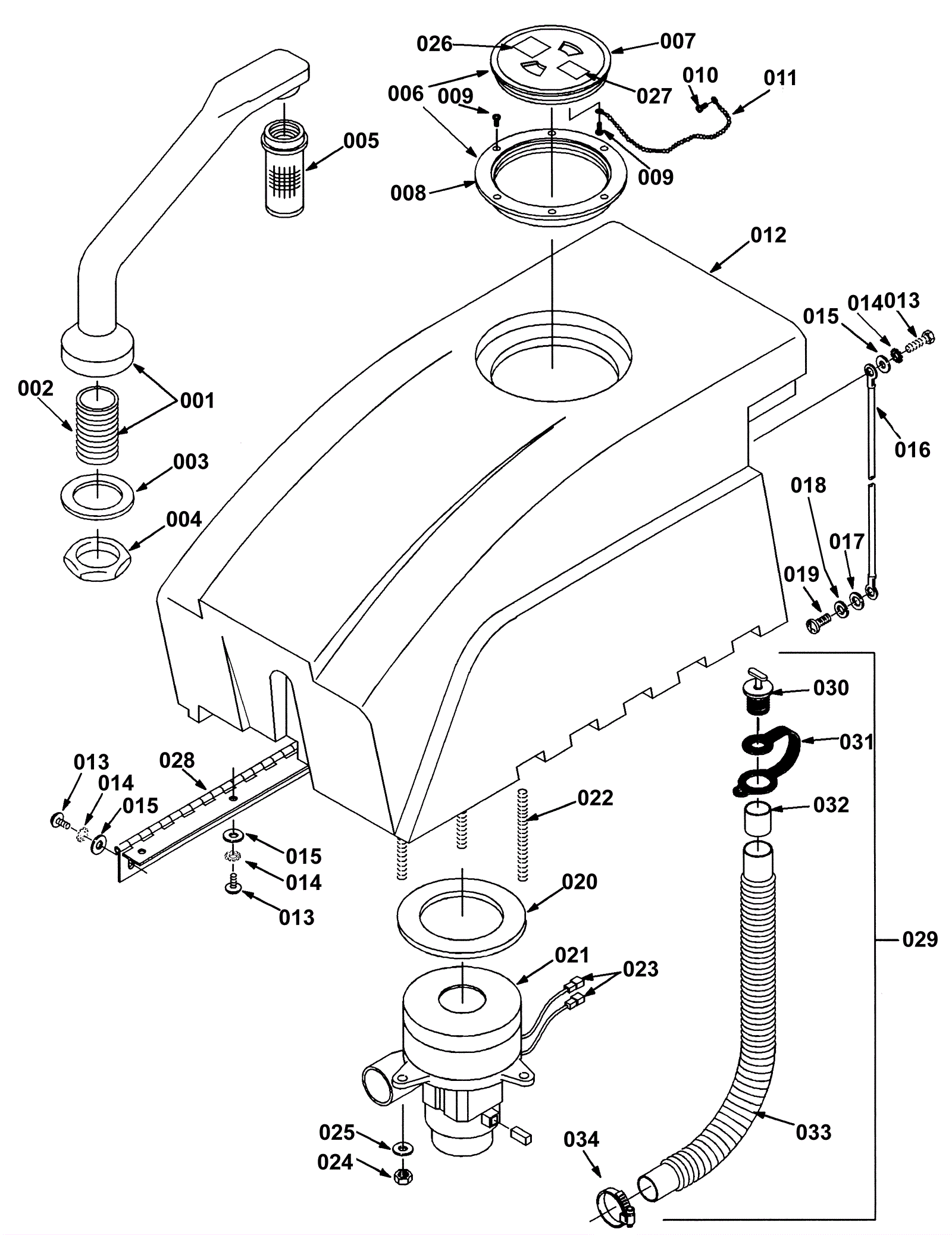
001 |
175-2998
|
Standpipe with nipple assembly |
$190.30
|
1 |
|
ships same day |
002 |
175-2639
|
1 1/2 inch nipple fitting |
$23.10
|
1 |
|
usually ships 10-13 days |
003 |
175-2640
|
Gasket |
$5.50
|
1 |
|
usually ships 10-13 days |
004 |
175-2907
|
Nut 1 1/2 flanged hex |
$7.37
|
1 |
|
usually ships 10-13 days |
005a |
675-9887
|
Shut-off float |
$123.20
|
1 |
(OEM) |
usually ships 10-13 days |
005b |
991-5136
|
Shut-off float |
$32.10
|
1 |
(NON-OEM) |
ships same day |
006 |
164-0202
|
Tank lid assembly |
$107.65
|
1 |
|
usually ships 7-10 days |
007a |
164-0044
|
Tank lid (clear) |
$72.51
|
1 |
|
ships same day |
007b |
991-1928
|
Tank lid (clear) (OBSOLETE) |
$137.84
|
1 |
(NON-OEM) |
usually ships 18-24 days |
008 |
164-0205
|
Tank lid ring (black) |
$40.77
|
1 |
|
usually ships 19-25 days |
009 |
999-1111
|
Screw 6-32 x 3/4 pan head phillips sheet metal |
$1.43
|
7 |
|
ships same day |
010 |
999-0434
|
Screw 6 x 3/8 pan head phillips |
$0.99
|
1 |
|
ships same day |
011 |
175-2650
|
Chain |
$6.49
|
1 |
|
usually ships 10-13 days |
012 |
175-4879
|
Recovery tank teal |
$575.52
|
1 |
|
usually ships 1-5 days |
013 |
999-1041
|
Screw M6-1 x 12mm pan head phillips stainless steel |
$0.99
|
12 |
|
ships same day |
014 |
999-1024
|
Washer 1/4 external tooth lock stainless steel |
$1.32
|
12 |
|
ships same day |
015 |
999-0016
|
Washer 1/4 flat plain finish |
$0.99
|
15 |
|
ships same day |
016 |
175-2651
|
Support cable |
$28.05
|
1 |
|
usually ships 10-13 days |
017 |
999-0024
|
Washer 5/16 flat stainless steel |
$1.34
|
1 |
|
ships same day |
018 |
999-0553
|
Washer 5/16 medium split lock stainless steel |
$0.99
|
1 |
|
ships same day |
019 |
999-1133
|
Bolt M8-1.25 x 20mm hex head full thread plain |
$0.99
|
1 |
|
ships same day |
020 |
175-6085
|
Gasket |
$10.89
|
1 |
|
ships same day |
021a |
175-0198
|
120V 3 stage vacuum motor |
$644.82
|
1 |
|
usually ships 10-13 days |
021b |
175-6086
|
Carbon brush (pkg of 2) |
$26.18
|
2 |
|
usually ships 10-13 days |
021c |
991-1213
|
120V 3 stage vacuum motor tangential |
$165.85
|
1 |
(NON-OEM) |
usually ships 18-24 days |
022 |
175-3641
|
Stud |
$9.24
|
3 |
|
usually ships 10-13 days |
023 |
175-0142
|
1/4 inch male terminal |
$5.28
|
2 |
|
ships same day |
024 |
999-0497
|
Nut M6-1 nylon insert lock stainless steel |
$0.99
|
3 |
|
ships same day |
025 |
999-0016
|
Washer 1/4 flat plain finish |
$0.99
|
3 |
|
ships same day |
026 |
175-6107
|
Always drain decal |
$7.04
|
1 |
|
usually ships 10-13 days |
027 |
275-2370
|
Read manual decal |
$18.26
|
1 |
|
usually ships 10-13 days |
028 |
175-3001
|
Recovery tank hinge |
$28.05
|
1 |
|
usually ships 1-5 days |
029 |
175-4671
|
Drain hose assembly (OBSOLETE) |
$102.96
|
1 |
|
usually ships 10-13 days |
030 |
175-2653
|
1 1/2 inch expansion plug |
$61.82
|
1 |
|
usually ships 10-13 days |
031 |
175-2654
|
Drain hose strap |
$22.99
|
1 |
|
usually ships 10-13 days |
032 |
175-2655
|
Drain hose sleeve |
$17.71
|
1 |
|
usually ships 10-13 days |
033 |
175-2656
|
Drain hose |
$105.82
|
1 |
|
usually ships 10-13 days |
034 |
175-2057
|
Hose clamp |
$6.27
|
1 |
|
usually ships 1-5 days |