| # | Part | Description | Price | Req | Notes | Availability |
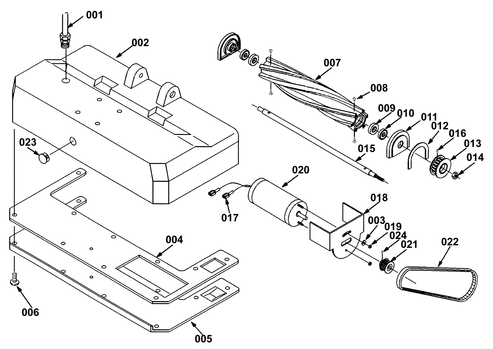
001 |
175-4816
|
Interconnect cord |
$31.02
|
1 |
|
usually ships 1-5 days |
002 |
175-4316
|
22 inch base |
$255.86
|
1 |
|
usually ships 10-13 days |
003 |
999-9100
|
Washer M5 flat stainless steel |
$5.83
|
1 |
|
ships same day |
004 |
175-4317
|
Base plate gasket |
$108.68
|
1 |
|
usually ships 10-13 days |
005 |
175-4818
|
Base plate |
$202.51
|
1 |
|
usually ships 10-13 days |
006a |
999-1029
|
Screw 10-24 x 5/8 truss head phillips stainless steel |
$0.99
|
11 |
|
ships same day |
006b |
175-4023
|
Brush assembly with bearings - CYLINDRICAL |
$457.93
|
1 |
|
usually ships 10-13 days |
007 |
175-4319
|
Brush - CYLINDRICAL |
$247.72
|
1 |
|
usually ships 10-13 days |
008 |
999-0334
|
Bolt 1/4-20 x 3/4 inch hex head stainless steel |
$3.85
|
4 |
|
usually ships 16-20 days |
009 |
175-6134
|
Brush bearing seal |
$18.37
|
2 |
|
usually ships 10-13 days |
010a |
175-0069
|
Brush bearing |
$20.02
|
2 |
(OEM) |
ships same day |
010b |
991-5125
|
Brush bearing |
$17.76
|
2 |
(NON-OEM) |
ships same day |
011 |
175-6133
|
Bearing block |
$10.56
|
2 |
|
usually ships 10-13 days |
012 |
175-6143
|
Bearing block gasket |
$5.83
|
1 |
|
ships same day |
013 |
175-4321
|
Brush pulley |
$93.39
|
1 |
|
usually ships 10-13 days |
014 |
999-1019
|
Nut 5/16-18 hex jam stainless steel |
$0.99
|
1 |
|
ships same day |
015 |
175-4322
|
Brush shaft |
$155.32
|
1 |
|
usually ships 10-13 days |
016 |
999-0096
|
Screw 1/4-20 x 1/4 cup point socket set plain finish |
$0.99
|
1 |
|
ships same day |
017 |
175-0923
|
Male terminal |
$5.28
|
2 |
|
usually ships 10-13 days |
018 |
175-4324
|
Brush motor bracket |
$60.83
|
1 |
|
usually ships 10-13 days |
019 |
999-0239
|
Nut 10-32 k-lock zinc plated |
$0.99
|
2 |
|
ships same day |
020 |
175-4817
|
120V brush motor (OBSOLETE) |
$286.44
|
1 |
|
usually ships 1-5 days |
021 |
175-4326
|
Motor pulley |
$71.61
|
1 |
|
usually ships 10-13 days |
022 |
175-4327
|
Timing belt |
$51.26
|
1 |
|
usually ships 10-13 days |
023 |
275-7479
|
PLUGBTN, BLACKNYL (Tennant Industrial) |
$5.67
|
1 |
|
usually ships 10-13 days |
024 |
999-0096
|
Screw 1/4-20 x 1/4 cup point socket set plain finish |
$0.99
|
1 |
|
ships same day |