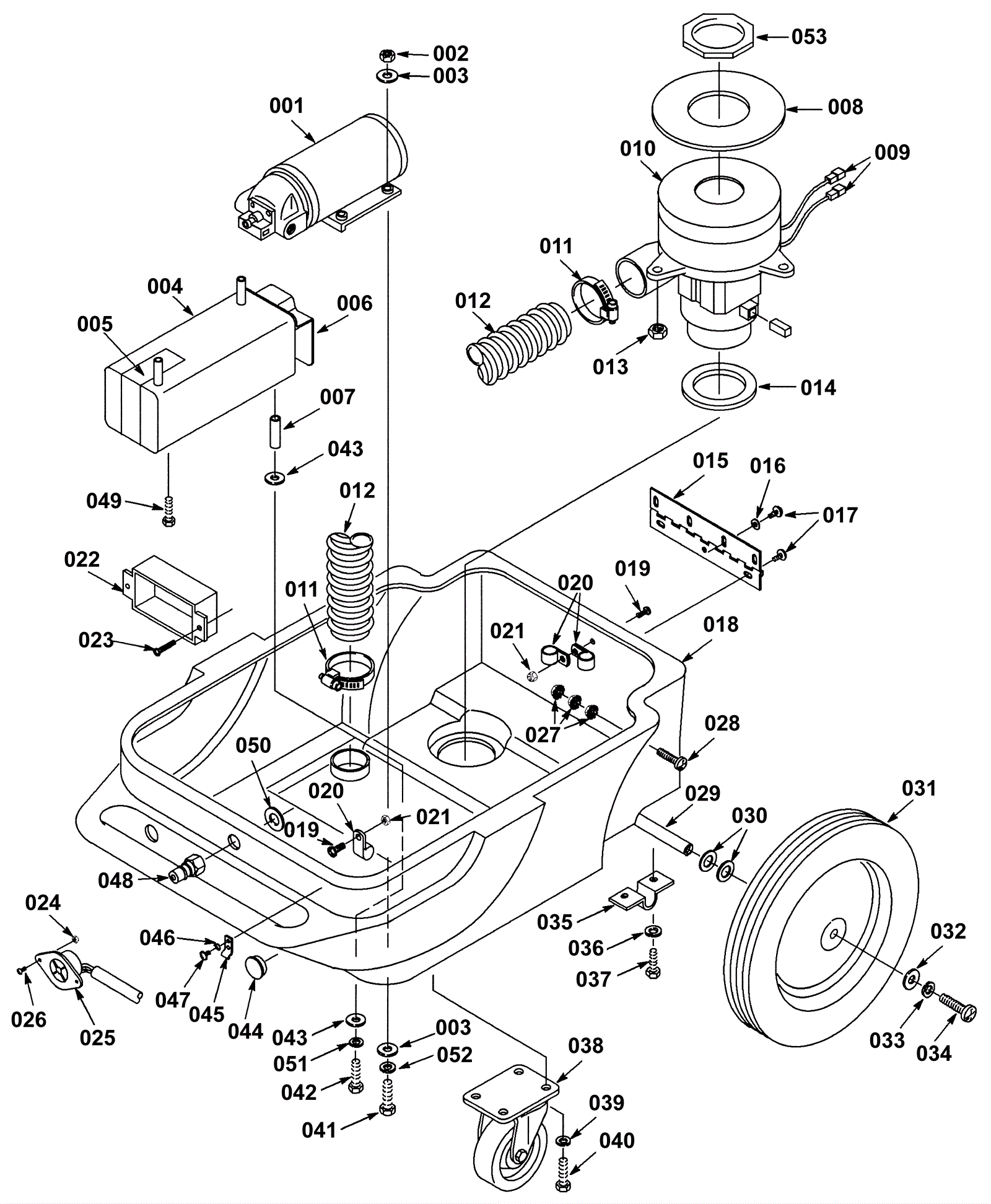
Lower Housing Assembly
Click to enlarge