| # | Part | Description | Price | Req | Notes | Availability |
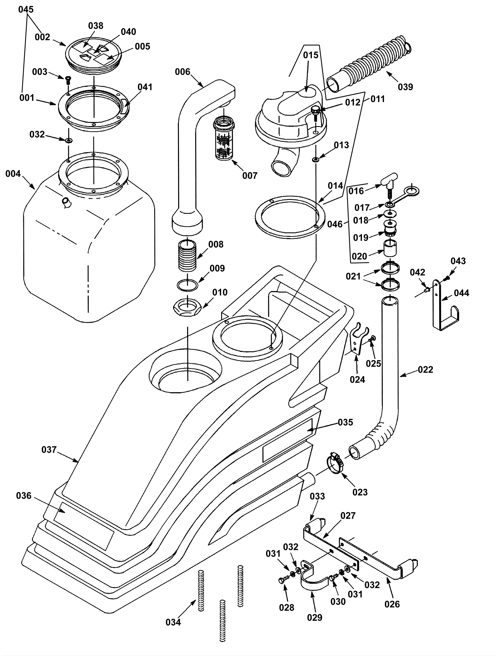
001 |
175-3580
|
Outer tank lid ring |
$41.03
|
1 |
|
usually ships 10-13 days |
002 |
175-6077
|
Tank hinge |
$14.19
|
1 |
|
ships same day |
003 |
999-1028
|
Screw 10-24 x 3/4 truss head phillips stainless steel |
$1.69
|
6 |
|
ships same day |
004 |
175-6083
|
10 gallon bladder bag |
$400.73
|
1 |
|
usually ships 10-13 days |
005 |
275-2370
|
Read manual decal |
$18.26
|
1 |
|
usually ships 10-13 days |
006 |
175-6047
|
Standpipe |
$191.95
|
1 |
|
usually ships 10-13 days |
007a |
675-9887
|
Shut-off float |
$123.20
|
1 |
(OEM) |
usually ships 10-13 days |
007b |
991-5136
|
Shut-off float |
$32.10
|
1 |
(NON-OEM) |
ships same day |
008 |
175-2639
|
1 1/2 inch nipple fitting |
$23.10
|
1 |
|
usually ships 10-13 days |
009 |
175-6263
|
O-ring |
$5.50
|
1 |
|
usually ships 1-5 days |
010 |
175-2907
|
Nut 1 1/2 flanged hex |
$7.37
|
1 |
|
usually ships 10-13 days |
011 |
175-6048
|
Tank lid assembly |
$232.76
|
1 |
Includes 012-015 |
ships same day |
012 |
175-6050
|
Knob |
$8.25
|
2 |
|
usually ships 10-13 days |
013 |
175-6161
|
Nylon washer |
$4.22
|
2 |
|
usually ships 10-13 days |
014 |
175-6049
|
Tank lid gasket |
$10.89
|
1 |
|
usually ships 10-13 days |
015 |
175-6109
|
Do not allow foam decal |
$5.83
|
1 |
|
usually ships 10-13 days |
016 |
175-6071
|
Drain plug knob |
$17.71
|
1 |
|
usually ships 10-13 days |
017 |
175-6072
|
Drain plug strap |
$19.36
|
1 |
|
usually ships 10-13 days |
018 |
999-1446
|
Washer 3/8 x 1 1/2 fender stainless steel |
$0.99
|
1 |
|
ships same day |
019 |
175-6073
|
Fitting |
$11.11
|
1 |
|
usually ships 10-13 days |
020 |
175-6074
|
Drain hose sleeve |
$16.94
|
1 |
|
usually ships 10-13 days |
021 |
175-1789
|
Hose clamp |
$5.50
|
2 |
|
ships same day |
022a |
175-1535
|
Drain hose assembly |
$113.85
|
1 |
|
usually ships 10-13 days |
022b |
991-1907
|
22 inch molded hose with drain cap |
$36.70
|
1 |
(NON-OEM) |
ships same day |
023 |
997-2007
|
Hose clamp |
$2.07
|
1 |
|
ships same day |
024 |
175-6069
|
Drain hose bracket |
$23.76
|
1 |
|
usually ships 10-13 days |
025 |
999-0447
|
Screw 6-32 x 1/2 pan head phillips zinc plated |
$0.99
|
2 |
|
ships same day |
026 |
175-6099
|
Tank brace bracket with threads |
$59.73
|
1 |
|
usually ships 1-5 days |
027 |
175-6100
|
Tank brace bracket with holes |
$51.92
|
1 |
|
usually ships 1-5 days |
028 |
999-1032
|
Screw 1/4-20 x 5/8 hex head stainless steel |
$0.99
|
1 |
|
ships same day |
029 |
175-6103
|
Tank brace clamp |
$18.48
|
1 |
|
usually ships 1-5 days |
030 |
999-0018
|
Bolt 1/4-20 x 1/2 hex cap grade 5 zinc plated |
$0.99
|
1 |
|
ships same day |
031 |
999-0632
|
Washer 1/4 split lock stainless steel |
$0.99
|
2 |
|
ships same day |
032 |
999-0016
|
Washer 1/4 flat plain finish |
$0.99
|
8 |
|
ships same day |
033 |
175-6102
|
Grip |
$5.83
|
2 |
|
usually ships 1-5 days |
034 |
175-6078
|
Stud 1/4-20 x 5 inch full threaded |
$5.50
|
3 |
|
usually ships 10-13 days |
035 |
175-3581
|
1280 inch decal (OBSOLETE) |
$3.30
|
2 |
|
usually ships 1-5 days |
036 |
175-3582
|
Tennant decal |
$10.89
|
1 |
|
usually ships 1-5 days |
037 |
175-3583
|
Off white recovery tank |
$634.92
|
1 |
|
usually ships 1-5 days |
038 |
275-2369
|
Flammable material decal |
$14.19
|
1 |
|
usually ships 10-13 days |
039 |
175-3530
|
Vacuum hose with cuffs 1 1/2 x 46 inch |
$56.51
|
1 |
|
ships same day |
040 |
175-6107
|
Always drain decal |
$7.04
|
1 |
|
usually ships 10-13 days |
041 |
175-6101
|
Always close decal |
$16.06
|
1 |
|
usually ships 10-13 days |
042 |
175-3584
|
Nut 10-32 well |
$5.61
|
2 |
|
usually ships 1-5 days |
043 |
999-0811
|
Screw 10-32 x 3/8 pan head phillips stainless steel |
$0.99
|
2 |
|
ships same day |
044 |
175-3585
|
Cord hook (black) |
$25.85
|
1 |
|
usually ships 1-5 days |
045 |
175-6045
|
Tank lid assembly |
$134.75
|
1 |
Includes 001 and 002 |
usually ships 10-13 days |
046 |
175-6070
|
Drain plug assembly |
$91.30
|
1 |
Includes 016-020 |
usually ships 10-13 days |