| # | Part | Description | Price | Req | Notes | Availability |
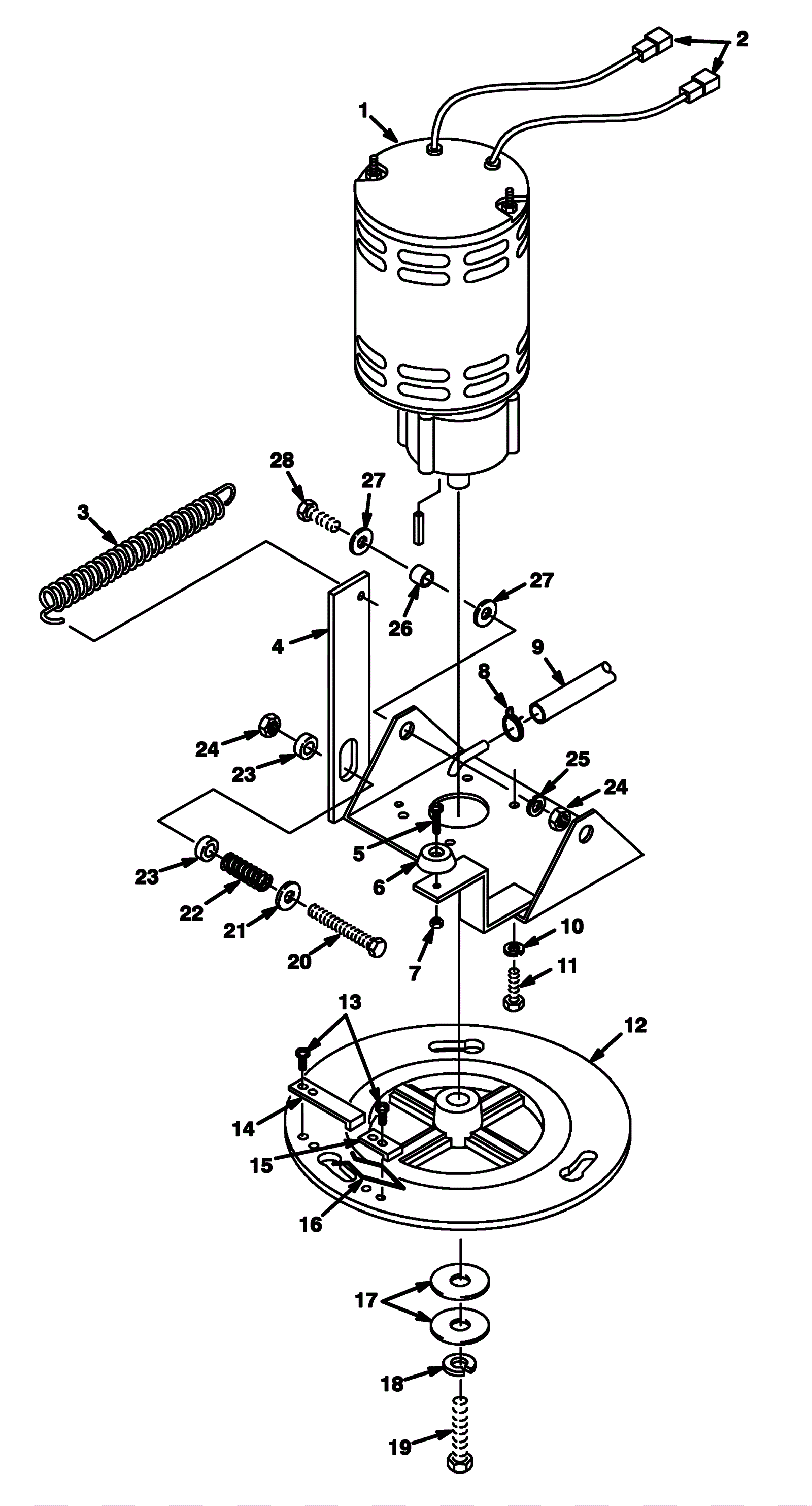
1a |
175-2599
|
24V brush motor with gearbox |
$1,835.79
|
1 |
(includes 1a-1d) |
usually ships 10-13 days |
1b |
175-2600
|
Carbon brush |
$37.18
|
1 |
(also included in 1a) |
ships same day |
1c |
175-3028
|
Brush card assembly |
$342.10
|
1 |
(also included in 1a) |
usually ships 10-13 days |
1d |
175-7927
|
Gearbox |
$1,064.47
|
1 |
(also included in 1a) |
usually ships 1-5 days |
1e |
991-8524
|
36V 1.0HP brush motor assembly with gear box |
$1,217.40
|
1 |
(NON-OEM) |
usually ships 18-24 days |
2 |
175-3032
|
Positive terminal ring |
$7.04
|
2 |
|
usually ships 1-5 days |
3 |
175-0943
|
Extension spring |
$11.66
|
1 |
|
usually ships 10-13 days |
4 |
175-0947
|
Motor mount bracket |
$248.16
|
1 |
|
usually ships 10-13 days |
5 |
999-1029
|
Screw 10-24 x 5/8 truss head phillips stainless steel |
$0.99
|
1 |
|
ships same day |
6 |
175-0946
|
Recessed bumper |
$5.50
|
1 |
|
usually ships 10-13 days |
7 |
999-0442
|
Nut 10-24 nylon insert lock stainless steel |
$1.76
|
1 |
|
ships same day |
8 |
175-3671
|
Hose clamp |
$5.28
|
1 |
|
usually ships 10-13 days |
9 |
175-6650
|
Hose 5/8 x 19 inches |
$28.49
|
1 |
|
usually ships 10-13 days |
10 |
999-0034
|
Washer 3/8 split lock plain finish |
$1.82
|
4 |
|
ships same day |
11 |
999-0562
|
Bolt 3/8-16 x 1 hex head stainless steel |
$1.50
|
4 |
|
ships same day |
12a |
175-2609
|
Drive plate |
$72.05
|
1 |
|
ships same day |
12b |
475-1850
|
HUB, DRIVE, 3LUG, ALM, NYL 17MM [WB-20] |
$103.62
|
1 |
(SN after 10574487) |
usually ships 10-13 days |
13 |
999-1114
|
Screw 10-16 x 3/8 pan head phillips hi-lo self tapping zinc |
$5.28
|
4 |
|
ships same day |
14 |
175-3034
|
Driver release stop |
$23.54
|
1 |
|
ships same day |
15 |
175-2611
|
Brush plate clamp |
$15.51
|
1 |
|
usually ships 10-13 days |
16 |
175-2612
|
Spring clip |
$5.28
|
1 |
|
usually ships 10-13 days |
17 |
999-0617
|
Washer 3/8 x 1 flat stainless steel |
$1.82
|
2 |
|
ships same day |
18 |
999-0553
|
Washer 5/16 medium split lock stainless steel |
$0.99
|
1 |
|
ships same day |
19 |
999-0424
|
Bolt 5/16-18 x 1 hex head stainless steel |
$0.99
|
1 |
|
ships same day |
20 |
999-1113
|
Bolt 1/2-13 x 2 1/2 hex cap stainless steel |
$3.67
|
1 |
|
ships same day |
21 |
999-0114
|
Washer 1/2 SAE flat |
$0.99
|
1 |
|
ships same day |
22 |
175-0944
|
Spring |
$10.23
|
1 |
|
usually ships 10-13 days |
23 |
175-0939
|
Thrust washer |
$5.50
|
2 |
|
ships same day |
24 |
999-0050
|
Nut 1/2-13 hex jam plain finish |
$0.99
|
3 |
|
ships same day |
25 |
999-0126
|
Washer 1/2 split lock |
$1.28
|
2 |
|
ships same day |
26 |
175-2743
|
Sleeved bushing |
$5.15
|
2 |
|
usually ships 10-13 days |
27 |
999-0559
|
Washer 1/2 x 1/4 flat stainless steel |
$0.99
|
4 |
|
ships same day |
28 |
999-0561
|
Bolt 1/2-13 x 1 hex head stainless steel |
$3.28
|
2 |
|
ships same day |