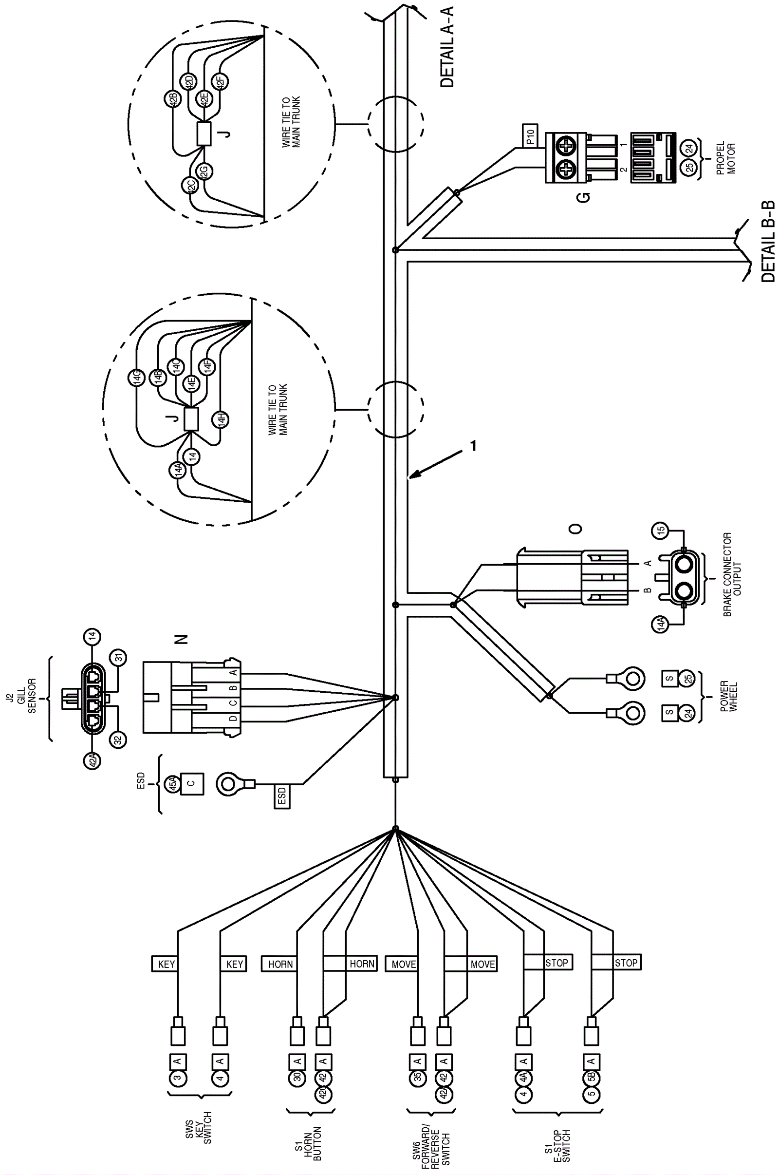
Wire Harness Assembly 1
Click to enlarge