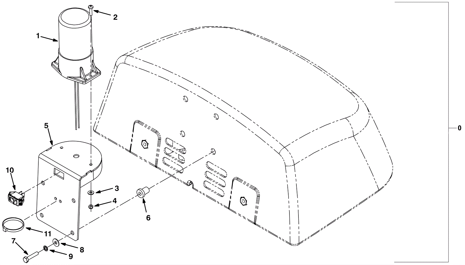
| # | Part | Description | Price | Req | Notes | Availability |
0 |
275-8240
|
Flashing light kit |
$1,154.01
|
1 |
(includes 1-11) |
ships same day |
1a |
275-8241
|
24V flashing light assembly (OBSOLETE) |
$301.40
|
1 |
(includes 1b) |
usually ships 10-13 days |
1b |
275-8242
|
Caution light |
$314.16
|
1 |
|
ships same day |
1c |
991-9180
|
LIGHT, STROBE, 12-80VDC, 4WATT |
$258.92
|
1 |
(NON-OEM) |
usually ships 18-24 days |
2 |
999-1671
|
Screw M5-.8 x 20mm pan head phillips stainless steel |
$0.99
|
2 |
|
ships same day |
3 |
999-0998
|
Washer #10 flat stainless steel |
$0.99
|
2 |
|
ships same day |
4 |
999-0740
|
Nut M5-.8 hex stainless steel |
$0.99
|
2 |
|
ships same day |
5 |
275-8243
|
Bracket |
$58.74
|
1 |
|
usually ships 1-5 days |
6 |
275-8244
|
NUT, ISOLATOR, .25-20 WALL TH .031-.187 (Tennant Industrial |
$8.00
|
4 |
|
usually ships 1-5 days |
7 |
999-0298
|
Bolt 1/4-20 x 1 1/4 hex head stainless steel |
$0.99
|
4 |
|
ships same day |
8 |
999-0335
|
Washer 1/4 x 5/8 SAE flat stainless steel |
$0.99
|
4 |
|
ships same day |
9 |
175-4544
|
Washer M6 locking |
$4.49
|
4 |
|
ships same day |
10 |
175-0005
|
Rocker switch |
$12.98
|
1 |
|
ships same day |
11 |
175-0037
|
Wire tie |
$4.36
|
1 |
|
usually ships 10-13 days |