| # | Part | Description | Price | Req | Notes | Availability |
0 |
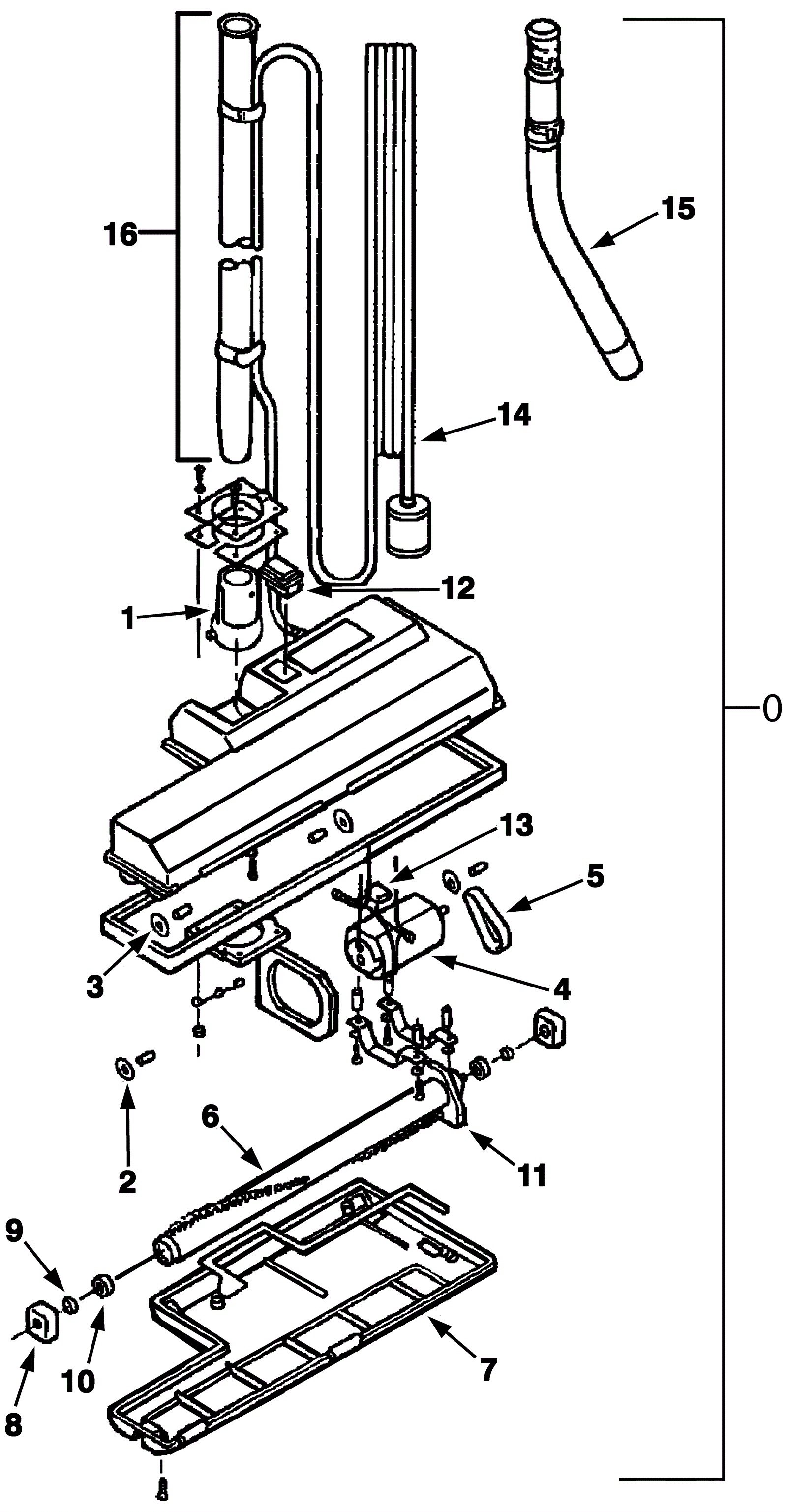
175-0204
|
Electric power brush attachment assembly |
$663.74
|
1 |
(includes 1-16) |
usually ships 1-5 days |
1 |
175-4385
|
Ball joint |
$29.04
|
1 |
|
usually ships 1-5 days |
2 |
175-4386
|
Front wheel |
$26.62
|
2 |
|
usually ships 1-5 days |
3 |
175-4387
|
Rear wheel |
$25.85
|
2 |
|
usually ships 1-5 days |
4 |
175-4388
|
115V motor |
$133.87
|
1 |
|
usually ships 1-5 days |
5 |
175-4389
|
Brush belt (OBSOLETE) |
$6.71
|
1 |
|
usually ships 10-13 days |
6 |
175-4390
|
Brush assembly |
$130.68
|
1 |
|
usually ships 1-5 days |
7 |
175-4391
|
Base plate assembly |
$67.98
|
1 |
|
usually ships 10-13 days |
8 |
175-0212
|
Block bearing |
$142.67
|
2 |
|
usually ships 1-5 days |
9 |
175-4393
|
Felt dust seal |
$4.49
|
2 |
|
usually ships 1-5 days |
10 |
175-4392
|
Ball bearing |
$26.29
|
2 |
|
usually ships 1-5 days |
11 |
175-4395
|
Fiber seal |
$5.50
|
1 |
|
usually ships 1-5 days |
12 |
175-3599
|
On/off switch |
$48.62
|
1 |
|
usually ships 10-13 days |
13 |
175-4394
|
Capacitor |
$14.41
|
1 |
|
usually ships 1-5 days |
14 |
175-0218
|
Extension cord (OBSOLETE) |
$122.21
|
1 |
|
usually ships 1-5 days |
15 |
175-4383
|
Hose end (chrome) (OBSOLETE) |
$44.86
|
1 |
|
usually ships 10-13 days |
16b |
991-5111
|
Telescopic wand with button lock |
$26.60
|
1 |
(NON-OEM) |
usually ships 10-15 days |
16a |
175-0220
|
Telescopic wand with button lock |
$90.75
|
1 |
(OEM) |
ships same day |